来源 :中国证券报·中证网2024-04-22
隆盛科技(300680)4月22日披露2024年一季报。2024年第一季度,公司实现营业总收入5.66亿元,同比增长66.78%;归母净利润5266.16万元,同比增长30.18%;扣非净利润5115.25万元,同比增长57.80%;经营活动产生的现金流量净额为7573.57万元,同比增长93.09%;报告期内,隆盛科技基本每股收益为0.2279元,加权平均净资产收益率为2.99%。


2024年第一季度,公司毛利率为18.59%,同比下降2.26个百分点;净利率为9.39%,较上年同期下降2.73个百分点。

数据显示,2024年第一季度公司加权平均净资产收益率为2.99%,较上年同期增长0.58个百分点;公司2024年第一季度投入资本回报率为2.03%,较上年同期增长0.23个百分点。

2024年第一季度,公司经营活动现金流净额为7573.57万元,同比增长93.09%;筹资活动现金流净额1.06亿元,同比增加2093.88万元;投资活动现金流净额-2.84亿元,上年同期为-1.38亿元。

2024年第一季度,公司营业收入现金比为77.53%,净现比为143.82%。

资产重大变化方面,截至2024年一季度末,公司其他非流动金融资产较上年末增加371.69%,占公司总资产比重上升3.38个百分点;固定资产较上年末减少0.32%,占公司总资产比重下降0.93个百分点;货币资金较上年末减少2.30%,占公司总资产比重下降0.66个百分点;在建工程较上年末减少3.15%,占公司总资产比重下降0.62个百分点。

负债重大变化方面,截至2024年一季度末,公司短期借款较上年末增加16.00%,占公司总资产比重上升2.32个百分点;应付账款较上年末减少15.69%,占公司总资产比重下降2.24个百分点;应付票据较上年末增加22.39%,占公司总资产比重上升1.09个百分点;一年内到期的非流动负债较上年末减少35.86%,占公司总资产比重下降1.10个百分点。

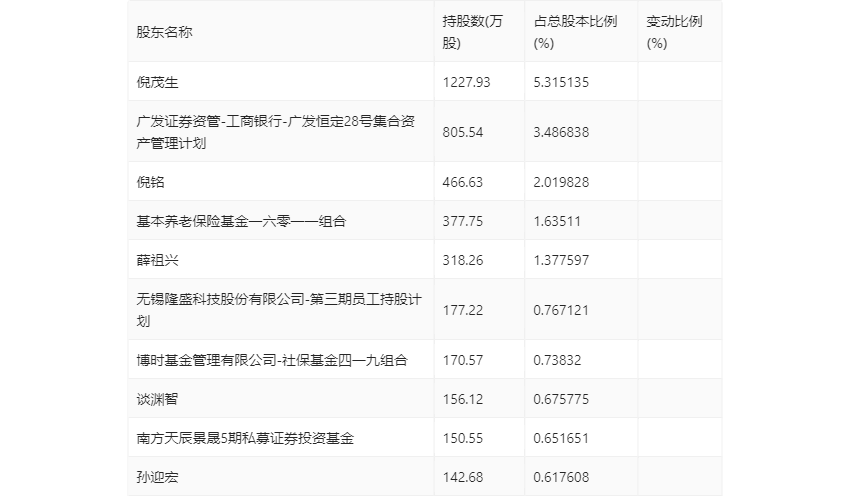
一季报显示,2024年一季度末的公司十大流通股东中,新进股东为谈渊智、南方天辰景晟5期私募证券投资基金,取代了上年末的浦银安盛品质优选混合型证券投资基金、博时主题行业混合型证券投资基金(LOF)。在具体持股比例上,基本养老保险基金一六零一一组合、薛祖兴持股有所上升。

筹码集中度方面,截至2024年一季度末,公司股东总户数为1.65万户,较上年末增长了446户,增幅2.78%;户均持股市值由上年末的26.95万元下降至22.59万元,降幅为16.18%。