8月4日晚间,海辰储能发布严正声明,对“商业秘密侵权”事件等作出回应。
据多家媒体报道,海辰储能总裁办主任、工程部负责人冯登科因涉嫌侵犯商业秘密,近期被福建宁德市警方依法采取强制措施。此事系宁德时代主动报案,宁德时代已收集完整证据交由公安机关。
对“商业秘密侵权”事件,海辰储能表示,网传的涉案“复合集流体技术”,经专业的第三方鉴定,该技术为公众所知悉,不具秘密性,因此并不构成“商业秘密”。同时,海辰储能未在任何产品上使用过该技术,相关的纠纷不会对公司生产经营造成不利影响。目前该案件仍在调查中,“我司将继续为冯先生及其家人提供支持与帮助,也相信法律最终会还其公道。”
海辰储能提及的复合集流体,近年在资本市场上颇受关注。
中航证券新能源团队研究员彭曈博对“V观财报”(微信号ID:VG-View)表示,复合集流体区别于传统集流体就是它们具备金属-高分子-金属的三明治复合结构;优点主要在于安全性能、成本优势(金属用量减少)、高能量密度(重量减少)。目前在固态应用方面,复合集流体具备更优的柔韧性,有效抑制锂枝晶的生成,提高循环寿命。其次部分电解质路线对传统铜基集流体有腐蚀,因此复合集流体通过更换金属基或表面处理去适配固态电解质材料,产业化进度在新型集流体中处于前列。
浙商证券研报显示,2021年以来,众多电池、材料、设备相关企业入局复合集流体赛道,材料测试、商业化导入进程进一步加快,该机构认为2025年复合铝箔或将走向更大规模量产,同时复合铜箔或将在终端应用市场取得突破。

来源:中国专利公布公告网站
“V观财报”通过中国专利公布公告网站查询“复合集流体”发现,相关发明超千项,申请人包括比亚迪、宁德时代等企业,以及华中科技大学等高校。
2023年10月,宁德时代在一场受邀投资者约1900人的电话会议中表示,公司具有复合集流体相关的核心专利,具备自研自制的能力,也与合作伙伴共同研发,在此领域处于行业领先水平。复合铝箔已经应用在部分三元高镍产品中,有助于提升产品安全性。
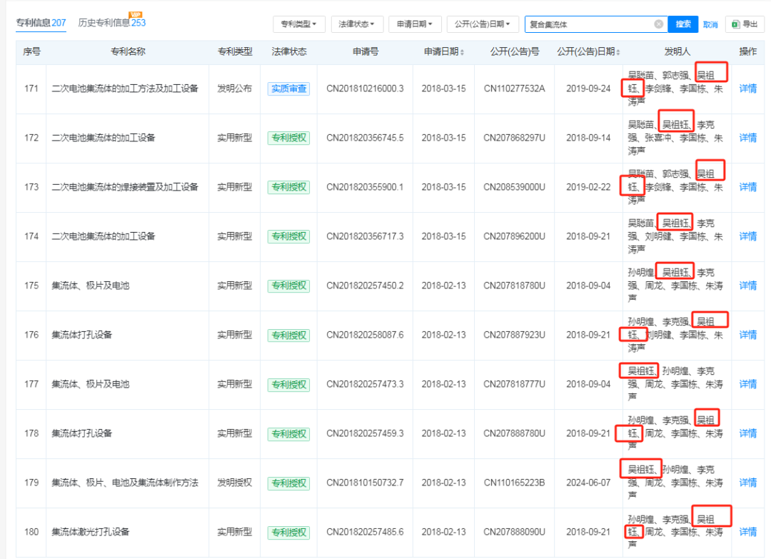
值得一提的是,海辰储能董事长吴祖钰曾在宁德时代任工程师,可能参与了复合集流体相关技术研发。

资料显示,宁德时代在复合集流体领域拥有近200条专利信息,发明人中多次出现“吴祖钰”,相关专利名称包括“集流体、极片及电池”“集流体、极片、电池及集流体制作方法”“集流体生产设备”等。

海辰储能在复合集流体领域拥有超50条专利信息,相关专利名称包括“复合集流体、电芯、电池以及复合集流体的制备方法”“复合集流体的加工设备和微盲孔复合集流体的加工方法”等。
简历显示,吴祖钰,39岁,海辰储能创始人、董事长兼执行董事。创立公司之前,吴祖钰于2016年1月至2019年2月担任宁德时代的工程师,并于2011年8月至2015年12月担任宁德新能源科技有限公司的工程师。
据海辰储能披露,2023年9月,吴祖钰被中国某劳动人事争议仲裁委员会裁决向其前雇主支付人民币一百万元,原因是吴祖钰参与公司营运从而违反了不竞争承诺。该裁决款项已于2023年9月全数清偿。据媒体报道,此处提及的“前雇主”就是宁德时代。
另外,海辰储能管理层中,多人有宁德时代背景。
易梓琦,36岁,为公司的执行董事兼副总经理及全球解决方案中心总经理。易梓琦于2022年8月获委任为公司的董事兼副总经理,并于2025年3月获调任为执行董事。他主要负责公司的技术管理。在加入公司之前,易梓琦于2016年9月至2017年9月担任宁德时代新能源科技股份有限公司的工程师。
庞文杰,36岁,为公司的执行董事兼副总经理。庞文杰于2022年8月获委任为公司的董事兼副总经理,并于2025年3月获调任为执行董事。他主要负责公司的市场战略管理。在加入公司之前,庞文杰于2018年7月至2019年4月任职于苏州维德姆设备科技有限公司,于2016年3月至2018年6月担任宁德时代新能源科技股份有限公司的工程师,并于2015年7月至2016年2月任职于宁德新能源科技有限公司。
贺勇,37岁,为公司的监事。贺勇于2022年8月获委任为监事。她主要负责监督董事和高级管理层的履职情况。在加入公司之前,贺勇于2019年7月至2022年3月担任深圳市豪鹏科技股份有限公司的战略副总监,于2018年1月至2019年6月担任深圳市比克动力电池有限公司项目办公室部长,并于2011年8月至2015年9月任职于宁德新能源科技有限公司。
目前,海辰储能正在冲击港交所上市。
海辰储能在IPO档中提及,公司及雇员可能不时卷入与各方的纠纷,包括但不限于客户、供应商、竞争对手、雇员、前雇主、物流服务提供商、保险公司及银行。这可能导致我们声誉受损、产生巨额成本、以及分散我们的资源及管理层的注意力。此外,我们在营运过程中可能会遇到其他合规问题,这可能会使我们面临行政诉讼及不利后果,并导致与我们生产或产品发布计划有关的责任及延误。
海辰储能还表示,公司的成功取决于能否在避免侵犯第三方知识产权的情况下使用、开发及保护我们的技术及商业秘密。知识产权持有人可能就其专有权利不时与我们及我们的员工联络。持有专利或其他知识产权的公司可能提起诉讼,指控我们侵犯此类权利。此外,若我们或我们的员工被发现侵犯第三方的知识产权,我们或须采取以下一项或多项行动:停止销售涉嫌侵犯他人知识产权的产品;支付损害赔偿;重新设计我们的产品;或就我们的产品建立并维持替代品牌。
资料显示,海辰储能主营业务是提供以储能电池和系统为核心的全场景储能解决方案。2024年,该公司的储能电池出货量达到35.1GWh,2022-2024年的年复合增速达到167%。以锂离子储能电池出货量计,该公司于2024年全球储能市场排名第三。
值得一提的是,海辰储能8月4日在声明中还提及公司董事长配偶林秀华的年龄情况。
海辰储能称,网传我司董事长配偶林女士“1964年出生”,纯属对事实的捏造扭曲,林女士的真实出生年份为1991年。
在海辰储能成立初期,在股权结构上,林秀华对该公司具有相当影响力。
海辰储能2019年12月27日成立,初始注册资本为人民币1亿元。成立后,海辰储能由海辰科技全资拥有。海辰科技由珠海海恒、珠海慧维及公司执行董事兼总经理王鹏程分别持有73.31%、21.98%及4.71%的股权。珠海海恒成立时由林秀华最终控制。
简历显示,王鹏程,44岁,海辰储能联合创始人、执行董事兼总经理。王鹏程于2019年12月创立公司,于2022年8月获委任为公司的董事,并于2025年3月获调任为执行董事。他全面负责公司的日常管理。在创立公司之前,王鹏程于2015年3月至2019年11月担任亨同资本的合伙人,于2009年10月至2015年2月为独立投资人,并于2003年3月至2009年7月担任福建省广播电视网络有限公司的工程师。

来源:海辰储能公告
此外,吴祖钰和王鹏程是连襟。截至本文件日期(2025年3月),珠海海恒不再由林秀华最终控制,由吴祖钰持有92%的财产份额,由王鹏程持有8%的财产份额。
另据澎湃新闻报道,2023年11月28日,中国庭审公开网公示一件海辰储能和全球动力电池龙头宁德时代的竞业限制纠纷案。根据庭审公示,吴祖钰违反竞业限制协议。2023年9月,仲裁委裁决吴祖钰向宁德时代支付100万元违约金。吴祖钰认可仲裁委裁决内容, 9月23日,通过其妻子(林秀华,海辰储能前法定代表人)向宁德时代支付了100万元的违约金,附言为“宁劳人仲案(2023)191号裁决书违约金”。