近期,曾缔造“医美茅”神话的爱美客技术发展股份有限公司(以下简称“爱美客”)准备赴港二次上市、再度“圈钱”。
公开资料显示,爱美客已于2020年9月28日登陆深交所创业板,发行价118.27元/股,拟募集资金20.72亿元,实际募集资金总额35.72亿元,超额募集资金15.00亿元;2021年7月29日,爱美客发布公告称其递交的港股上市资料已获证监会受理,计划募资20至30亿美元,远超去年创业板上市募资额。
两次上市间隔如此之短,那么爱美客创业板IPO募集资金的使用情况如何?各募投项目的进展情况又怎样呢?据悉,爱美客此次赴港上市的直接原因便是募资收购韩国肉毒素医美公司Huons Bio,但据此前公告,爱美客已拟使用A股超8.86亿元超募资金进行本次收购,爱美客完成此次收购确切的资金来源是什么?对韩国肉毒素医美公司Huons Bio的收购进展如何?
另外,财经网注意到,在创业板招股书,爱美客是由姚京与程超共同成立,但在港股招股书中,姚京和程超并没有被提及。那么,爱美客“被消失”的创始人又去了哪里?
01
#?手握超30亿现金,分红4.21亿后再次赴港“圈钱”
据公开资料,爱美客曾分别于2017年7月、2019年3月、2019年12月、2020年6月前后四次备战创业板IPO,期间将保荐机构由光大证券更换为中信证券,于第四次冲击创业板IPO时才得以成功上市。
爱美客第四次创业板IPO拟募集资金20.72亿元,主要用于植入医疗器械生产线二期建设项目、医用材料和医疗器械创新转化研发中心及新品研发建设项目、基因重组蛋白研发生产基地建设项目、注射用A型肉毒毒素研发项目、营销网络建设项目、智能工业管理平台建设项目、注射用基因重组蛋白药物研发项目、去氧胆酸药物研发项目以及补充流动资金。爱美客创业板IPO实际募集资金总额35.72亿元,实际募资净额34.35亿元,首发超募资金15.00亿元。
截至2021年6月30日,爱美客对募集资金项目累计投入6.78亿元,募集资金的使用情况具体如下:

图源:爱美客2021年半年报
财经网注意到,4月9日爱美客发布公告,将“注射用基因重组蛋白药物研发项目”以及“去氧胆酸药物研发项目”的实施主体变更为其子公司北京诺博特生物科技有限公司(以下简称“诺博特”),并将上述两个募投项目尚未使用的5.02亿元的募集资金以增资的方式体现,增资完成后,诺博特的注册资本将由4000万元变更为5.42亿元。
关于超募资金的使用,爱美客曾发布公告表示拟使用超募资金约8.86亿元人民币对韩国肉毒素公司Huons BioPharma Co., Ltd.(以下简称“Huons Bio”)进行增资并收购Huons Bio部分股权。
据爱美客2021年半年报,公司目前仍有27.90亿元的创业板募集资金尚未使用,去除拟用于收购Huons Bio的8.86亿元超募资金,仍有19.04亿元尚未使用。另外,半年报还显示,截至2021年6月30日,爱美客现金及现金等价物的余额为34.30亿元,这也意味着爱美客手中还有超30亿元的现金。
另外,财经网了解到,2021年2月9日,爱美客上市不满半年便披露了一份4.21亿元的分红派息方案,而2020年爱美客全年的净利润仅有4.25亿元,上市后的首次分红便分掉了爱美客2020年度净利润的95.68%,其中约2亿元的分红直接进入简军简勇姐弟的钱包。据悉,简军为爱美客的实际控制人,直接持有30.96%的股份,简军的弟弟、执行董事简永直接持有2.42%的股份。
深交所曾对爱美客此次分红发出关注函。据此前披露在创业板的招股书,爱美客创业板IPO募资的理由“缺钱”,曾募资6亿元用于补充流动资金;但随后在对深交所就高分红的关注函回复的却是“本次利润分配的预案,是基于公司经营活动产生的现金流量净额与净利润持续匹配相当,营运资金较为充沛”,两种说法不免矛盾。
02
#?高溢价收购Huons Bio引内部争议,收购资金来源究竟为何?
据爱美客公告,2021年6月24日,爱美客董事会审议通过增资收购韩国Huons Bio议案,并同时表示公司拟使用约5.81亿元超募资金对Huons Bio增资认购80万股股份,同时拟使用约3.05亿元超募资金收购标的母公司Huons Global持有HuonsBio的8.8%股权,合计增资收购额达8.86亿元。本次增资和收购完成后,爱美客合计持有Huons Bio 122万股股份,持股比例25.4%。

图源:爱美客公告
据悉,Huons Bio则是HuonsGlobal的全资子公司,于2021年4月6日注册为公司,分拆前是Huons Global的肉毒素业务部门,其肉毒素产品Hutox于2019年4月在韩国取得产品注册证。Huons Bio分拆成立不足两个月,爱美客便对其发起收购。事实上,爱美客对肉毒素的布局早于对Huons Bio的收购,在爱美客A股IPO的9个募投项目,便有“注射用A型肉毒素研发项目”,截至2021年6月30日,爱美客已对其投入1360.16万元。
爱美客此前发布的资产评估报告显示,Huons Bio于今年3月31日的总资产账面价值为275.83亿韩元,总负债账面价值207.46亿韩元,净资产账面价值68.37亿韩元。收益法评估后,Huons Bio股东全部权益价值达5116.52亿韩元,增值额5048.15亿韩元,增值率7384.03%。
对HuonsBio的高溢价收购,不仅引起了监管层的关注,爱美客内部对此次收购也充满争议。
6月24日公告发布当天,爱美客便收到深交所创业板公司管理部关于此次收购的关注函,要求其说明Huons Bio于2021年4月从HuonsGlobal分拆设立的原因、是否专为本次交易分拆设立等,并要求爱美客在6月27日前将有关说明材料报送并对外披露,7月2日爱美客延期回复了深交所关注函。爱美客内部对Huons Bio公司收购案的审议较为波折,7月20日,爱美客2021年第二次临时股东大会暂缓表决Huons Bio公司的收购案;8月5日,爱美客2021年第三次临时股东大会对Huons Bio公司的收购案审议通过。至于对Huons Bio公司的收购案目前进展到哪一阶段,财经网曾向爱美客发函核实相关信息,截至发稿,尚未收到回复。
据招股书披露,爱美客此次赴港上市所募资金主要用于投资收购和授权许可安排、开发及扩展产品管线、海外产品开发注册及商业化以及营销和品牌建设等,其中募资收购韩国肉毒素医美公司Huons Bio是爱美客此次赴港上市的直接原因,但据此前公告,爱美客已拟使用A股8.86亿元超募资金进行本次收购。爱美客再次出现前后说法不一、自相矛盾的情形。
03
#?“夫”成立、“妻”经营,创始人“被失踪”
据创业板招股书,爱美客的前身北京英之煌生物科技有限公司(以下简称“英之煌”)是由姚京与程超分别出资75万元、占比50%于2004年6月9日共同成立。据悉姚京与简军系夫妻关系,但在港股招股书中,姚京和程超并没有被提及。

图源:爱美客创业板招股书
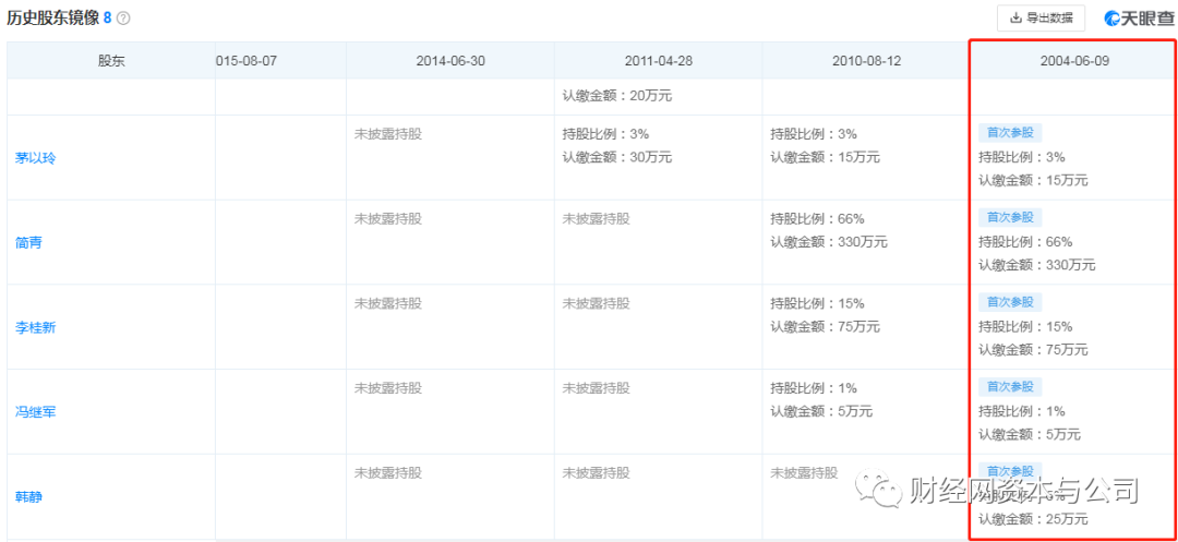
但据天眼查数据披露,2004年6月9日公司成立时的总出资额为500万元,与创业板招股书中披露的出资额并不一致;另外,天眼查显示公司成立之初最大的股东为简青,认缴330万出资额,持股比例为66%,其他股东按持股比例依次分别为李桂新(持股15%、认缴75万元)、王玉柱(持股10%、认缴50万元)、韩静(持股5%、认缴25万元)、茅以玲(持股3%、认缴15万元)、冯继军(持股1%、认缴5万元),而姚京、程超并未出现在上述股东之列。

图源:天眼查
另外,在国家企业信用信息公示系统“发起人及出资信息”一栏中,也未能发现姚京及程超的身影。

图源:国家企业信用信息公示系统
那么,姚京与程超是否确切参与到公司的创建之中,此后又是如何退出公司股东之列的呢?
据爱美客2017年6月首次冲击创业板IPO时递交的招股书,公司前身由姚京、程超共同出资于2004年6月设立,持股比例各为50%;2005年8月,姚京将其所持公司50%股权以出资额转让给冯继军,程超将其所持公司50%股权以出资额转让给王文博;2007年3月,冯继军将其所持公司45%股权以出资额转让给简青,王文博将所持公司10%的股权以出资额转让给简青;2011年4月,简青将所持公司66%股权转让给简军。其中,姚京与简军系夫妻关系,简青与简军系姐妹关系,王文博系姚京的姐夫。自此由姚京创立的英之煌便交接到其妻子简军的手中。
深交所曾于2018年1月在对爱美客创业板首次公开发行股票反馈意见中,对爱美客历史股权变动、公司设立及历次增资和股权转让股东的资金来源等60个问题进行问询。但遗憾的是,爱美客并未就上述相关问题对深交所进行回复,反而在问询后不久便选择撤回申报材料。