创益通(300991)4月9日披露2023年年报。2023年,公司实现营业总收入5.41亿元,同比增长25.57%;归母净利润1130.82万元,同比增长33.20%;扣非净利润943.23万元,同比扭亏;经营活动产生的现金流量净额为5733.24万元,同比增长150.79%;报告期内,创益通基本每股收益为0.08元,加权平均净资产收益率为1.78%。公司2023年年度利润分配预案为:拟向全体股东每10股派0.3元(含税)。

以4月8日收盘价计算,创益通目前市盈率(TTM)约为183.75倍,市净率(LF)约为3.25倍,市销率(TTM)约为3.84倍。
公司近年市盈率(TTM)、市净率(LF)、市销率(TTM)历史分位图如下所示:


数据统计显示,创益通近三年营业总收入复合增长率为5.45%,在其他电子Ⅲ行业已披露2023年数据的7家公司中排名第5。近三年净利润复合年增长率为-46.73%,排名7/7。
资料显示,公司主要从事精密连接器、连接线、精密结构件等互连产品的研发、生产和销售。
分产品来看,2023年公司主营业务中,消费电子互连产品及组件收入2.83亿元,同比增长22.86%,占营业收入的52.33%;数据存储互连产品及组件收入1.99亿元,同比增长41.40%,占营业收入的36.73%;通讯互连产品及组件收入0.14亿元,同比下降54.10%,占营业收入的2.51%。
截至2023年末,公司员工总数为1057人,人均创收51.23万元,人均创利1.07万元,人均薪酬10.09万元,较上年同期分别变化2.17%、8.38%、-14.35%。
2023年,公司毛利率为27.15%,同比上升3.00个百分点;净利率为1.93%,较上年同期上升0.03个百分点。从单季度指标来看,2023年第四季度公司毛利率为28.44%,同比上升5.41个百分点,环比下降0.21个百分点;净利率为11.83%,较上年同期上升12.72个百分点,较上一季度上升10.22个百分点
分产品看,消费电子互连产品及组件、数据存储互连产品及组件、通讯互连产品及组件2023年毛利率分别为13.90%、45.78%、17.48%。
报告期内,公司前五大客户合计销售金额2.40亿元,占总销售金额比例为44.35%,公司前五名供应商合计采购金额1.17亿元,占年度采购总额比例为35.34%。

数据显示,2023年公司加权平均净资产收益率为1.78%,较上年同期增长0.45个百分点;公司2023年投入资本回报率为2.08%,较上年同期增长0.57个百分点。
2023年,公司经营活动现金流净额为5733.24万元,同比增长150.79%;筹资活动现金流净额3473.70万元,同比减少3441.65万元;投资活动现金流净额-6559.48万元,上年同期为-1.68亿元。
进一步统计发现,2023年公司自由现金流为-4745.06万元,上年同期为-7414.26万元。
2023年,公司营业收入现金比为91.75%,净现比为507.00%。
营运能力方面,2023年,公司公司总资产周转率为0.42次,上年同期为0.37次(2022年行业平均值为0.81次,公司位居同行业31/38);固定资产周转率为0.76次,上年同期为1.10次(2022年行业平均值为18.46次,公司位居同行业36/38);公司应收账款周转率、存货周转率分别为3.44次、3.65次。
2023年,公司期间费用为1.22亿元,较上年同期增加2694.31万元;期间费用率为22.45%,较上年同期上升0.51个百分点。其中,销售费用同比下降7.12%,管理费用同比增长32.56%,研发费用同比增长12.6%,财务费用同比增长130.71%。
资产重大变化方面,截至2023年年末,公司固定资产较上年末减少0.25%,占公司总资产比重下降5.18个百分点;应收账款较上年末增加46.06%,占公司总资产比重上升3.43个百分点;货币资金较上年末增加33.82%,占公司总资产比重上升1.58个百分点;交易性金融资产较上年末减少26.42%,占公司总资产比重下降1.40个百分点。
负债重大变化方面,截至2023年年末,公司一年内到期的非流动负债较上年末增加1361.99%,占公司总资产比重上升7.77个百分点;应付账款较上年末增加20.04%,占公司总资产比重上升1.37个百分点;长期借款较上年末减少14.06%,占公司总资产比重下降3.14个百分点;短期借款较上年末减少11.46%,占公司总资产比重下降2.65个百分点。
从存货变动来看,截至2023年年末,公司存货账面价值为1.21亿元,占净资产的18.94%,较上年末增加2660.46万元。其中,存货跌价准备为1177.61万元,计提比例为8.85%。
2023年全年,公司研发投入金额为3907.27万元,同比增长12.60%;研发投入占营业收入比例为7.22%,相比上年同期下降0.83个百分点。此外,公司全年研发投入资本化率为0。

在偿债能力方面,公司2023年年末资产负债率为52.58%,相比上年末上升3.54个百分点;有息资产负债率为30.89%,相比上年末上升2.00个百分点。
2023年,公司流动比率为0.97,速动比率为0.74。
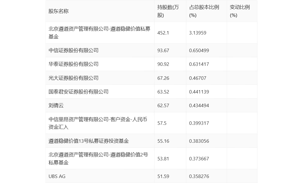
年报显示,2023年年末公司十大流通股东中,新进股东为中信里昂资产管理有限公司-客户资金-人民币资金汇入、遵道稳健价值13号私募证券投资基金、北京遵道资产管理有限公司-遵道稳健价值2号私募基金、UBS AG,取代了三季度末的何国启、高盛公司有限责任公司、深圳彼得潘股权投资合伙企业(有限合伙)、中信证券股份有限公司、华泰证券股份有限公司、光大证券股份有限公司、国信证券股份有限公司、中国国际金融股份有限公司。在具体持股比例上,北京遵道资产管理有限公司-遵道稳健价值私募基金、刘倩云持股有所上升。
筹码集中度方面,截至2023年年末,公司股东总户数为1.2万户,较三季度末增长了299户,增幅2.55%;户均持股市值由三季度末的19.69万元上升至20.77万元,增幅为5.49%。
指标注解:
市盈率
=总市值/净利润。当公司亏损时市盈率为负,此时用市盈率估值没有实际意义,往往用市净率或市销率做参考。
市净率
=总市值/净资产。市净率估值法多用于盈利波动较大而净资产相对稳定的公司。
市销率
=总市值/营业收入。市销率估值法通常用于亏损或微利的成长型公司。
文中市盈率和市销率采用TTM方式,即以截至最近一期财报(含预报)12个月的数据计算。市净率采用LF方式,即以最近一期财报数据计算。
市盈率为负时,不显示当期分位数,会导致折线图中断。