鲁花里“掺”进了金龙鱼,食用油市场“变天”?
12月9日晚,益海嘉里金龙鱼食品集团股份有限公司(以下简称“金龙鱼”)发布《关于对外投资暨关联交易进展的公告》。公告显示,公司及香港嘉银将所持有的参股公司股权对山东鲁花集团有限公司(以下简称“鲁花集团”)进行增资的交易,已获得国家主管机关的审批通过,鲁花集团和参股公司已分别完成相关工商变更登记手续。
孙氏家族控股变外资参股
9月份,金龙鱼发布关于对外投资暨关联交易的公告,公司及关联方香港嘉银拟将所持有的多家公司股权分别作价22.90亿元、32.79亿元对鲁花集团进行增资。其中,香港嘉银为金龙鱼的控股股东与中粮集团的合资企业,由丰益香港持股51%,中粮集团有限公司间接持股49%。

图片来源:金龙鱼官网
金龙鱼在公告中表示,本次交易系公司根据业务现状结合现有条件,进一步整合资源所作出的决定。本次交易完成后,公司的合并报表范围未发生变化。本次交易事项对公司的财务状况、经营成果、未来主营业务和持续经营能力不会产生重大不利影响,不存在损害公司及全体股东利益的情形。
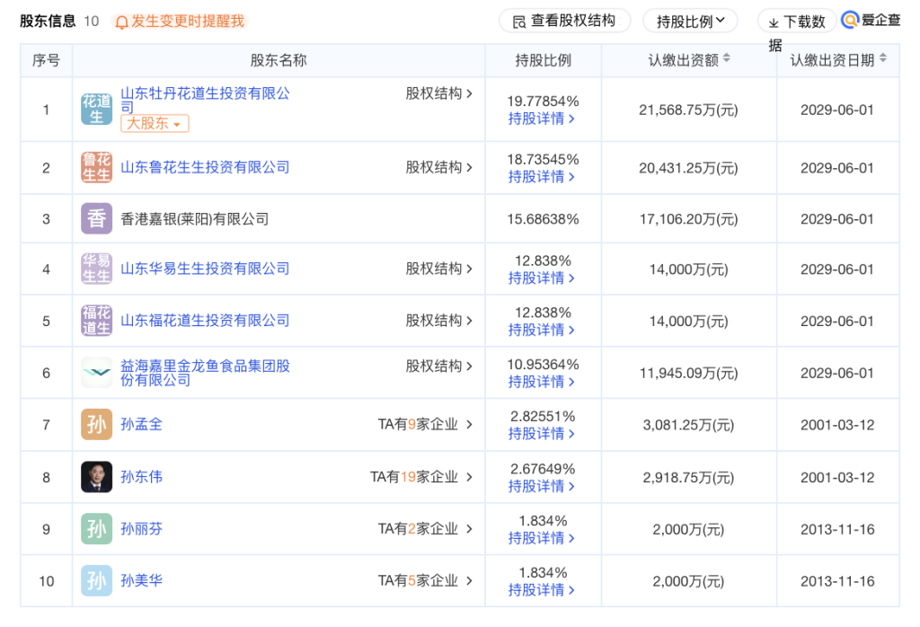
随着这笔投资的完成,鲁花集团的股权结构发生了重大变化。原本由山东鲁花生生投资有限公司、山东牡丹花道生投资有限公司、山东福花道生投资有限公司共同持股的格局被打破,新增了金龙鱼和它的关联企业香港嘉银作为重要股东。

图片来源:爱企查
据显示,山东鲁花第一大股东为山东牡丹花道生投资有限公司,该公司实控人为孙孟全,持股比例100%;第二大股东为山东鲁花生生投资有限公司,实控人为孙东伟,持股比例100%。根据公开资料,孙孟全与孙东伟为父子关系。此外,孙孟全和孙东伟还持有山东鲁花2.83%和2.68%股权。
交易完成后,鲁花集团注册资本由8亿元增加至约10.91亿元。金龙鱼持有鲁花集团10.9536%股权,位列鲁花集团第六大股东;香港嘉银持有鲁花集团15.6864%股权,位列鲁花集团第三大股东。这意味着,鲁花将从一个家族控股企业,转变为一个含有外商投资成分的企业。
增资鲁花实质是换股交易
官网显示,山东鲁花集团有限公司成立于1983年,创始人为孙孟全,集团横跨食用油、调味品、米面等多个行业,旗下拥有“鲁花”“自然鲜”“炒菜香”“花生恋”“福花”等品牌。
益海嘉里金龙鱼食品集团股份有限公司于2005年注册成立,创始人为华裔商人郭鹤年及其侄子郭孔丰。旗下拥有“金龙鱼”“欧丽薇兰”“胡姬花”“香满园”“海皇”“金味”“丰苑”“锐龙”“洁劲100”等品牌。
追溯企业发展史可以发现,两者渊源颇深。据公开报道,1993年,莱阳鲁花浓香花生油有限公司成立,历史股东中就曾出现过香港嘉银的身影。彼时,孙孟全在莱阳鲁花浓香花生油有限公司中担任总经理。2002年,山东鲁花浓香花生油有限公司成立,投资方中亦有香港嘉银。
根据金龙鱼公告披露,香港嘉银将其所持的莱阳浓香49%股权及山东浓香49%股权合计作价32.79亿元向鲁花集团出资,以获得鲁花集团新增注册资本1.71亿元;益海嘉里将其持有的周口浓香49%股权、襄阳浓香33%股权、常熟鲁花33%股权和鲁花塑业50%股权合计作价22.90亿元向鲁花集团出资,以获得鲁花集团新增注册资本1.19亿元。本次增资完成后,香港嘉银和益海嘉里分别取得增资后鲁花集团15.6864%和10.9536%股权,鲁花集团持有合资公司100%股权。
11月份,据国家市场监督管理总局官网信息,山东鲁花集团有限公司收购莱阳鲁花浓香花生油有限公司等六家公司股权案进行经营者集中简易案件公示。交易完成后,鲁花集团将单独控制六家目标公司。

图片来源:国家市场监督管理总局官网
金龙鱼方面表示,本次交易的主要方式,是金龙鱼及关联方香港嘉银将所持有的与鲁花集团共同投资的部分合资公司中的股权,对鲁花集团进行增资,也就是所谓的换股交易。
双方或将面临良性竞争
据全拓数据统计,金龙鱼、中粮集团、山东鲁花、上海良友、长寿花市场规模占比位居前五,分别为39.0%、15.3%、6.7%、3.1%、2.6%。

图片来源:全拓数据
值得注意的是,虽然鲁花集团是国内食用油行业龙头,但由于其并非上市公司,其业绩未曾公布。而由于此次金龙鱼与关联方共同对鲁花集团增资,山东鲁花的业绩情况得以披露。
根据公告,2023年,鲁花集团营业收入为186.29亿元,净利润27.46亿元。反观金龙鱼,2023年公司实现营业收入2515亿元,同比下降2.3%;实现净利润28.5亿元,同比下降5.4%。虽然金龙鱼的营收规模远超鲁花,但在净利润上的差距却并不明显。关于鲁花集团和金龙鱼集团未来会有什么合作,金龙鱼方表示日后两家企业可能会有一个良性竞争。
今年7月,食用油行业受到“油罐车混装食用油”事件的舆论影响。尽管各大粮油公司均声明其销售的食用油质量符合国家相关标准,但鉴于涉及食品安全问题,部分食用油品牌的公众信任度仍受到了影响。
记者就金龙鱼入股鲁花集团的消息公布后市场有何反应等问题致电鲁花集团,对方拒绝对相关事宜作出回复。