2025年7月以来,苏州仕净科技股份有限公司(301030)密集新增4起被执行人案件,累计执行标的高达9687万元。叠加此前因重大火灾事故被判赔的1.4亿元债务,这家光伏环保设备制造商的资金链正面临空前危机。
七遭执行一亿元,司法风险集中爆发
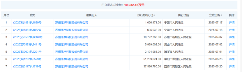
据公开司法记录显示,仕净科技在6月20日至7月17日短短几天内连续被七地法院列为被执行人:
宁国市法院,执行标的105.6万元(案号:(2025)皖1881执1889号);
宁国市法院,执行标的60.5万元(案号:(2025)皖1881执1862号);
苏州市相城区法院,执行标的1079.2万元(案号: (2025)苏0507执恢340号);
昆山市法院,执行标的593.9万元(案号:(2025)苏0583执8441号);
濉溪县法院,执行标的212.5万元(案号:(2025)皖0621执2291号);
阜阳市颍州区法院,执行标的5120.9万元(案号: (2025)皖1202执5529号)
西安市高陵区法院,执行标的3759.6万元(案号: (2025)陕0117执1719号)

合计执行总额已超亿元关口。
业内分析指出,密集执行往往预示企业流动性已严重恶化,债务违约进入司法清收阶段。
1.4亿火灾赔偿:压垮资金链的“致命枷锁”
本次执行危机背后,直指仕净科技未解决的重大历史赔偿责任:
隆基乐叶厂房火灾案(2021年):因仕净提供的废气处理设备电伴热带缺陷引发火灾,经法院终审判决:
承担厂房损失70%赔偿:3736.11万元(已生效);
设备损失一审赔偿:5807.9万元(尚未终审但计提压力巨大);
涉诉总成本超1.4亿元,相当于其2024年净利润的75%,且公司因未及时披露该重大诉讼,涉嫌信披违规,或面临监管二次追责。

财务指标全线恶化,偿债能力亮红灯
2025年一季度财报已显露危局信号:
| 关键指标 |
数值 |
同比变动 |
| 营业收入 |
7.35亿元 |
↓14.53% |
| 归母净利润 |
5289万元 |
↓33.41% |
| 资产负债率 |
88.67% |
↑5.2个百分点 |
| 财务费用 |
3811万元 |
↑46% |
现金流困境:高负债叠加近亿新增执行、未决赔偿,账面货币资金(一季度末8.2亿元)恐难覆盖短期债务。
连锁反应:诉讼漩涡持续扩大
除已披露案件外,仕净科技仍深陷多起纠纷:
1.今日开庭(7月21日):宁国市法院审理常州昊达电力诉其买卖合同纠纷(案号:(2025)皖1881民初3895号);
2.未决诉讼:江苏开达电气加工合同纠纷、多起买卖合同纠纷;
3.供应商风险:半年内新增5条“因未支付货款被起诉”记录,供应链信用濒临断裂。
风险预警:退市危机隐现?
根据《创业板股票上市规则》,若公司:
-主要银行账户被冻结;
-连续两年财务报告被出具否定意见;
-或无法清偿到期债务且资不抵债,将触发退市风险警示。
仕净如今现状存在高额执行和赔偿债务压顶,若三季度未能改善现金流,不排除走向债务重组甚至破产重整。
身陷亿元执行泥潭的仕净,又该何去何从?
相关链接:
20250709:仕净科技成被执行人
20250703:被执行总金额超9600万!仕净科技又成被执行人!
20250702:涉诉1.4亿秘而不宣!苏州仕净科技重大风险隐匿术挑战监管底线