chaguwang.cn-查股网.中国
查股网.CN
孩子王(301078)内幕信息消息披露
 
沪深个股最新内幕信息查询:    
 

“孩子王”汪建国带领“农村版淘宝”汇通达冲刺港股,年入500亿的下沉市场十年依旧难摆脱烧钱亏损局面

http://www.chaguwang.cn  2022-01-05  孩子王内幕信息

来源 :猫财经2022-01-05

  2021年年末,汇通达网络股份有限公司(以下简称“汇通达”)再次向港交所递交招股说明书。实际上,去年6月17日汇通达曾第一次向港交所递交招股书,不过6个月后招股书失效随即IPO也“告吹”。

  有着“农村版淘宝”之称的汇通达,其股东更是明星资本云集,不但有阿里巴巴、雷军的顺为资本,还有招商银行、华夏保险等为其“站台”。除此之外,汇通达的创始人汪建国也是大有来头,不但90年代下海创立五星电器,其于2021年10月份更是收获了人生第一个IPO孩子王(301078.SZ)。

  不过,有如此华丽背景的汇通达,虽然布局下沉市场10多年,可摆脱不了年入近500亿元却连年亏损的“烧钱”局面。

  “孩子王”汪建国第二个IPO?

  阿里位列第二大股东既是客户又是供应商

  资料显示,汇通达成立于2010年,是一家服务中国零售行业企业客户的交易及服务平台,并致力于为中国的下沉市场提供优质商品及服务。虽然汇通达一度被称为“农村版淘宝”,两者盈利模式类似,但区别于淘宝、拼多多,汇通达并不主要做C端,而是更多面向B端企业客户,如乡镇夫妻店、个体工商户。

  此外,从行业排名看,按2020年面向下沉市场、国内整体市场的交易业务规模计算,汇通达分别排名第一和第三,不过,各市场所占市场份额均低于1%。

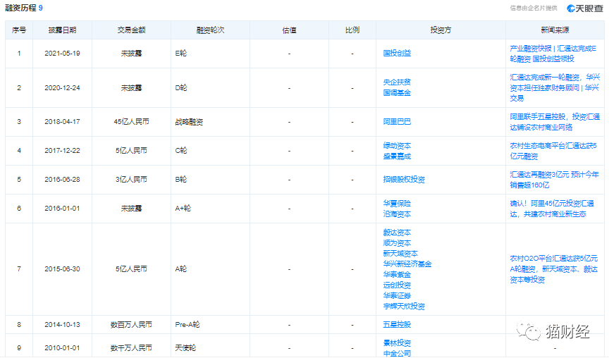
  事实上,在递交招股书前,汇通达曾多次获得融资。汇通达已拿下9轮融资,这其中包括阿里巴巴、招商银行、华夏保险、华泰证券等。

  

  不过,截至目前汇通达的控制权仍然牢牢掌握在汪建国手中,以32.56%的股份为公司单一最大股东。另外,阿里巴巴持股约为19.08%,为公司第二大股东;汇通达CEO徐秀贤持股14.01%;非执行董事、五星控股总裁王健持股5.71%;国家电网、国家开发投资集团旗下的央企基金,也持有汇通达5.3%的股份。

  

  值得注意的是,阿里巴巴除股东身份外,既是汇通达的客户又是其供应商,存在诸多关联交易。从2019年至2021年前三季度,汇通达向阿里巴巴销售的金额分别为2.99亿元、1.2亿元和5690万元,呈现下滑趋势。此外,根据最新销售协议,2022年和2023年,双方约定的年度销售上限金额,分别为8000万元和6000万元。

  相反的是,近年来汇通达从阿里巴巴采购的商品金额却呈现大幅度增长。2018-2020年,采购金额分别约为130万元、1370万元和1.09亿元。同时根据最新采购协议,2022年和2023年,双方约定的年度采购上限金额,分别为5000万元和1亿元。

  年入近500亿的下沉市场,

  毛利率不过3%且连年亏损

  事实上,中国下沉市场人口庞大,地域覆盖范围广袤。根据弗若斯特沙利文报告,于2020年年底前,中国下沉市场常住人口达12.3亿人,占全国总人口87%以上。同时,中国下沉零售市场的市场规模于2020年达到15.1万亿元,约占中国整体零售市场的79.2%。

  

  得益于行业红利期,汇通达的营收规模也是年年攀升,2018年至2021年前三季度,公司的营业收入分别为298.02亿元、436.33亿元、496.29亿元和464.96亿元。

  招股书显示,汇通达的业务主要包括交易业务和服务业务两大板块,以营收占比超99%的交易业务为主。该业务主要通过自有的电商平台“汇通达商城”向会员零售门店、渠道合作客户提供多类商品,目前包括家电、消费电子、农资、酒水等。而服务业务板块,在汇通达的营收占比中连1%都不到。

  

  此外,由于汇通达的创始人汪建国从家电行业起身,家电行业也一直是公司营收的“重头戏”,该业务在2018年的自营业务中更是以57.1%的营收占比占据了半壁江山,不过随着传统家电行业衰退,其营收占比在去年前三季度一度下滑到了18.9%。于是,汇通达开始向其他业务倾斜,其中消费电子产品、农业生产资料的营收占比分别由2018年的19.6%、17.5%提升到了2021年前三季度的38.8%、22.3%。

  可即便如此,受下沉市场产业链中复杂的交易层级以及数字化水平偏低等行业弊端影响,哪怕是入行闯荡10多年的汇通达,也依然逃脱不了不断“烧钱”,一直亏损的局面。2018年至2021年前三季度,汇通达的净亏损分别为2.76亿元、3.05亿元、2.80亿元和1.58亿元,报告期内累计亏损超10亿元。

  汇通达一直处于增收难增利的状况之下,其主要原因是核心收入来源的交易业务毛利率十分低,并且还在逐年下降,由2018年的3.4%降至2021年前三季度的2.6%,主要是高毛利率的家电品类营收占比在减少,而毛利率低的消费电子产品、农业生产资料占比在增加。

  

  由于下沉市场人口庞大、地域广泛,因此跑马圈地无疑成为汇通达扩展版图的最直接方法。公司的会员零售门店数目从2018年的34968家一度增长至2021年前三季度的57074家,增幅超63%。不过,渠道合作客户数目却并未有较大突破,从2018年的12955家增长至2019年的19425家后便开启了下滑趋势,到了2021年前三季度仅剩下13653家。

  

  但是由于传统家电市场不景气,已经造成了汇通达的会员零售门店、渠道合作客户,均出现了大规模的流失。2018年至2021年前三季度,汇通达会员零售门店的流失率分别达到49.1%、44.7%、50.3%及50.6%。与此同时,汇通达渠道合作客户的流失率分别为78%、71.2%、67.3%及70.3%。  

有问题请联系 767871486@qq.com 商务合作广告联系 QQ:767871486
查股网以"免费 简单 客观 实用"为原则,致力于为广大股民提供最有价值和实用的股票数据作参考!
Copyright 2007-2021
www.chaguwang.cn 查股网