chaguwang.cn-查股网.中国
查股网.CN
中科磁业(301141)内幕信息消息披露
 
个股最新内幕信息查询:    
 

龙虎榜丨中科磁业今日涨停,机构合计净卖出937.49万元

http://www.chaguwang.cn  2023-07-11  中科磁业内幕信息

来源 :界面新闻2023-07-11

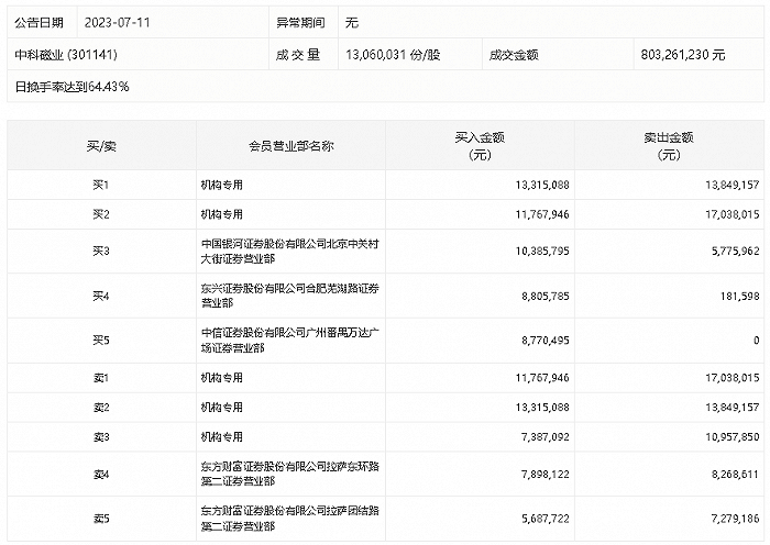
  7月11日,中科磁业今日涨停,龙虎榜数据显示,上榜营业部席位全天成交1.37亿元,占当日总成交金额比例为17.1%。其中,买入金额为7401.8万元,卖出金额为6335.04万元,合计净买入1066.77万元。

  具体来看,机构买入3247.01万元,卖出4184.5万元,合计净卖出937.49万元。此外,中国银河证券北京中关村大街证券营业部、东兴证券合肥芜湖路证券营业部分别买入1038.58万元、880.58万元;东方财富证券拉萨东环路第二证券营业部、东方财富证券拉萨团结路第二证券营业部分别卖出826.86万元、727.92万元。

  

有问题请联系 767871486@qq.com 商务合作广告联系 QQ:767871486
www.chaguwang.cn 查股网