来源 :冠龙节能2025-02-07
近日,我公司所申请的《一种蝶阀抗水流振动的机械阻尼装置》发明专利,已正式通过国家知识产权局的审查,并荣获发明专利证书。

//证书展示//
专利介绍


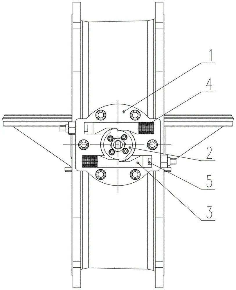
该产品具备多项技术特点:其抗振原理新颖科学,体积小巧且外观美观,成本低廉。
该装置高度集成于蝶阀的下轴端,当阀门全开时其阻尼扭矩最大,消除了从执行器到该装置(从头至尾)之间的所有配合部位的摆动力,显著提升了蝶阀对水流冲击振动的耐受能力,从而大大拓宽了蝶阀的使用工况范围、大幅延长了蝶阀的使用寿命。它可以部分替代成本较高的闸阀和球阀,将带来可观的社会效益。
此次发明专利的获得,不仅是对我公司在技术创新领域不懈努力的肯定,更是对我们科研实力的有力证明。
展望未来,冠龙节能将继续秉承创新驱动的发展理念,不断加大科研投入,深化技术创新,进一步巩固和扩大我们的自主知识产权优势,为市场带来更多高效、环保的智慧阀门产品。