来源 :乐居财经2023-11-06
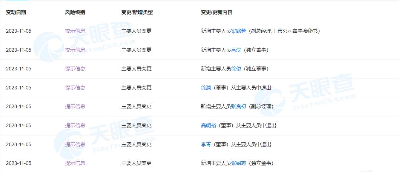
11月6日,浙江同星科技股份有限公司(以下简称“同星科技”)主要成员发生变更:徐澜、李青、高明裕退出董事,新增吕滨、张绍志、张良初、徐俊为独立董事。张良初、梁路芳、汪根法任副总经理,王丽萍任财务负责人。




据查,同星科技成立于2001年1月,注册资本为8000万元,法定代表人为张良灿,经营范围含生产销售及研发:制冷产品及零部件、汽车零部件、机电产品等。公司由新昌县同星投资有限公司直接持股36%,而新昌县同星投资有限公司由张良灿持股78%、张情怡持股12%、张天泓持股10%。其对外有14家投资企业。