来源 :原料药情报局2023-12-25
【原料药情报局】获悉:近日,关于新天地药业股份有限公司年产3000吨原料药侧链改造项目在相关网站批复公示。
项目概况
项目总投资4500万元,利用厂区内现有邓氏钾盐生产车间建设年产3000吨原料药侧链改造项目。建设内容为年产3000吨苯乙酸及副产品硫酸铵、氯化钠,同时配套建设废气收集预处理装置、含氰废水预处理装置、溶液暂存罐等设施。
项目所需供水系统、循环冷却水系统、综合废水处理系统、危险废物焚烧系统、RTO废气处理系统、原料及成品库、危险废物暂存间等公用工程均依托现有工程。
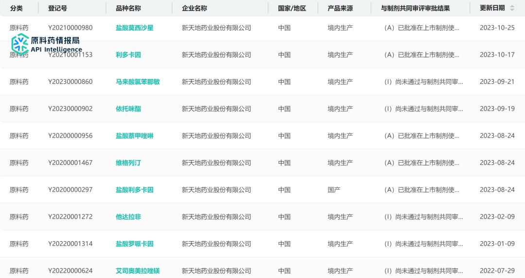
原料药布局

目前新天地药业原料药登记已达10个品种,其中5个A状态的品种分别为:盐酸莫西沙星、利多卡因、利多卡因、维格列汀、盐酸利多卡因。5个I状态原料药分别为:马来酸氯苯那敏、依托咪酯、他达拉非、盐酸罗哌卡因、艾司奥美拉唑镁。
新天地药业
新天地药业股份有限公司位于河南省长葛经济技术开发区,成立于2005年。主要从事医药中间体和原料药的研发、生产与销售。主要产品为左旋对羟基苯甘氨酸系列产品和对甲苯磺酸。
新天地三季度报显示,前三季度总营收4.901亿元,与去年同期相比增长9.33%,前三季度归属利润1.367亿元,同比增长53.07%。