chaguwang.cn-查股网.中国
查股网.CN
华宝新能(301327)内幕信息消息披露
 
个股最新内幕信息查询:    
 

华宝新能获得实用新型专利授权:“电池片组件和光伏装置”

http://www.chaguwang.cn  2024-05-14  华宝新能内幕信息

来源 :国际太阳能光伏网2024-05-14

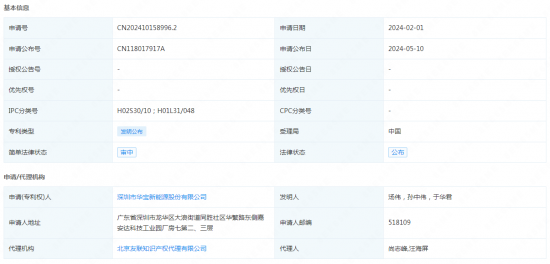
  数据显示,华宝新能新获得一项实用新型专利授权,专利名为“电池片组件和光伏装置”,专利申请号为CN202410158996.2,授权日为2024年5月10日。

  

  专利摘要显示,本发明提供了一种电池片组件和光伏装置,电池片组件包括:电池片,电池片能够将光能转化为电能;边框,边框设有容纳槽,电池片设于容纳槽内;其中,边框的至少一部分包括增强纤维材料和聚氨酯材料。

有问题请联系 767871486@qq.com 商务合作广告联系 QQ:767871486
www.chaguwang.cn 查股网