乖宝宠物(301498)4月16日披露2023年年度报告。2023年,公司实现营业收入43.27亿元,同比增长27.36%;归母净利润4.29亿元,同比增长60.68%;扣非净利润4.22亿元,同比增长61.76%;经营活动产生的现金流量净额为6.17亿元,同比增长101.38%;报告期内,乖宝宠物基本每股收益为1.15元,加权平均净资产收益率为17.4%。公司2023年度分配预案为:拟向全体股东每10股派现1.7元(含税)。
以4月15日收盘价计算,乖宝宠物目前市盈率(TTM)约为45.5倍,市净率(LF)约为5.32倍,市销率(TTM)约为4.51倍。
公司近年市盈率(TTM)、市净率(LF)、市销率(TTM)历史分位图如下所示:


数据统计显示,乖宝宠物近三年营业总收入复合增长率为29.06%,近三年净利润复合年增长率为56.69%。
分产品来看,2023年公司主营业务中,零食收入21.66亿元,同比增长10.86%,占营业收入的50.06%;主粮收入20.87亿元,同比增长50.35%,占营业收入的48.24%;保健品及用品收入0.57亿元,同比增长54.40%,占营业收入的1.31%。
截至2023年末,公司员工总数为3980人,人均创收108.72万元,人均创利10.77万元,人均薪酬11.71万元,较上年同期分别增长24.80%、57.45%、19.56%。
2023年,公司毛利率为36.84%,同比上升4.25个百分点;净利率为9.95%,较上年同期上升2.13个百分点。从单季度指标来看,2023年第四季度公司毛利率为39.59%,同比上升4.58个百分点,环比上升0.75个百分点;净利率为9.46%,较上年同期上升3.94个百分点,较上一季度下降0.87个百分点。
分产品看,零食、主粮、保健品及用品2023年毛利率分别为37.19%、36.00%、53.56%。
报告期内,公司前五大客户合计销售金额13.24亿元,占总销售金额比例为30.60%,公司前五名供应商合计采购金额3.31亿元,占年度采购总额比例为15.91%。
数据显示,2023年公司加权平均净资产收益率为17.40%,较上年同期增长0.86个百分点;公司2023年投入资本回报率为15.00%,较上年同期下降0.95个百分点。
2023年,公司经营活动现金流净额为6.17亿元,同比增长101.38%;筹资活动现金流净额12.82亿元,同比增加15.47亿元;投资活动现金流净额-10.75亿元,上年同期为-1.8亿元。
进一步统计发现,2023年公司自由现金流为3.18亿元,上年同期为-5.08亿元。
2023年,公司营业收入现金比为104.80%,净现比为143.91%。
营运能力方面,2023年,公司公司总资产周转率为1.35次,上年同期为1.48次(2022年行业平均值为1.26次,公司位居同行业7/17);固定资产周转率为4.71次,上年同期为3.69次(2022年行业平均值为4.91次,公司位居同行业10/17);公司应收账款周转率、存货周转率分别为21.10次、3.92次。
2023年,公司期间费用为10.31亿元,同比增长2.51亿元;期间费用率为23.82%,同比增长0.88个百分点。其中,销售费用同比增长32.22%,管理费用同比增长41.17%,研发费用同比增长8%,财务费用-1321.33万元,去年同期-1035.05万元。
资产重大变化方面,截至2023年年末,公司固定资产较上年末减少0.55%,占公司总资产比重下降18.22个百分点;存货较上年末减少10.68%,占公司总资产比重下降16.36个百分点;货币资金较上年末增加409.68%,占公司总资产比重上升15.69个百分点;无形资产较上年末增加17.05%,占公司总资产比重下降1.74个百分点。
负债重大变化方面,截至2023年年末,公司应付账款较上年末增加29.74%,占公司总资产比重下降1.77个百分点;应交税费较上年末增加476.83%,占公司总资产比重上升0.70个百分点;租赁负债较上年末增加580.80%,占公司总资产比重上升0.37个百分点;合同负债较上年末增加28.28%,占公司总资产比重下降0.57个百分点。
从存货变动来看,截至2023年年末,公司存货账面价值为6.57亿元,占净资产的17.93%,较上年末减少7859.99万元。其中,存货跌价准备为499.09万元,计提比例为0.75%。
2023年全年,公司研发投入金额为7327.67万元,同比增长8.00%;研发投入占营业收入比例为1.69%,相比上年同期下降0.31个百分点。此外,公司全年研发投入资本化率为0。
在偿债能力方面,公司2023年年末资产负债率为11.43%,相比上年末下降11.53个百分点;有息资产负债率为0.11%,相比上年末下降8.51个百分点。
2023年,公司流动比率为5.86,速动比率为4.02。
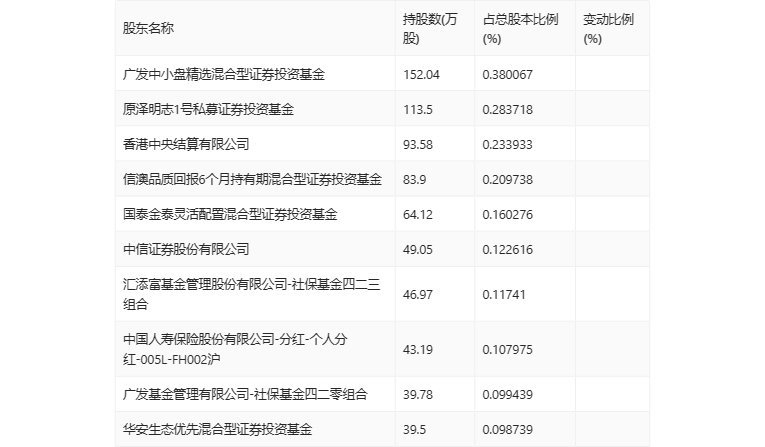
年报显示,2023年年末公司十大流通股东中,新进股东为信澳品质回报6个月持有期混合型证券投资基金、汇添富基金管理股份有限公司-社保基金四二三组合、广发基金管理有限公司-社保基金四二零组合、华安生态优先混合型证券投资基金,取代了三季度末的中国人寿保险股份有限公司-分红-个人分红-005L-FH002沪、东方红智远三年持有期混合型证券投资基金、东方红睿元三年定期开放灵活配置混合型发起式证券投资基金、中信证券股份有限公司、中国国际金融股份有限公司、东方红中国优势灵活配置混合型证券投资基金、国泰君安证券股份有限公司。在具体持股比例上,原泽明志1号私募证券投资基金、香港中央结算有限公司持股有所上升。
筹码集中度方面,截至2023年年末,公司股东总户数为1.71万户,较三季度末下降了4193户,降幅19.69%;户均持股市值由三季度末的81.23万元上升至93.10万元,增幅为14.61%。