浦发银行最近事儿不少。
一边是南通分行的一笔“旧闻”在最近再起争议;另一边是北京分行刚被罚款245万元;同时总行清算作业部原高级专家陈凌云因涉嫌严重违纪违法,正接受纪律审查和监察调查。
种种迹象表明,浦发银行的风控体系在实际运行过程中存在诸多漏洞,未能有效防范风险。
01
先聊聊南通分行这场诡异的存款纠纷。
2022年11月,上市公司科远智慧一纸公告把浦发银行南通分行给告了:称该公司存入的2.95亿元定期存款被莫名质押,用于为第三方开具银票,到期无法兑付。
公开信息显示,从2020年7月至2021年7月间,科远智慧陆续在浦发银行南通分行存入3.45亿元的定期存款。
据了解,这些被质押的资金被用作南通瑞豪国际贸易有限公司开具银行承兑汇票的质押担保,而南通瑞豪未能按时偿债,直接导致智慧能投的资金无法赎回。

2024年12月31日,南通市崇川区法院作出一审判决:浦发银行南通分行全责赔偿,需向科远智慧支付2.95亿元存款本金及利息。
五个月后的2025年5月17日,南通中院终审维持原判。
判决书指出,案件本质是“犯罪嫌疑人伪造存款企业印章”实施的诈骗案,银行作为资金保管方难辞其咎。
令人意外的是,在终审判决仅两个月后,2025年7月16日,浦发银行南通分行在南京市玄武区法院发起反诉。
银行指控科远智慧及自然人盛某在存款过程中存在过错,要求其连带赔偿2.95亿元本金及利息。
目前来看,这场拉锯战远未到终点,而其中的经过也是迷雾重重,蜜妹有机会再细说。
02
当公众视线聚焦于南通分行的存款纠纷时,浦发银行总行正经历一场静默的地震。
2025年7月下旬,上海市纪委监委驻浦发银行纪检监察组与宝山区纪委监委联合通报:总行清算作业部原高级专家陈凌云涉嫌严重违纪违法,正接受纪律审查和监察调查。

这位掌管银行资金“主动脉”的技术专家落马,恰似揭开浦发银行内控漏洞的解剖图。
清算作业部作为银行资金流转的“中枢神经”,控制着全行资金清算、头寸调拨等核心业务;
高级专家岗位需深度参与系统设计、流程管控等关键环节,掌握着资金划转的“后门密钥”;
在浦发银行组织架构中,该部门直接向运营管理部门负责人汇报,处于风险防控的核心圈层。
公开信息里蜜妹看到,陈2019年调任长沙分行行长,三年后以“高级专家”身份回流总行清算作业部,直至此番落马。
陈凌云既当过分行一把手,又执掌总行最强大脑,相当于既知道前线哪里可以“挖口子”,又掌握后台如何“抹平账”,双重权力叠加,风险呈几何级放大。
更值得玩味的是,2024年以来,央行、金监总局先后下发《支付结算业务专项整治方案》《清算机构合规年行动》,剑指“清算资金跨行截留”“同业账户隐匿头寸”等痼疾,陈案恰是政策落地后的“首虎”,其信号意义不言自明。
03
事实上,无论是存款失踪案,还是原高级专家被查,暴露的都是浦发银行的内控漏洞。
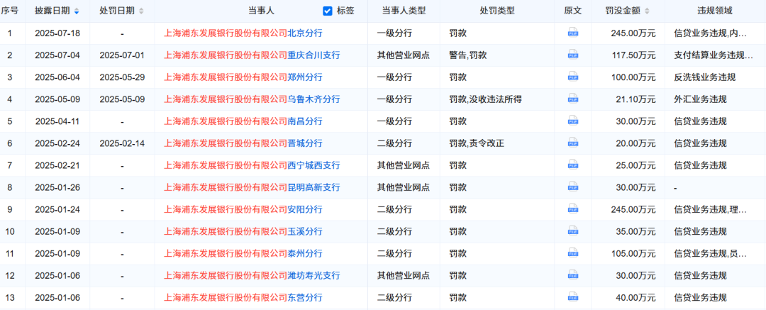
2025年刚过七个月,浦发银行已收到13张监管罚单,其中百万级大额罚单5张,累计罚款超800万元。

图表来源|企业预警通(特此感谢!)
7月18日,国家金融监管总局北京监管局披露,浦发银行北京分行因“以不正当手段发放贷款”和“贷款业务严重违反审慎经营规则”被处以245万元罚款,两名责任人分别被罚40万和20万元。
今年1月,浦发银行安阳分行也因贷后管理不到位、个人消费贷款管理不到位、违规处置不良贷款等问题被罚245万元,7名员工同时遭到处分……
回溯过往,浦发银行对违规放贷的“苦果”似乎并不陌生。2018年,浦发银行成都分行曾曝出 775亿元虚假授信案,这也成为其业绩滑坡的重要分水岭。
与频发的内控问题形成微妙对比的是,浦发银行近期财报呈现出业绩回暖迹象。2024年该行实现归母净利润452.57亿元,同比增长23.31%,结束了连续四年的下跌态势。

不过2024年浦发银行净息差1.42%,同比下行10bps,低于股份行平均的1.61%。
2024年浦发银行总资产9.46万亿元,其中贷款增速7.45%,存款增速仅3.24%,存贷倒挂。
在蜜妹看来,浦发银行在金融科技数字化风控领域仍有较大提升空间。信贷业务的快速扩张与相对滞后的风控能力建设,已为其违规行为埋下隐患。
这家曾以“对公之王”傲视同业的银行,如今站在真正的十字路口——技术可以修复系统漏洞,但唯有刮骨疗毒的制度重构,才能修复风险防线。