chaguwang.cn-查股网.中国
查股网.CN
上汽集团(600104)内幕信息消息披露
 
个股最新内幕信息查询:    
 

上汽集团申请尚界、上汽尚界商标

http://www.chaguwang.cn  2025-02-11  上汽集团内幕信息

来源 :中证网2025-02-11

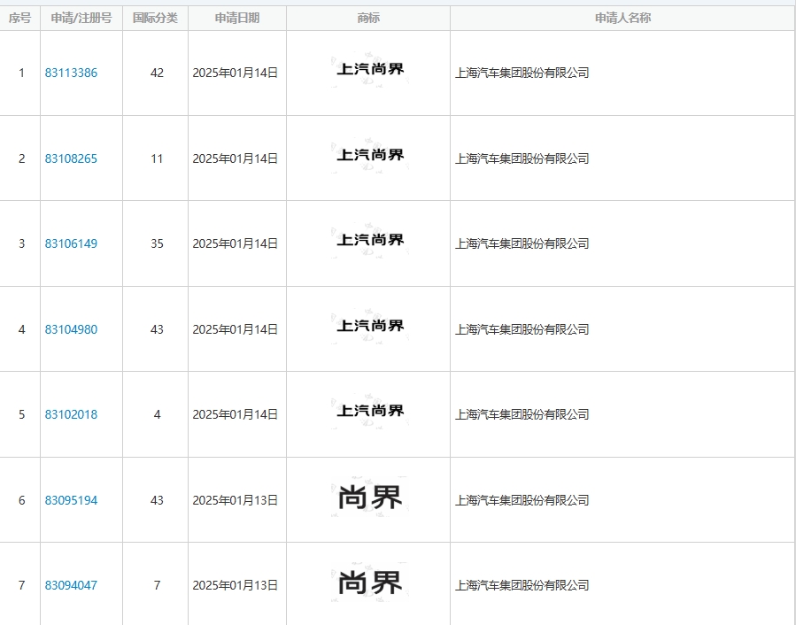
  2月11日,中国证券报·中证金牛座记者从国家知识产权局网站查询了解到,1月中旬,上汽集团已申请上汽尚界、尚界多枚相关商标,商标状态为等待实质审查。

  0bd86a6d-5106-41d8-9332-d5ea2d418f51.jpg

  来源:国家知识产权局网站

  早在2023年11月,华为申请了两个尚界商标,已经核准注册。其中一个尚界商标于2025年2月初公告核准注册,核定使用商品/服务项目为电动汽车、汽车、汽车底盘、摄影无人机、自动驾驶汽车。

  7eb46750-791a-485f-a0b2-73b8c6aa5859.jpg

  来源:国家知识产权局网站

查股网为非盈利性网站 本页为转载如有版权问题请联系 767871486@qq.comQQ:767871486
Copyright 2007-2025
www.chaguwang.cn 查股网