来源 :每日经济新闻2025-02-21
据上汽集团公众号,2025年2月21日,上汽集团股份有限公司与华为终端有限公司在上海签署深度合作协议。双方将在产品定义、生产制造、供应链管理、销售服务等领域展开战略合作,打造全新新能源智能汽车,共同为用户带来领先的智能化出行体验。
上汽集团董事长王晓秋,华为常务董事、终端BG董事长、智能汽车解决方案BU董事长余承东见证签约。上汽集团总裁贾健旭,华为终端智选车业务部总裁汪严旻分别代表上汽和华为签约。

上汽集团是中国规模最大、综合实力领先的汽车企业之一,业务涵盖整车、零部件、移动出行和服务、金融、国际经营、创新科技等多个领域,在汽车技术研发、生产工艺、质量管理等方面积累了丰富的经验,致力于为消费者提供创新技术与高品质的汽车产品与出行服务。目前,上汽已成功推出技术水平国际领先的“七大技术底座”,包括纯电、混动、氢能三大整车平台以及电池、电驱、超混系统、智能车全栈解决方案。2024年,国家公布首批L3级智能网联汽车准入和上路通行试点名单,上汽成为唯一一家乘用车和商用车项目均成功入选的企业。
华为作为全球领先的ICT(信息与通信)基础设施和智能终端提供商,拥有智能汽车领域软、硬、芯、云等核心技术,近年来与合作伙伴一起推出多款卓越的智能汽车产品,深受市场欢迎。华为在智能驾驶、智能座舱、智能驾控、软件定义汽车等领域,为消费者带来了极致智慧出行体验。
此次上汽与华为开启战略合作,将进一步发挥各自优势,推动中国汽车产业在智能化时代迈向新的高度。双方团队将深度融合、携手共进,共同探索智能汽车技术创新与商业模式创新的新路径,致力于打造具有全球竞争力的智能汽车产品,为用户提供更加智能、便捷、安全的出行体验。
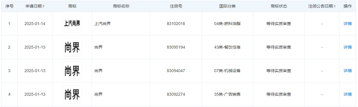
值得注意的是,此前市场就传出上汽与华为合作的相关消息。据相关媒体报道,华为与上汽的合作模式已确定将使用智选车模式,从上汽注册的商标来看,该品牌初步名为“尚界”。
天眼查显示,1月13日至1月14日,上海汽车集团股份有限公司新提交“尚界”、“上汽尚界”等多枚商标,国际分类涉及机械设备和广告销售等,商标状态均为等待实质审查。

去年年底以来,上汽正与华为进行密切接触的消息便开始广泛流传。
2024年11月,市场有传闻称,上汽集团正与华为进行合作接触。该项目由上汽集团总裁贾健旭亲自带队,或将开辟华为目前与车企的三种合作模式(供应商、HI、智选车)以外的全新模式,不排除上汽集团将战略投资华为子公司引望的可能。
证券时报,2月20日下午,尊界S800技术发布会召开,余承东称鸿蒙智行实现了“从被动智能到自主智能的全面跃迁”,这项技术将首先搭载到尊界S800上,尊界S800将首发包括途灵龙行平台在内的多项核心技术。

余承东表示,尊界S800预计将在5月底正式上市,亮相于深圳车展。在发布会期间,台下多次有“遥遥领先”声音传出,余承东表示:“我们绝对对得起那四个字。”
在本次发布会上,余承东称,尊界S800将首发6大核心技术,包括首发的途灵龙行平台、天使座主动安全防护、华为星河通信3大技术,以及全新升级的鸿蒙ALPS座舱2.0、华为车语系统2.0、华为巨鲸电池2.0这3大技术。
据介绍,途灵龙行平台实现了路面感知(HUAWEI ADS)、智能车辆状态感知(iVSE)、动态自适应扭矩控制(HUAWEI DATS)和智能车身协同控制(HUAWEI XMOTION)。
官方数据显示,鸿蒙智行2024年累计交付新车超44万台,12月单月交付近5万台,创月交付量新高。其中问界M9上市12个月累计大定突破20万辆,问界新M7年度累计交付突破19万辆,智界R7上市累计交付近3万辆,享界S9系列交付7494辆,连续5个月成为40万元以上纯电豪华轿车销冠。