频繁出现的涉诉信息,揭示出国金证券一段难以忘怀的回忆。因投行业务未勤勉尽责,这家民营背景的上市券商,需要付出多少代价?
连番出庭应诉
话说,整理券商信息的行家,注意到一组颇为相似的诉讼——


来自上海市高级人民法院官网的信息显示,上海金融法院预定于今年8月22日开庭审理多达9起“证券虚假陈述纠纷案”。
案件的原告方包括多名自然人,以及一家私募机构上海游马地投资中心(有限合伙)(简称:游马地投资)。
而被告方完全一致,包括两名自然人庄晶、祝建民,一家券商机构:国金证券股份有限公司(简称:国金证券)和一家会所:北京兴华会计师事务所(特殊普通合伙)(简称:北京兴华所)。
要知道,国金证券是总市值近300亿的“川籍”上市券商。本次“跨省”在上海批量应诉,又是什么情况?
同案企业往事
虽然案件并没有更多公开信息,但两名自然人被告,却让行家似曾相识。

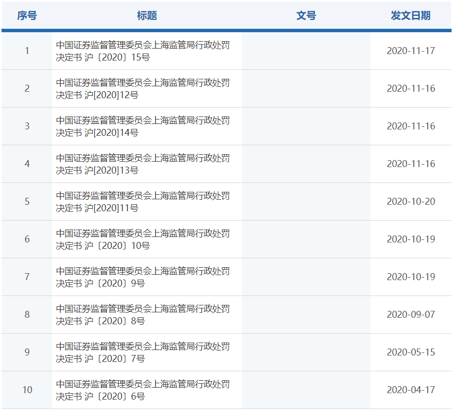
2020年11月16日,上海证监局连更三份罚单,剑指行悦信息科技股份有限公司(简称:行悦信息)存在两项信披违规。
一是为时任董事长、控股股东、实际控制人徐恩麒对外借款担保,未依法披露。二是通过虚构与对娃哈哈等“客户”的业务往来等方式,虚增2013年至2016年上半年及年度营业收入,并在对外披露文件中虚假记载。经查,2013年至2016年营业收入虚增2051.36万元、49,39.52万元、3682.63万元和1886.79万元,占对外披露的当前营收的比例分别为33.25%、70.36%、35.83%和18.99%。
依照当时实行的2005年《证券法》规定,上海证监局对行悦信息给予警告,并“顶格”处以六十万元罚款。
时任行悦信息总经理、副董事长、监事会主席祝建民,知悉存在虚增营业收入违法行为,未勤勉尽责加以制止,还提供自己控制的银行账户协助划转“走账”资金。时任行悦信息主管会计工作负责人和会计机构负责人、财务总监庄晶女士,未对财务报告的真实性和准确性尽到审核责任,编制财务报告未依法确认收入,并协助向相关客户发出划转“走账”资金的指令。同样被追责。上海证监局对祝建民和庄晶给予警告,分别处以十万元和三万元罚款。
追究看门责任
从时间节点来看,行悦信息于2013年12月13日在新三板挂牌之际,正是由国金证券担任主办券商和推荐人。同时“在列”的中介机构还有德恒上海律师事务所(简称:德恒上海)、北京兴华所和上海申威资产评估有限公司(简称:申威评估)。
而这还不是全部的纠葛。
2015年,国金证券作为主办券商,担纲了行锐信息定向发行工作,并在当年10月出具了《合法合规性意见》,称已“遵循诚实守信、勤勉尽职的原则,对行悦信息本次股票发行的有关情况进行了尽职调查”。
重重把关之下,依然没有发现行悦信息存在重大造假行为,直到多年之后方由监管函揭示。
这难免会让人猜测,国金证券究竟发挥了怎样的“看门人”作用?是水平不足,能力不够,还是疏于职守,甚至是蓄意为之?
行家注意到,上海金融法院官微在2023年12月曾经推送了关于全国首例新三板做市交易投资者起诉的证券虚假陈述责任纠纷案审结的报道。其中线索指向了行悦信息。
这起由上海金融法院一审,上海高院二审维持原判的案件,最终判决:行悦信息赔偿原告投资差额损失;前述两名高管分别承担60%、2%的连带赔偿责任。前述会计师事务所在20%的范围内对其参与审计的2023年中报-2015年年报中虚增收入造成的投资损失承担连带赔偿责任。而国金证券在15%的范围内对2013年上半年虚增收入造成的投资者损失承担连带赔偿责任。
而即将开庭的案件,案由和被告与前述“要案”并无二致。国金证券是否会参照前述判例,部分承担赔偿投资者损失的责任呢?
内核集体升职
时隔多年,外界依然能看到挂牌之际国金证券发布的推荐公告。

这份“历史文件”载明,国金证券于2013年8月9日召开内核会议。参加会议的内核委员为姜文国、廖卫平、罗洪峰、李刚、王蔚(负责法律)、刘刚(负责行业)、曹勤(负责财务)等七人,其中律师一名,注册会计师一名,行业专家一名。
彼时,七名内核成员经投票表决,一致同意推荐行悦股份的股票在全国股份转让系统挂牌公开转让。
时隔多年,曾经“拍板上马”行悦信息的内核委员中,有五名仍在国金证券任职,并且获得了提拔。
比如,时任国金证券副总经理姜文国,在2021年5月升任总经理兼财务总监。2023年,他的薪酬高达476.98万元。
廖卫平如今已是总裁助理、投行总部总经理,全面负责投行业务。
罗洪峰先生任职于上海证券承销保荐分公司,已累计签署了13单项目。王巍女士和曹勤女士近年来也取得了保代资质,分别担任内核风控部业务董事和质量控制部董事总经理。
就在本周,廖卫平在接受证券时报专访时表示,“券商在项目承揽和辅导尽调过程需要对企业的业务模式、技术创新水平、持续经营能力、成长性等重要问题进行充分评估、核查分析和论证,对企业业绩的真实性、业务模式的商业合理性、技术水平的先进性等进行充分核查与信息披露,以打消监管和市场疑虑。”
回想当年的行为,这位资深投行人士,看来也是有亲身体验。
民营投行表现
作为民营券商,国金证券的投行业务有着不输于行业头部的实力。然而,在行业整体背景下,国金证券并未能逆势突破。

在总裁转正的2021年,国金证券投行业务收入18.10亿元,为迄今为止最佳记录。2022年和2023年,投行业务收入分别为17.02亿元和13.39亿元,呈现加速下降态势。
2023年,国金证券投行业务收入同比下降21.30%;2024年一季度,国金证券投行业务收入同比下降43.34%,为近十年之最。
后续,国金证券将如何应对“历史遗留问题”,又将如何做到勤勉尽责,合规执业呢?