来源 :爱企查2022-04-20
信息显示,4月18日,中石化销售氢能源(北京)有限责任公司成立,法定代表人为贾文利,注册资本1亿元,所属行业为科技推广和应用服务业,经营范围包括新兴能源技术研发;新能源汽车整车销售;国内货物运输代理;安全技术防范系统设计施工服务;新能源汽车电附件销售等。爱企查股权穿透图显示,该公司由中国石化销售股份有限公司、北汽福田汽车股份有限公司、轻程(上海)物联网科技有限公司联合控股。


公开信息显示,福田汽车是中国汽车行业自主品牌和自主创新的中坚力量,现已经形成了集整车制造、核心零部件、汽车金融、车联网、福田电商为一体的汽车生态体系。
据信息显示,北汽福田汽车股份有限公司成立于1996年8月,注册资本约65.75亿元,该公司由北京汽车集团有限公司、北京国有资本经营管理中心等10位股东联合控股。目前该公司对外投资企业60余家,包括北京智悦发动机有限公司、北京福田欧辉新能源汽车有限公司、货车之家(南京)科技有限公司等。



此外,值得注意的是,轻程物联是一个氢燃料电池车物流运输平台,以氢燃料电池车为主要配送工具,聚焦同城生鲜物流和同城快递物流两条主线,为用户提供终端司机APP、灵活租赁、加氢气寻站、物流信息等服务。
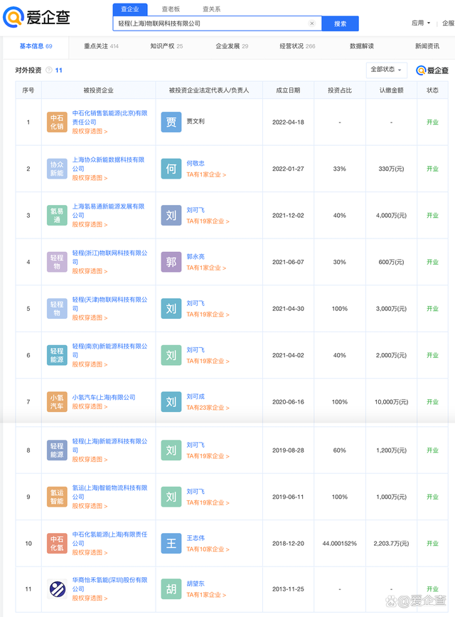
据信息显示,轻程(上海)物联网科技有限公司由法定代表人刘可飞持股约26.68%,宁波乐仪企业管理咨询合伙企业(有限合伙)持股约19.14%,刘可成持股约17.02%。目前该公司对外投资企业共11家,包括上海氢易通新能源发展有限公司、上海氢易通新能源发展有限公司等。

