2023 年全年,据 Insight 数据库显示,全球已有近 3000 个临床阶段创新药项目发生了进度推进。按最高母企业维度看,有 20 家企业状态变动的新药项目都超过了 15 个。
盘点各企业变动总项目数及各阶段项目数,恒瑞医药以超 50 个新药进展成功夺魁,此外,中国生物制药、复星医药、石药集团、齐鲁、信达等国内企业均在列。其中,中国生物制药以及复星医药也成功进入前 10 位之列,其余 TOP10 席位则被阿斯利康、辉瑞、罗氏、BMS 等 MNC 占据。

数据说明:来源丁香园 Insight 数据库全球新药模块,筛选「全球最高进度」≥申请临床、「项目积极状态」不为非积极、全球最高进度进展时间为 2023.1.1-2023.12.31、新药类型为新药(不含改良新,不含类似药,下同)(数据经人工核对整理,如有纰漏请指正);早期临床=临床 I 期+I/II 期,后期临床=临床 II 期、II/III 期、III 期;
以下,Insight 将简单梳理成功入榜 TOP10 国内企业在 2023 年的亮点。
恒瑞医药
进入 2023 年,恒瑞的营收和净利润已回到增长轨道中,2023 年前三季度营收已达 170.14 亿元,Q3 单季度净利润同比增长 10.57%。

来自:恒瑞医药财报,Insight 制图
数值为手动整理,如有错漏还请联系修正
研发投入上看,恒瑞也从未停止过增长。2023 年前三季度研发费用 37.3 亿元,同比上涨 6.5%。

来自:恒瑞医药财报,Insight 制图
数值为手动整理,如有错漏还请联系修正
从研发进度分布来看,临床报批、早期临床、后期临床及上市阶段均有稳定健康的结构分布,有利于形成正向循环,不断有新药推向市场、不断有早期项目新进临床、向前推进。
在后期管线中,2023 年恒瑞也有多项产品有里程碑进展。DPP4 抑制剂瑞格列汀和 PD-L1 抑制剂阿得贝利单抗两款新药获批上市,并有包括 IL17A 单抗夫那奇珠单抗、JAK1 抑制剂艾玛昔替尼、PCSK9 单抗瑞卡西单抗等在内的 5 款新药陆续报上市。这些今年度已经商业化和逼近商业化的项目,也覆盖到了肿瘤、代谢、自免这三大最为吸金的治疗领域。
从成分类别来看,除化药外,还涉及到 ADC、双/多特异性抗体、PROTAC 等。热门的 ADC,无疑也是恒瑞当前重点布局的领域。
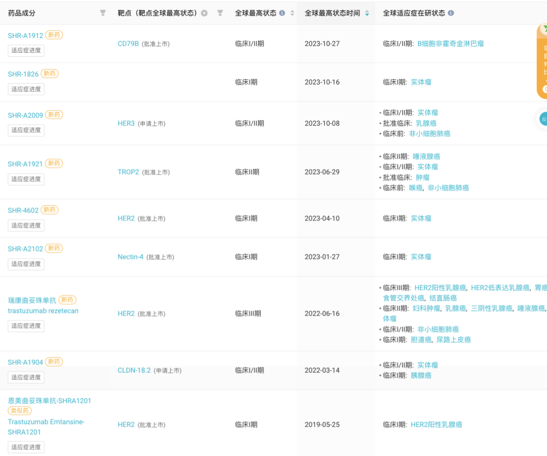
据 Insight 数据库显示,恒瑞进入临床阶段的 ADC 项目数为国内企业 TOP1,近 5 年已有 9 款。涉及热门靶点 HER2、TROP2 等,同时也差异化布局了 CD79B、HER3 等靶点。其中,HER3 ADC SHR-A2009 在 2023 ESMO 大会上亮相,仅次于第一三共成为第 2 个公布临床结果的同靶点 ADC。
恒瑞近 5 年进入临床阶段 9 款 ADC

来自:Insight 数据库网页版(下文如无特殊标注,为同一来源)
中国生物制药
中国生物制药同样是国内药企中的佼佼者,不光上半年有合作亿一生物的贝格司亭获批,另有 3 款新药报上市:PI3Kα/δ抑制剂 TQ-B3525 和 PD-L1 抑制剂贝莫苏拜单抗以及与益方生物合作开发的 KRAS G12C 抑制剂格舒瑞昔。
此外,2022 年度申报的 ALK/MET/ROS1 抑制剂安奈克替尼和 ALK/MET/ROS 抑制剂依奉阿克也有望及早获批。
今年上半年中国生物制药创新药收入实现 38.6 亿元,同比增长 10.9%,已经占到了集团营收的 25.3%。与恒瑞的仿制药收入已经开始持平类似,中国生物制药也表示 5 亿元以上年收入规模的仿制药(剔除独家产品)均已进入集采。

数据来自中国生物制药半年报,Insight 整理
比之恒瑞的多领域广泛布局,中生制药最为聚焦肿瘤领域。安罗替尼是该领域一大核心产品,TQB2450 即贝莫苏拜单抗预计获批后将成为安罗替尼的重要辅助产品之一,通过联用方案互相助力增长。
今年更是有 20 个新药项目有新临床进展,其中,有 3 款新进入 III 期临床阶段,包括 TQB3454、TQB3823 以及 AL2846。预计未来三年,肿瘤领域约有 10 个创新药有望获批上市。
复星医药
复星医药今年获批了 2 款创新药,包括与柯菲平医药联合开发的凯普拉生以及与 Genexine 合作开发的长效促红细胞生成素产品 GX-E2。此外,另有 CDK4/6 抑制剂 FCN-437c 报上市。
复星医药管线布局主要涉及肿瘤、免疫、中枢神经等领域,重点强化小分子、抗体/ADC、细胞治疗、RNA 等核心技术平台。而随着更多后期管线的积极进展,复星医药早已进入收获期。2022 年复星医药制药业务收入首次突破 300 亿元,其中创新药和生物类似药销售收入突破 100 亿元。
同时,复星医药也在持续加大研发投入,2022 年全年研发投入同比增长 18.22%,共计 58.85 亿元。其中,研发费用同比增长 12.12%,达到 43.02 亿元。制药业务研发投入同比增长 13.62%至 50.97 亿元,制药业务研发投入占制药业务收入的 16.54%。
随着研发的投入,有更多早期项目进入临床阶段,2023 年报临床新药项目更是达到历史高峰,共有 19 个。
复星医药近 5 年报临床新药(不含改良新/生物类似药)项目趋势图
