西藏药业是有大东西的,但仅仅只靠一个大东西是不够的。它的盈利能力超过10个亿,盈利能力排在生物制品第5位,总市值150亿排在21位,估值15倍排在盈利企业末位。
这是四川一家很有历史的企业,进入资本市场超过26年,历史上只在2005、2007两年出现过4132万和1.25亿亏损,最近的四个完整年份,盈利记录分别2.09亿、3.70亿、8.01亿和10.51亿。
这一切的良好指标均来自一个称之注射用重组人脑利钠肽“新活素”的药物,这是中国唯一重组人脑利纳肽产品。它在最新的2025H1的16.51亿收入中,新活素占了14.56个亿,大约占比88%。
重重复复的老叙事,资本市场不大爱听,但西藏药业要变又非常不容易。资本市场,更喜欢关注它的未来。

新活素之外都是“其它”
西藏药业产品体系,即:新活素+依姆多、诺迪康、雪山金罗汉止痛涂膜剂、小儿双清颗粒、十味蒂达胶囊,很典型一药独大结构。
西藏药业的一药独大有两个含意,一个含意是在西藏药业中占绝大多数,一个含意是在中国药品中的销售额绝对称得上重磅。
重组人脑利钠肽“新活素”2005年上市,是中国首个用于急性心衰治疗的基因工程1类新药。2025年开始进一步扩建生产线,年产能将提升至1500万支。
新活素采用的是大肠杆菌表达系统,工艺复杂,纯化难度高,至今无国产仿制药上市。其临床价值在于对心衰治疗的突破性作用,对急性心衰急救的突破性作用表现在两个方面:一是扩张静脉/动脉,降低心脏前后负荷,30分钟内缓解呼吸困难,及抑制肾素-血管紧张素系统,减少恶性心律失常风险;二是保护肾功能,促进钠排泄同时不损伤肾小球滤过率(GFR)。
新活素在与传统药物机制比较上,起效速度新活素仅需要30分钟,而传统药物利尿剂/血管扩张剂则需要1-2小时,更重要的则是新活素因增加肾血流而保护肾功能,传统药物则损伤肾功能。

另外,西藏药业还在进行慢性心衰适应症扩容,目标覆盖射血分数保留型心衰(HFpEF)正在III期临床,预计2025年完成。同时探索与SGLT2抑制剂(如达格列净)联用,协同改善心肾结局。
新活素是西藏药业绝对的核心品种,其单品收入2021-2024的最近四年分别为16.83亿、22.51亿、28.61亿和24.33亿,各占企业总收入的78.70%、88.11%、90%和86.89%。
最新的2025H1,新活素收入14.51亿,占收入比88.36%。
新活素之前的全球唯一竞品是美国Scios/强生的奈西立肽(Nesiritide, Natrecor?),不过其虽2001年上市,但在2019年其因增加肾功能恶化风险(ASCEND-HF研究)产生的安全性争议,导致全球退市。
之后可能的竞争者是两个基因疗法产品——诺华/Chinook的CK-3773274(心肌靶向基因疗法),单次注射修复心肌细胞,正在III期临床;拜耳的AAV-CNP(基因递送CNP),模拟利钠肽系统,可长效作用数月,但其尚处临床前。
新活素的实际市场独占期预计持续至2033年,后续份额取决于水针剂转型及新适应症拓展进度。
除新活素之外,依姆多、诺迪康、雪山金罗汉止痛涂膜剂、小儿双清颗粒、十味蒂达胶囊只能归类于“其它”类别了,这些药物加总只占收入比的11.64%,算起来只约1.92个亿。
多少可以讲一讲的是西藏药业的单硝酸异山梨酯缓释片“依姆多”,西藏药业2016年1.9亿美元从阿斯利康获得除美国外的全球权益,它虽是西藏药业的第二大产品,但量级小了新活素好几号,多时也就1亿冒个头。

两次战略性失败
贯穿了西藏药业历史的除了新活素之外,还有两大产业战略失败,一个是依姆多项目,一个是略带谎诞的新冠疫苗项目。
一,1.9亿美元收购依姆多的失败案例
2016年,西藏药业境外全资子公司TopRidge Pharma Limited以1.9亿美元收购阿斯利康心血管药物IMDUR(依姆多)产品、品牌全球(除美国外)资产。2023年该产品收入约1.3亿,2024年境外销售收入约0.7亿元。
收购依姆多资产由控股股东康哲推动,计划通过定增方式注入资产。但是,这一交易方案被第二大股东华西药业质疑估值过高且存在隐性关联交易,因为依姆多后续的销售由康哲药业独家代理。
虽然西藏药业的华西药业系董事联合中小股东投出了反对票,但康哲系凭借持股优势通过了议案,使收购依姆多得以完成。

但是,两年后的2018年,依姆多因销售不及预期,计提减值损失8561万元,这是第一次减值。
三年后的2021年,因集采落选及原料断供,依姆多再计提减值4.58亿。
第三次是2023年,计提依姆多无形资产减值准备1.7亿。
西藏药业并购依姆多1.9亿美元约人民币12.41亿元,三次计提减值约7.66亿元。这个失败案例影响有三个方面:一方面是财务消耗,一方面影响了战略路径,一方面造成了盈利能力下降。
二,2020年3.51亿获得俄罗斯斯微生物新冠mRNA疫苗全球权益失败案例
西藏药业3.51亿元获得俄罗斯斯微生物新冠mRNA疫苗全球权益基于三重意义考虑:一是以俄罗斯斯微生物切入疫苗赛道,形成“制药+疫苗”双赛道;二是以新冠mRNA疫苗全球权益获取重磅产品收益;三是全球化战略。
2020年6月,与俄罗斯斯微生物达成新冠mRNA疫苗全球权益投资计划,投资3.51亿获得斯微生物新冠mRNA疫苗、结核疫苗及流感疫苗全球独家开发、生产及商业化权益,首付款3500万元。
消息公布后,西藏药业股价三个月内从25元飙升至180元,市值增长近400亿元。
斯微生物mRNA疫苗仅于2021年1月获批临床试验,2022年底仅获老挝紧急使用授权。
2021年8月,双方终止独家合作,西藏药业将已支付的7000万元转为3.35%股权投资,并剥离疫苗权益。
西藏药业为该项目投入1.26亿元建设的上海厂房,因合作终止面临闲置,需通过出租或转让盘活资产。
同期投资的俄罗斯腺病毒疫苗项目(Sputnik-V)因技术验证未通过,2022年计提减值3.27亿元,生产线建设累计耗资7.46亿元。
俄罗斯斯微生物2024年9月被法院裁定进入破产清算程序,估值从百亿跌至不足1亿元。西藏药业当前未披露与斯微生物股权合作的最新进展。
引人关注的是西藏药业最新的一个动态。
据最新西藏药业披露,全资子公司TopRidge Pharma Limited投资6000万美元,获得Accuredit Therapeutics Limited40.82%股份,关联方康哲药业下属公司同步投资1500万美元,持股10.20%。
Accuredit专注于开发基于LNP(脂质纳米颗粒)和其他非病毒载体的体内基因编辑技术,其核心资产为通过VIE架构控制锐正基因(苏州)公司。

锐正基因主要在研管线包括遗传性血液病候选药物RZ-001、代谢性疾病候选药物RZ-002和眼科疾病RZ-003。其中,RZ-001临床试验初步安全性数据预计2026年公布。
锐正基因CEO王永忠有生物医药行业有深厚履历,曾是苏州药明生物CEO、先声药业总裁及康弘生物CEO。

两个股东的关系
西藏药业股东结构颇为奇特,且有深厚的历史原因。企业治理是企业价值最核心因素。所有,这是有必要深究的。
这家公司的董事长陈达彬,其所控制的西藏华西医药集团持股17.42%,他是西藏药业创始人,但并非控制人。周裕程是陈达彬之子,其为西藏药业副董事长。

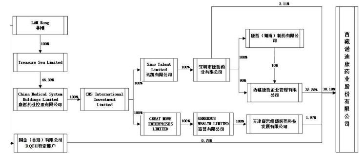
控制人是以西藏康哲、深圳康哲、天津康哲及国金证券(香港)-客户资金账户为一致行动人的林刚,分别持股32.28%、3.11%、1.97%、0.75%,合计持股38.11%。
林刚除控制西藏药业之外,还持有另一家香港上市公司康哲药业,市值314亿港元。

这不是很正常的事嘛。嘿嘿!!第一大股东不是董事长的确很正常,但是这两个股东长期协同失调就很不正常。
1999年西藏药业上交所上市,华西药业持股22.69%,为第一大股东。
2014年原第二大股东新凤凰城所持20.44%股份转让给康哲医药,康哲系合计持股26.61%成为控股股东。目前康哲系持股38.11%拥有更强控制力。
2014年后之后华西药业不断稀释持股比例降至17.78%,但创始人陈达彬留任董事长,保留董事会话语权,其曾数次对康哲方面的议案提出否决意见。
1,对2016年依姆多收案提出否决意见;
2,2016年定增案中,葛卫东等机构投资者支持华西药业质疑,倒逼康哲提高信披透明度;
3,对2021年董事会改组,华西药业联合机构股东推动增加独立董事席位,制衡康哲系决策;
4,2024年康哲系欲拆分皮肤医美业务德镁医药上市,华西药业以“聚焦主业”为由反对资源分流,出现战略分歧;
5,康哲系入主后立即签署新活素独家代理协议,被质疑“利益输送”。康哲掌控西藏药业核心产品新活素、依姆多独家代理权,收取30%以上推广费率,导致西藏药业销售费用率长期超40%。华西指控该模式形成“利益输送”:2024年康哲药业净利率21.6%,西藏药业仅8.9%;
6,2014年华西药业反对康哲系提出的高管涨薪计划,控诉其掏空上市公司;
西藏药业已成为股东博弈的典型范式,控股股东康哲掌握渠道与资本,创始股东华西依靠董事会席位与治理规则制衡。
战略路线及发展层面,康哲系主张“代理+并购”扩张,华西药业坚持自研藏药与生物药。本质是创始团队与资本方对战略方向、资源分配及公司控制权的根本性冲突。华西系认为康哲垄断销售终端,使西藏药业沦为“生产车间”。
西藏药业自2016年之后,再无重磅自研药上市。它的命运,可能还存在更多波折。。。