来源 :钛媒体APP2023-10-19
来源:钛媒体
图源:视觉中国
近日,广州市住建局公示了陕建股份(600248.SH)在建项目的多项问题。据广州住建局信用记录及管理信息专栏,陕建股份在建工程“奥园白云江高项目住宅”存在多项问题,包括“未严格落实分包单位农民工工资委托施工总承包单位代发制”“未及时处理实名制预警信息”“智慧工地设备进场安装滞后”。

来源于广州住建局
而该项目的分包单位为湖南安隆建筑工程有限公司,存在“未按要求委托施工总承包单位代发分包单位农民工工资”。据公开资料,奥园白云将高项目位于广州市白云区江高镇中心城区政府储备项目住宅二期-1号地;2020年5月份时,中国奥园以22亿元夺得白云江高地块。

来源于广州住建局
无独有偶,在今年8月份,陕建股份承建项目“北京市石景山区衙门口棚户区改造土地开发项目1615-708地块二类居住用地项目2#住宅楼”施工现场存在“首层结构洞口处临边防护缺失”等多项问题,违反了《北京市建设工程施工现场管理办法》,被北京市住建委员会处以2万元罚款。

陕建股份涉诉情况,来源于天眼查数据
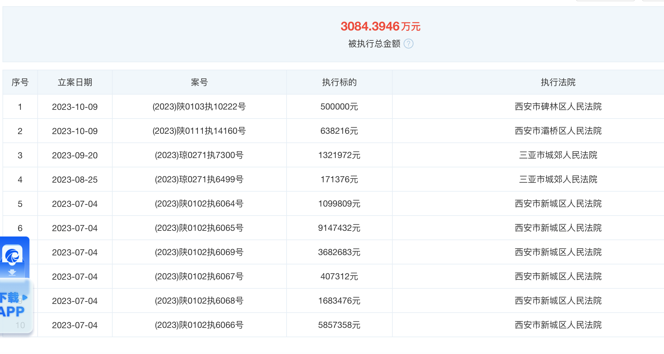
值得注意的是,陕建股份目前深陷诉讼泥潭。天眼查数据显示,公司涉及合同纠纷等超190件,包括买卖合同纠纷、建设工程施工合同纠纷、建设工程分包合同纠纷等,公司作为历史被执行人涉及执行总金额超3000万元。

来源于天眼查数据
截至今年6月末,公司应收账款高达1513.35亿元。公司方面表示,应收账款主要集中于政府平台及国有企业,因建筑行业项目工程工期较长,工程的完工、验收、审计决算有一定滞后期,公司目前已制定了《清欠管理办法》,成立专门的清欠管理机构,对清收欠款有完善的责任体系,动态跟踪、严格考核,按照会计政策计提坏账准备。
(本文首发于钛媒体APP,作者 |张海霞)
特别声明:以上内容仅代表作者本人的观点或立场,不代表新浪财经头条的观点或立场。如因作品内容、版权或其他问题需要与新浪财经头条联系的,请于上述内容发布后的30天内进行。
现在送您60元福利红包,直接提现不套路~~~快来参与活动吧!