来源 :上海证券报2021-11-25
今日早盘,拟置出金融业务、切入锂电池行业的新力金融复牌后一字涨停。

昨日晚间,新力金融公告称,拟将主要从事融资担保、小额贷款、典当和融资租赁等类金融业务的企业的股权置出上市公司,并置入比克动力75.62%股权。公司股票11月25日开市起复牌。
值得注意的是,新力金融的股价已提前启动。长期横盘的股价在今年10月末突然拉升,复牌前累计涨幅已逾30%,其中停牌前一个交易日更是涨停。
300万手封单
截至午间收盘,新力金融买一封单305万手,约为30.7亿元,而公司最新总市值不到51.63亿元。
不过,新力金融股价的提前拉升,仍然引起市场关注。经上市公司自查,在剔除大盘因素、同行业板块因素影响后,上市公司股票股价在本次交易首次披露前20个交易日的波动超过20%。
新力金融表示,尽管上市公司在本次交易过程中积极主动进行内幕信息管理,且已按时登记相关内幕信息知情人,但上述股价异动可能导致相关方因涉嫌内幕交易被立案调查,从而导致本次重组存在被暂停、终止或取消的潜在风险。
转型锂电池产业链
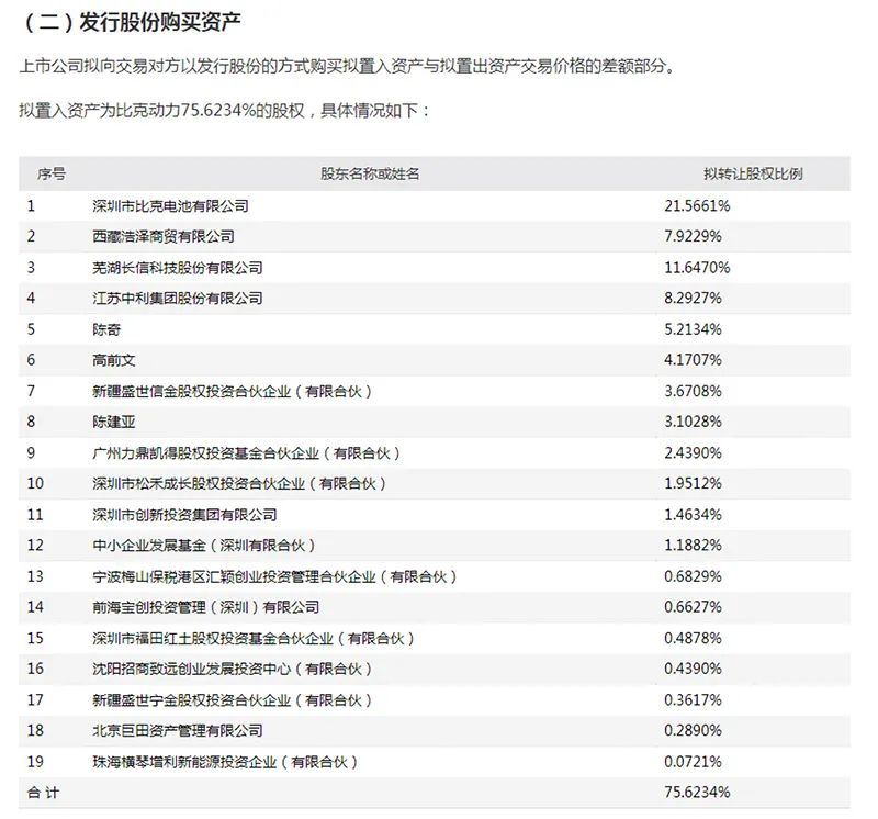
根据新力金融11月24日晚间发布的重组预案,本次交易方案包括重大资产置换、发行股份购买资产及募集配套资金三部分。其中,拟置出资产包括德润租赁58.48%股权、德信担保100%股权、德众金融67.5%股权、德善小贷56.51%股权和德合典当77.05%股权,置出资产的最终承接主体为上市公司控股股东新力集团或其指定的第三方。
与此同时,新力金融拟向交易对方以发行股份的方式购买拟比克动力75.62%股权与拟置出资产交易价格的差额部分。经协商,本次股份发行价格确定为7.27元/股。上述两步互为条件、同步实施。
在此基础上,新力金融拟定增募集配套资金,用于标的公司项目建设、补充流动资金及支付中介机构费用。交易完成后,比克动力将成为上市公司的控股子公司,上市公司主营业务也将随之转变为锂离子电池研发、生产及销售。
拟置入的比克动力成色几何?
资料显示,深圳比克动力成立于2015年8月,主要从事锂离子电池的研发、生产及销售,主要产品包括圆柱形电池、聚合物电池和方型电池,主要应用于消费类产品、新能源汽车及储能等领域。

比克动力已经“三冲”A股了。目前比克动力的前五大股东中,A股公司中利集团、长信科技曾分别于2018年和2017年计划收购比克动力,但均以失败告终。
经营业绩方面,据新力金融公告披露,最近两年及一期,比克动力净利润分别为-7.68亿元、-10亿元和-1706.22万元,经营持续亏损。
除经营持续亏损外,2019年,比克动力曾与多家上市公司陷入“连环债”。因受众泰汽车及华泰汽车未付货款影响,比克动力曝出现金流问题,一度还“牵累”了为其提供锂电池材料的容百科技、当升科技、新宙邦、杭可科技等A股公司。目前来看,上述问题似乎已基本化解。