

每年的开年,在检验完过去一年的成绩后,往往都是房企内部调整最为频繁的时刻,尤其是位居一线的各大区域,总是逃离不了人事洗牌,2023年来,各大国央企也积极参与到了这个阵营中。
前阵子,某央企手起刀落就是十几二十位区域管理层一并轮换的消息被刷屏了。
近期艳姐又得知,珠海国企华发股份各大区域同样经历了一番人事换防,今年以来至少发生了6则不小的变动:
1、任命执行副总裁向宇为华南、珠海大区副董事长兼总经理
2、原珠海大区总经理钟百灵调任总部,任董事局主席助理
3、原华南大区副董事长、总经理汪宏被任命为华南大区常务执行副总经理
4、原阳光城北京区域副总裁章鑫加盟,出任北京区域常务副总经理
5、原北京区域副总经理刘万平已于近期离职
6、原华东大区武汉公司总经理史昱已于近期离职
这些消息背后能窥见很多东西,我们慢慢来看。
01
很多朋友应该都听说过向宇和钟百灵的职位在今年有了新变化,不过此前盛传的是钟百灵被调往总部、向宇前往珠海大区担任副董事长兼总经理,并没有华南大区的事。
所以这次实际的变动中又扯进了一位新人物——原本担任华南大区副董事长、总经理的汪宏,他被调任为华南区域常务执行副总经理。
钟百灵、汪宏都是2019年时华发从外部挖来的职业经理人,学历背景都是顶尖。
钟百灵土木工程专业出身、清华大学本硕学历,当初是从仁恒跳来的华发,毕业时就在珠海任过职,后来在仁恒也做过珠海公司副总经理、常务副总经理、以及上海公司总经理。
汪宏则是北大毕业、万科新动力,加入华发前也在卓越、金地供职过,曾出任过金地广佛公司总经理、华南区域助理总经理兼广东公司总经理。
钟百灵和汪宏加盟时恰好是在华发股份2018-2020年“冲千亿”的关键三年时期,当时刚组建不久的华南区域(后升为大区)也正在从0-1成长的关键节点。
两位高管在各自出任珠海、华南总经理后,两个区域的销售金额都是一年一台阶,甚至分别在2019年、2020年实现了同比翻倍的神话,也助力华发股份达成了三年冲千亿计划。

所以按理来说,这两位大区总的地位应该是相当牢固的,但显然,一些意外发生了。
珠海作为华发的大本营,一直是作为独立区域存在的,从2019年钟百灵加盟后就跃居上了珠海市场第一,持续领跑。
去年全年的数据华发股份官方还没公布,艳姐查到了两份由榜单机构统计的数据,差别有点大,一个说去年华发股份在珠海卖了125亿,另一个说是174.82亿,哪个更可信不知道,但是排在第二的万科都是卖了51亿左右:
依旧是让其他房企难以望其项背的第一,然而不管是哪个数据,都说明珠海的销售额倒退不少。
尽管珠海大区还能在去年做出这个成绩,已经相当不容易了:
毕竟对比一年前看,珠海排在TOP10的房企销售额整体都缩减了一半左右,整个珠海楼市都在全面收缩——板子或许不能完全打在高管身上。

艳姐猜测,可能是华发对作为大本营的珠海大区,有更高的期待,类似于万科大本营所在的深圳,同样在今年年初进行了换防,派上了在东莞万科屡屡创下佳绩的周嵘。
不过换个角度看,钟百灵调入总部,从一线的区域总变为董事局主席助理,跟在掌舵人身边全局视野再看华发,未必不是一条新的发展路径。
华南大区去年全年的数据不太好统计,去年上半年,珠海大区卖了97.81亿,华南大区卖了70.97亿,从这次调整动作来看,大概率也并未达到最理想的状态。
华发股份近3年来,看似一直在节节攀升,但事实上也是靠了同行衬托,2020年冲入千亿开始,三年总业绩分别为1205亿元、1218.9亿元、1202亿元,几乎没有变化。
前两年华东大区都贡献了近半的销售额,2022年上半年更猛,直接贡献了6成,按去年华发股份在华东的冲劲,全年估计也不会低。显然,这家国企一直所憧憬的“华东、珠海、华南”三架马车协同发力、驱动跨越的愿景中,只有华东的力量是达到了预期的,珠海和华南同华东的差距,略有些大了:
颇有些一家独大的华东大区在“拖飞机”的味道……
而这次华发从总部将执行副总裁向宇调来,出任两大区域副董事长兼总经理,也能窥见华发想要再次提振整个华南地区业绩的期盼。
向宇也是在一线身经百战的老将,曾任华发股份副总裁、华东区域兼华中区域董事长,和钟百灵、汪宏相反的是,他恰好是在2019年时短暂作别了华发,直到去年9月以执行副总裁的身份回归。
向宇在任时就已经带领华东区域做到了华发股份内部第一,当时的华中区域尚未被取缔,还被列为了和当时的华南区域并列的次重点区域。

这次被委以重任,向宇明显也是带着再现曾经辉煌的使命而去的。
今年1月4日时,珠海大区召开了2023年度经营工作会议,会上有一句话:
在股份总部的大力支持下,公司领导班子选优配强,为高质量发展增添信心和动力。
选优配强中,向宇的到来显然是关键。
在当时,向宇已经来到了珠海大区任职,这场会议还是由他主持的,会上珠海大区被树立了一个重点目标:
努力实现业绩历史性突破。
华发股份珠海大区2023年度经营工作会议向宇参会
不过从客观事实上来讲,投资端决定销售端,华发股份如今的土储重心本就在向华东倾斜,去年在上海的权益拿地金额都冲到了第一,虽然去年在珠海也新拓了9个项目,但是要减少差距,必然要在投资端进一步发力。

艳姐大胆猜测,今年华发股份除了会继续重仓华东、抢占市场份额,在华南地区大概率也会大力补仓。
02
另外三则消息也可以结合起来看。
刘万平和史昱都是华发去年新招来的外部职业经理人,刘万平曾是富力河北公司总经理、史昱曾是阳光城江西公司总经理,进入华发股份后,前者做了北京区域副总,后者做了隶属华东的武汉城市总,如今不到一年,都在近期双双离职了。
这个变动不算意外,毕竟从民企跳到国企,因为薪资、体制等各方面原因水土不服的大有人在,适应不了选择离职很正常。
比如去年,原阳光城陕西区域总裁孟伟就在加盟华发股份珠海大区出任城市总1月后闪电离职,目前孟伟就职于电建地产担任华南区域常务副总经理。
不过在告别了两位高管的同时,华发股份又挖了原阳光城北京区域副总裁章鑫过来,出任北京区域常务副总经理。
华发股份今年以来的这几则变动消息,就映射出了一个很有意思的现象:
除了本就是老华发的向宇,其余涉及高管皆是实打实的外聘而来的。
这件事放在民企之中算不得稀奇,但出现在一家国企,尤其所涉猎的岗位还基本都是执掌一方的区首、城市总,就相当值得琢磨了。
事实上,华发的“挖人史”其实要追溯到很久以前。
比如,华发股份现任执行副总裁兼首席运营官、首席营销官戴戈缨,曾是金地集团华东区域副总经理、复地集团总裁助理,2015年华发股份初入上海一战成名后向戴戈缨伸出了橄榄枝,引入了这位干将助力当时刚成立不久的上海公司开疆拓土。
比如,2019年除了钟百灵和汪宏,华发股份还引入了龙湖系高管、常年深耕华东的刘颖喆接替向宇出任华中兼华东大区董事长,现如今,刘颖喆的抬头已经变成了华发股份执行副总裁兼华东大区董事长。
2021年以来,华发股份各大区域更是加速招兵买马,陆续引入外部高管,除了今年新引入的北京区域常务副总经理章鑫,和已经作别华发的刘万平、史昱、孟伟,还有比如:
1、华东大区常务副总经理邵昶魁,曾是新城控股淮海大区总经理、龙湖上海投资、设计总监,2022年加入;
2、珠海大区总经理助理王孝锋,曾是阳光城川渝执行总裁,2022年加入;
3、华南大区执行副总经理陈双全,曾是中海郑州公司总经理,2021年加入;
4、华南大区中江公司总经理林子栋,曾是雅居乐中山事业部总经理,2021年加入;
5、华南大区广州公司总经理周超,曾是中南广佛战区总经理,2022年加入;
6、华南大区深圳公司副总经理包辽新,曾是佳兆业成都总经理,2022年加入。
7、北方大区沈阳公司常务副总经理郭仁义,曾是龙湖沈阳智慧服务总经理,2022年加入……
可以看出,不管是哪个年份,这些被挖来的高管都有着类似的特征:
主流房企出身、拥有过硬且对口的履职背景、极高的学历。
尤其是学历,高到什么程度呢?
比如,前面提到的2021-2023期间的11个人,9个都是985毕业。
甚至于,清北高材生、博士都是一抓一大把。
刘颖喆、戴戈缨、钟百灵、包括去年新引入的邵昶魁都是清华校友,大多还都是科班出身;北大毕业的汪宏虽并非科班,却还曾是四川眉山的高考文科状元;去年回流的向宇,也是博士学历。
这种对学历的诉求,甚至比以往一些以“高学历高管团队”著称的民企还要来得更高。
所以,作为难得对外部招聘十分开放包容的国企,华发的大门实则也不是那么好迈入的。
03
不难发现,华发股份对外招聘的需求和力度其实一直相当旺盛,尤其是在2022年有点达到顶峰状态,今年大概率会继续维持高频招聘。
因为现阶段恰好是用较高性价比引入优秀的高量级职业经理人的最佳时机。
随着一大波民企出险、行业薪酬泡沫被大大戳破,曾经因为薪酬等顾虑不太会考虑国央企的职业经理人大量待业挑选,而市场终有复苏的时刻,如今但凡是有进一步发展欲望的房企,都不会错过这个引入人才的良机。
从去年开始,华润置地、绿城、中交地产、建发、越秀……也都开始启动大规模招聘计划了。这些房企大家应该都相当眼熟,基本都是去年以来在企业规模或是排名上实现了较大突破的房企:
华润目前已经冲到行业第四,建发已经冲入前十,越秀业绩逆势正增长……
而已经在今年1月历史性杀入规模十强的华发,对于抓紧时机进一步谋规模的诉求更是昭然若揭。
去年同期时,华发排在第14位,到去年年底,又回落到了第18位,新的一年开启,却没有任何缓冲地,以一个月121.9亿的销售额,一个健步冲到了行业老七。
今年1月是春节月,百强房企因此对比去年1月规模下滑了超32%,但是华发却同比增长了近20%,赢得“开门红”。

不过,单是开了一个好头显然是远远不够的,毕竟从2020年开始,华发每年1月的数据都在持续攀升,但是看全年依旧是每年持平——很显然,华发也并不满足于这个成绩。
或许背后还有对于利润的渴求。
04
华发股份去年实现了0.78%的净利润增幅。这个数据本算可以,但在净利润小幅增加的情况下,归母净利润却比去年下滑了19.8%。

更奇怪的是,去年上半年时,华发股份的净利润为22.73亿元,2021年同期则为23.66亿元,同比下滑了3.93%。
然而这时,归母净利润却还实现了9.44%的增长。
也就是说,净利润下滑的时候,归母净利润反倒是增长的;净利润上升了,却反向下滑了……
于是,短短半年的时间里,华发上市股东可以拿到手的净利润份额突然凭空消失了许多,缩减到了54.36%。
这中间究竟发生了什么?
归母净利润的减少对应的自然也就是少数股东权益的增加,也就是华发股份在业绩快报里说的“项目权益比例下降”。

但按我们前面分析的情况看,问题显然出在下半年,那为什么少数股东权益突然增加了这么多?难道是华发股份突然出现了大量的合作项目,以致于被少数股东分走了近一半净利润?
或许这和整个华发内部的一些重组动作分不开。
去年,华发股份一直都在陆续做一些收并购动作,除了收下融创深圳冰雪文旅城,最扎眼的动作在去年3月。
当时,华发增资5.44亿元将在一家名为“海川地产”的公司持股比例从49.75%提升到了50.2%。

华发股份给的解释是,提高项目开发归属于上市公司的利润水平,同时进一步解决同业竞争问题。
因为海川地产的另外两位股东华发城运和城建集团,均由华发股份母公司华发集团实控,所以才要通过提升股权占比进一步解决同业竞争问题。
不过即便如此,海川地产有很大部分股权在华发股份之外,但仍在华发集团控制之内。
从2020年开始,这三家公司就对海川地产进行了4次增资,总额大约在:
602亿元。
值得一提的是,早在2021年8月时,海川地产的董事长、总经理、法人就开始由戴戈缨担任了。
这样的巨额注资以及高管配置,显然宣告了这家公司在华发集团内部的特殊地位。
据显示,海川地产控制有79家企业,有至少五六十家为全资控股,很多都对应到了华发股份的各个项目公司。

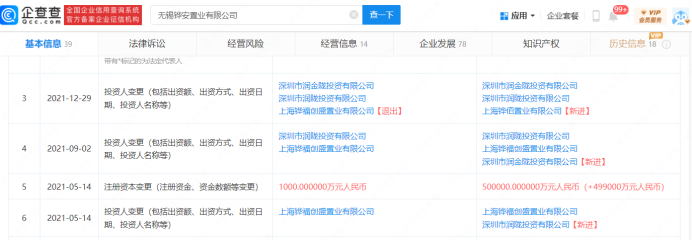
比如排在第一位的无锡铧安置业有限公司,去年9月时,华发股份曾发布过关于收购项目公司股权的公告,收的就是这家公司的股权。
华发股份通过子公司无锡铧利用直接和间接收购的方式拿下了无锡铧安共计40%股权,而无锡铧利的全资控股公司无锡铧佰直接持有无锡铧安60%股权,最终无锡铧安的100%股权被收拢到了无锡铧佰之下。

从表面上来看,这是完成了一次非关联交易式的资源整合,将全部股权收归到了一家公司之下,但是无锡铧佰是由海川地产控股的,也就是说,华发在这个项目公司的股权占比仅有50.2%。
那么之前呢?
翻阅无锡铧安的股权变更信息,在2021年5月之前,这个项目还是由上海铧福全资持有的,后来引入了润金陇和润陇投资,又在2021年12月将全部剩余股权转给了无锡铧佰。

润金陇和润陇投资此前都是“天润陇行”旗下子公司,天润陇行在参与无锡铧安股权并购前,刚刚将股权出质给了华发集团旗下的华金资产。
上海铧福则是华发股份的全资子公司。
几次操作下来,一来一回,一家净资产达到50.17亿元的项目公司就从华发股份全资控股的公司转入到了海川地产之下,而华发股份在无锡铧安的股权从原本的100%稀释到了50.2%。
类似的股权变动还有一些,部分项目股权被稀释了,或许也因此分摊掉了部分属于上市公司股东的利润。
当然这不一定是造成华发股份归母净利润下滑最核心的原因。
但无论是何种原因,对于股东来说,都需要更直观的利润作为交待。
未来,对于华发来说,核心或许是:尽量做大规模,以此保障足够的利润。
不过艳姐看了下,去年上半年时,华发的毛利率数据就已经出现了大幅的下滑,而其中,华南地区(珠海大区+华南大区)直接从一年前同期最高的37.17%下滑至18.91%,是唯一一个在营业收入下滑的情况下,业务成本还同比增加了不少的地区。

这或许也是这次华南地区面临架构重组的另一原因:
亟需在可以创造高额利润的地区,将利润再度提振上来,尤其是在2020年和2021年时,还创造了超40%毛利率的大本营珠海。

华发股份2021年报数据