
日前,苏州禾发房地产开发有限公司及其法人代表李兆荣的一则限消令引起了作者的注意。
这则由苏州市姑苏区法院下达的限消令,指向的苏州禾发房地产有限公司,其背后由上市公司华发股份100%持股,属于国资系的开发商。

据华发股份2022年年报显示,该公司系华发股份2022年5月份取得50%股权后达到全资控股,至今已近2年时间。
目前苏州禾发房地产尚有4条法院强制执行记录,均发生在2023年12月份之后,累计被执行金额约437万元。
这则华发股份子公司的限消令和多项被强制执行案件,让作者也不禁担忧起国资开发商的资金链来。
不过不查不知道,一查吓一跳。
华发股份不仅旗下子公司出现多起被强制执行案件、连带被限消等情况,甚至还出现了商票逾期、项目停工、应收账款展期等情况。

据上海票交所信息显示,华发股份旗下100%控股的全资子公司深圳融华置地投资有限公司至少自2023年3月31日起(目前票交所持续逾期名单只能查一年)就在商票持续逾期名单内。
据票交所网站的信息显示,深圳融华置地投资公司累计商票逾期1.56亿元,不过目前显示的商票逾期余额为0元。但该公司在今年3月份仍然上榜票交所的商票持续逾期名单,这背后商票逾期是否真的结清,或许也需要一个解释。
不过需要指出的是,深圳融华置地投资这家公司,华发股份此前只占49%的股权,是与融创合作开发融创深圳冰雪文旅城的项目公司,自从融创暴雷后,华发在2023年1月份接手了融创51%的股权。
但时至今日一年多时间,仍然未解决深圳融华置地投资公司的商票逾期问题,作为国资大股东的华发股份是否也有责任呢?毕竟目前他是该项目公司的唯一股东,子公司商票逾期,必然也会拖累母公司的资本市场信誉。
至于项目停工问题,则是来自于武汉的业主投诉。
据武汉通的业主投诉信息显示,华发越秀悦府项目在去年11月份处在停工状态,有业主2023年3月购房后一直到11月份,发现工地门口贴着停工通告,而合同交房日期为2024年6月30日,业主担心烂尾,希望政府部门解决。

作为责任单位的武汉市黄陂区住建局调查后发现,华发越秀悦府项目由武汉崇鸿裕业房地产公司开发建设,由于开发企业未及时支付工程款,导致该项目部分停工。经黄陂区住建局协调,开发企业于2023年11月15日复工。
该信息透露出两个信息,一个是停工原因是开发企业未及时支付工程款,二是虽然复工,但问题的根源即工程款是否支付到位尚不得而知,复工只是由于政府部门的协调。
华发越秀悦府项目背后的开发公司武汉崇鸿裕业公司,在工商信息上虽然华发和越秀分别只占15%的股权,其余为武汉其他国资持有,但华发股份在该项目上却有着绝对的话语权。

据华发股份2022年年报披露显示,武汉崇鸿裕业等多家公司,因“本公司分别在上述公司董事会中派有代表并参与对上述公司财务和经营政策的决策,能够对上述公司施加重大影响。”
换言之,武汉的华发越秀悦府项目大概率是华发股份在操盘,那么项目的工程款支付、项目的停复工,华发股份自然也是有重大责任的。
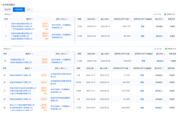
华发股份除了子公司陷入商票逾期、项目因工程款支付问题停工等问题之外,部分旗下公司还出现了应收账款逾期等情况。

据企业预警通的信息显示,自去年10月份以来,珠海华发新科技投资控股有限公司、珠海华发景龙建设有限公司、珠海华发数智技术有限公司等公司的应收账款融资出现了展期情况,金额大的2000多万,少的只有300多万。
上述这些公司的股权情况,如珠海华发景龙建设,工商信息穿透后显示华发股份是大股东;珠海华发数智技术有限公司则由华发股份几乎全资控股,而珠海华发新科技投资控股则是珠海华发数智的前名称。
华发股份2022年的年报显示,上述公司既属于华发股份旗下公司,也与华发有着大量的账款往来。而上述应收账款展期的信息则显示,华发股份旗下的公司的资金链状况显然不容乐观。
此外,值得注意的是,华发股份2023年每个月几乎都会发布经营简报,向外界介绍公司销售、拿地情况,而今年前两个月均未发布月度经营简报。
据2023年度生产经营情况公告显示,去年全年度华发新增了23个项目。而今年前2月,据克而瑞地产的信息统计,华发股份未进入拿地百强,拿地百强的入围线是拿地金额2.7亿元,换言之,今年前2月华发股份极有可能没有拿地。

值得一提的是,从2022年12月起就筹划的华发股份定增项目,一直到去年10月份才落地,最后居然出现认购不足,需要追加认购的情形。
公开信息显示:
“由于首轮申购结束后,投资者认购资金未达到本次发行拟募集资金总额、认购股数未达到拟发行股数,且有效认购家数不足 35 家,发行人及主承销商决定珠海华发实业股份有限公司向特定对象发行股票上市公告书9启动首轮追加认购程序。根据《发行与承销方案》,发行人及主承销商以确定的价格向投资者征询追加认购意向。”

通过追加认购后,终于达到拟发行股数。当时定增价格为8.07元每股。不过截至3月21日收盘价,华发股份股价仅为6.81元每股,相较定增价已经跌去15.6%。
还有不到1个月大部分的定增投资者即将迎来解禁,解禁即亏损,也难怪当初定增认购不积极了。
无论是商票逾期、应收账款展期,还是项目停工、定增发售不利,种种迹象表明,即便身为国资开发商的华发股份,高歌猛进的动作,碰上了持续下行的市场形势,其本身也难言乐观。
作者还需提醒市场的是,谨防华发股份年底的资产减值损失计提,从而影响上市公司2023年度的业绩。