华阳股份(600348)8月30日披露2024年半年度报告。2024年上半年,公司实现营业收入121.99亿元,同比下降20.85%;归母净利润12.99亿元,同比下降56.87%;扣非净利润12.15亿元,同比下降59.39%;经营活动产生的现金流量净额为1.4亿元,同比下降95.44%;报告期内,华阳股份基本每股收益为0.36元,加权平均净资产收益率为4.53%。


以8月29日收盘价计算,华阳股份目前市盈率(TTM)约为7.52倍,市净率(LF)约为0.87倍,市销率(TTM)约为1.03倍。

公司近年市盈率(TTM)、市净率(LF)、市销率(TTM)历史分位图如下所示:



根据半年报,公司第二季度实现营业总收入60.41亿元,同比下降14.11%,环比下降1.90%;归母净利润4.32亿元,同比下降66.41%,环比下降50.24%;扣非净利润4.35亿元,同比下降65.79%,环比下降44.20%。

分产品来看,2024年上半年公司主营业务中,洗末煤收入74.47亿元,同比下降24.68%,占营业收入的61.05%;洗块煤收入14.62亿元,同比下降35.22%,占营业收入的11.98%;供电收入9.82亿元,同比增长686.69%,占营业收入的8.05%。

2024年上半年,公司毛利率为31.95%,同比下降11.05个百分点;净利率为11.63%,较上年同期下降10.33个百分点。从单季度指标来看,2024年第二季度公司毛利率为31.77%,同比下降11.65个百分点,环比下降0.36个百分点;净利率为8.04%,较上年同期下降13.17个百分点,较上一季度下降7.12个百分点。

分产品看,洗末煤、洗块煤、供电2024年上半年毛利率分别为33.17%、57.25%、7.69%。

数据显示,2024年上半年公司加权平均净资产收益率为4.53%,较上年同期下降6.58个百分点;公司2024年上半年投入资本回报率为3.00%,较上年同期下降4.06个百分点。

2024年上半年,公司经营活动现金流净额为1.40亿元,同比下降95.44%;筹资活动现金流净额33.47亿元,同比增加59.63亿元;投资活动现金流净额-19.46亿元,上年同期为-16.92亿元。
进一步统计发现,2024年上半年公司自由现金流为3.80亿元,相比上年同期下降61.35%。

2024年上半年,公司营业收入现金比为109.19%,净现比为10.79%。

营运能力方面,2024年上半年,公司总资产周转率为0.17次,上年同期为0.22次(2023年上半年行业平均值为0.23次,公司位居同行业7/12);固定资产周转率为0.43次,上年同期为0.67次(2023年上半年行业平均值为0.69次,公司位居同行业7/12);公司应收账款周转率、存货周转率分别为6.20次、11.97次。

2024年上半年,公司期间费用为11.61亿元,较上年同期增加1.47亿元;期间费用率为9.51%,较上年同期上升2.93个百分点。其中,销售费用同比下降16.03%,管理费用同比下降3.22%,研发费用同比增长126.38%,财务费用同比增长23.29%。
资料显示,销售费用的变动主要因为折旧费、运输费、水电费等减少;管理费用的变动主要因为修理费等减少;财务费用的变动主要因为利息收入减少;研发费用的变动主要因为报告期内公司研发项目投入增加。

资产重大变化方面,截至2024年上半年末,公司固定资产较上年末减少2.66%,占公司总资产比重下降2.40个百分点;在建工程较上年末增加14.51%,占公司总资产比重上升1.60个百分点;货币资金较上年末增加10.18%,占公司总资产比重上升1.30个百分点;无形资产较上年末减少0.90%,占公司总资产比重下降0.38个百分点。

负债重大变化方面,截至2024年上半年末,公司其他应付款(含利息和股利)较上年末增加157.89%,占公司总资产比重上升3.40个百分点;一年内到期的非流动负债较上年末减少44.42%,占公司总资产比重下降3.45个百分点;长期借款较上年末增加20.60%,占公司总资产比重上升2.55个百分点;应付账款较上年末减少12.79%,占公司总资产比重下降2.13个百分点。

从存货变动来看,截至2024年上半年末,公司存货账面价值为7.1亿元,占净资产的2.38%,较上年末增加3329.48万元。其中,存货跌价准备为5.45万元,计提比例为0.01%。

在偿债能力方面,公司2024年上半年末资产负债率为53.66%,相比上年末下降1.40个百分点;有息资产负债率为26.77%,相比上年末基本持平。

2024年上半年,公司流动比率为0.82,速动比率为0.79。

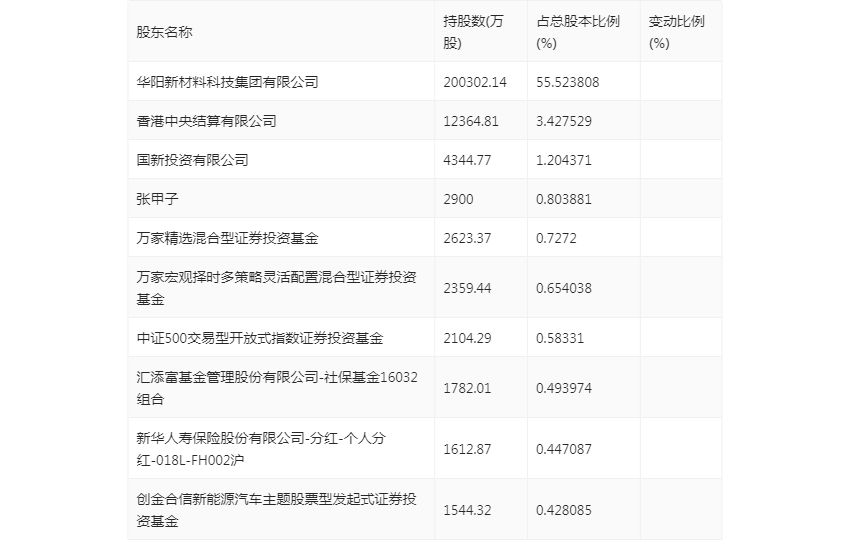
半年报显示,2024年上半年末公司十大流通股东中,新进股东为国新投资有限公司、汇添富基金管理股份有限公司-社保基金16032组合、新华人寿保险股份有限公司-分红-个人分红-018L-FH002沪,取代了一季度末的全国社保基金四一一组合、万家新利灵活配置混合型证券投资基金、国泰中证煤炭交易型开放式指数证券投资基金。在具体持股比例上,香港中央结算有限公司、张甲子、万家精选混合型证券投资基金、中证500交易型开放式指数证券投资基金、创金合信新能源汽车主题股票型发起式证券投资基金持股有所上升,万家宏观择时多策略灵活配置混合型证券投资基金持股有所下降。

筹码集中度方面,截至2024年上半年末,公司股东总户数为8.42万户,较一季度末下降了1.8万户,降幅17.62%;户均持股市值由一季度末的33.09万元上升至42.65万元,增幅为28.89%。

指标注解:
市盈率
=总市值/净利润。当公司亏损时市盈率为负,此时用市盈率估值没有实际意义,往往用市净率或市销率做参考。
市净率
=总市值/净资产。市净率估值法多用于盈利波动较大而净资产相对稳定的公司。
市销率
=总市值/营业收入。市销率估值法通常用于亏损或微利的成长型公司。
文中市盈率和市销率采用TTM方式,即以截至最近一期财报(含预报)12个月的数据计算。市净率采用LF方式,即以最近一期财报数据计算。
市盈率为负时,不显示当期分位数,会导致折线图中断。