联环药业突然成了资本市场宠儿,近日连续创下几个涨停板,7月还没过半,股价已经大幅涨超60%!
要知道就在5月份联环药业还因为触及违反《反垄断法》被罚没6104万元。市场的阴霾还没消散就迎来了股价暴涨,实在是令人看不懂。
即便从基本面上分析,联环药业的财务状况也很不理想,业绩方面该公司归母净利润已经连续两年下滑,2024年更是录得营收、利润双降,第四季度出现亏损;
公司的存货、应收账款规模创下新高,大量占款也导致该公司现金流紧张,一方面手中的在手现金不断减少、经营性现金流净额恶化;
另一方面,联环药业的资产负债率不断攀升,特别是短期借款规模创下新高,上市公司短债压力激增,在手现金已经连续多年覆盖不了短期债务。
无论是业绩数据、经营数据、债务数据,都出现了恶化的势头,这种情况下的股价飙升,是资本市场的一时炒作还是长期价值投资,恐怕要交给时间来判断。
1
营收利润双降四季度出现亏损,盈利能力下滑资产负债率新高
年报数据显示,2022年至2024年,联环药业的营收分别为19.55亿、21.74亿、21.6亿,同比分别增加18.8%、11.2%、-0.63%,整体营收增速出现下滑甚至负增长;
归母净利润方面更是两连降,2022年至2024年联环药业的归母净利润分别为1.41亿、1.35亿、0.84亿,同比分别增长18.96%、-4.5%、-37.7%。

到了今年一季度,营收虽然同比有所增加至6.28亿,但归母净利润同比大幅下滑了29.15%,仅有2306万元。
如果将2024年各季度的业绩拆开来看,联环药业在2024年第四季度直接出现亏损。

数据显示,2024年第四季度,联环药业单季度营收5.16亿,归母净利润亏损853.9万元!这在该公司业绩史上10多年来第一次出现单季度亏损。
与业绩下滑对应的,是联环药业的盈利能力。据财报数据显示,2021年至2024年,联环药业的销售毛利率分别为54.64%、53.35%、48.14%、49.37%,整体呈下滑趋势,至今年一季度,毛利率继续暴跌至41.%。

至于净利润率更是下滑了,2021年至2024年,净利润率分别为8.5%、8.51%、6.96%、4.93%,今年一季度继续下探至4.36%。
与业绩下滑形成鲜明对比的,是联环药业的资产负债率。
财报数据显示,2021年至2024年,联环药业的资产负债率分别为45.6%、47.93%、46.87%、47.77%,整体上上行,到了今年一季度末,资产负债率推高至50.71%,创下上市以来新高。
2
存货、应收账款创新高致流动性紧张,现金流减少在手现金难覆短债
联环药业资产负债率逐年走高,很大一个因素还是在于该公司的存货规模、应收账款规模不断创下新高,挤占了企业的流动性,企业的在手现金、经营性现金流净额等现金指标恶化,不得不通过外部融资来补充流动性。

年报数据显示,2021年至2024年,联环药业的应收账款及应收票据规模不断走高,分别为3.86亿、4.89亿、4.89亿、5.39亿,到了今年一季度,继续增至5.81亿;
同期,联环药业的存货货值也不断创下新高,2021年至2024年存货分别为2亿、2.8亿、3.15亿、4.39亿,今年一季度继续增至5.74亿。
屡创新高的存货货值和应收账款规模,不仅挤占了企业太多流动性,而且还造成了较大规模的减值损失风险,如存货的跌价减值、应收账款的呆坏账风险等,在公司每年的年报中对这两项均有所计提。
现金流方面的恶化就显而易见了,2021年至2024年联环药业的在手货币资金分别为3.3亿、3.3亿、2.8亿、2.27亿,逐年减少。

而同期一年内到期的短期债务分别为4.58亿、5.88亿、6.23亿、7.97亿,连续多年在手现金难以覆盖短期债务,且现金短债比逐年降低,现金缺口进一步加剧。
短期债务逐年走高的同时,长期债务规模同样走高,至2024年底达到8000万元。
到了今年一季度末,联环药业的债务问题更加突出,一年内到期的短期债务规模激增到8.77亿、长期借款激增到3.1亿元。
而现金短债比则进一步恶化到0.3!可见联环药业的现金缺口之大。
那么依靠经营性现金来“回血”呢?恐怕也很难靠得住。
年报数据显示,2021年至2024年,联环药业的经营性现金流净额分别为1.38亿、1.28亿、1.6亿、0.11亿,整体来看逐年下滑,到了2025年一季度,经营性现金流净流出5309万元,进一步呈恶化态势。

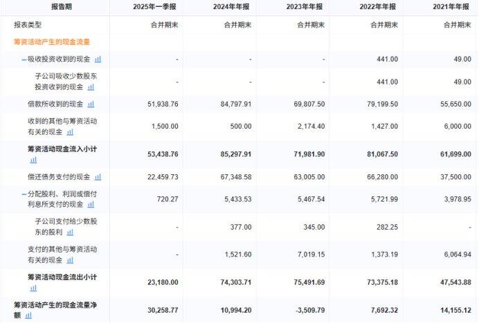
经营业绩难有起色,现金减少而大量短期债务压顶,而依靠自身造血的经营性现金流来缓解流动性紧张问题似乎也难有指望,联环药业只好寻求外部融资补血。
从年报数据来看,2021年至2024年联环药业借款所收到的现金分别是5.57亿、7.92亿、6.98亿、8.48亿,整体来说呈现增长态势,仅今年一季度借款收到的现金就高达5.2亿元。
综上来看,联环药业在目前业绩难有突破,存货和应收账款创下新高,而背后又是逐步推高的有息债务的形势之下,可以说是陷入了发展的泥潭,如何突破呢?恐怕是这家老牌国有药企要深度思考的问题了。