近日,天士力医药研发管线迎新进展:中药1类新药九味化斑丸、生物药1类新药B1344注射液接连获批临床。作为现代中药国际化企业,天士力医药在心脑血管、神经系统等领域主导地位突出。近年来,公司持续加大研发投入,2022H1研发费用同比增长81.66%,领跑A股其他上市中药企业。天士力医药坚持创新药研发及大品种二次开发,通过“四位一体”的研发模式,目前在研产品90余款,其中45款为1类新药。
多个独家品种稳步增长,两大品类霸主地位难撼
作为一家现代中药国际化企业,天士力医药围绕心脑血管、消化代谢、肿瘤三大领域打造丰富产品组合,形成了现代中药、生物药、化学药协同发展的产业格局。
天士力医药在现代中药的领军地位突出。米内网数据显示,近年来在中国城市公立医院、县级公立医院、城市社区中心以及乡镇卫生院(简称中国公立医疗机构)终端心脑血管中成药及神经系统中成药厂家竞争格局中,天士力医药始终“名列前茅”。
心脑血管中成药复方丹参滴丸(独家剂型、基药、医保甲类)为天士力医药核心产品,2022上半年在中国公立医疗机构终端的销售额超过15亿元,在心脑血管中成药品牌排名中稳居首位;而在中国城市实体药店终端,预计2022年该产品的销售额将进一步得到提升。
芪参益气滴丸(独家品种、基药、医保乙类)是天士力医药在心脑血管领域的另一款核心产品,近年来在中国公立医疗机构终端的销售规模持续扩容,且增速均达两位数,市场潜力巨大。
近年来中国公立医疗机构终端芪参益气滴丸销售情况(单位:万元)

来源:米内网中国公立医疗机构终端竞争格局
在心脑血管领域,天士力医药还拥有注射用益气复脉、注射用丹参多酚酸等二线品种。在中药注射剂整体市场“跌跌不休”的形势下,注射用益气复脉(冻干)近年来在中国公立医疗机构终端的销售额仍稳步上涨,且增速均达两位数。
近年来中国公立医疗机构终端注射用益气复脉(冻干)销售情况(单位:万元)

来源:米内网中国公立医疗机构终端竞争格局
促进脑部健康的养血清脑颗粒(丸)为天士力医药独家品种,是最新版全国医保甲类、全国基药、OTC甲类品种,2022H1在中国公立医疗机构终端的销售额超过5亿元,在神经系统中成药产品及品牌竞争格局中,养血清脑颗粒连续多年稳居首位。
在消化系统及代谢领域,水林佳?(水飞蓟宾胶囊)为天士力医药独家品种,是最新版全国医保乙类品种。该品种2022H1在中国公立医疗机构终端的销售额超过3亿元,在肝病化药(含抗脂肪肝药)中的产品及品牌排名中进一步提升。
研发投入屡创新高,多款新品快速放量
近年来,天士力医药持续加大研发投入,支持公司的项目研发和创新力度。据公司公告,2022上半年天士力医药研发费用4.66亿元,比去年同期增长81.66%,占营业收入比重11.61%。据统计,A股上市的73家中药企业2022上半年研发费用合计超过40亿元,天士力医药排在首位。
2020-2022年同期天士力医药研发费用(单位:亿元)

来源:公司公告
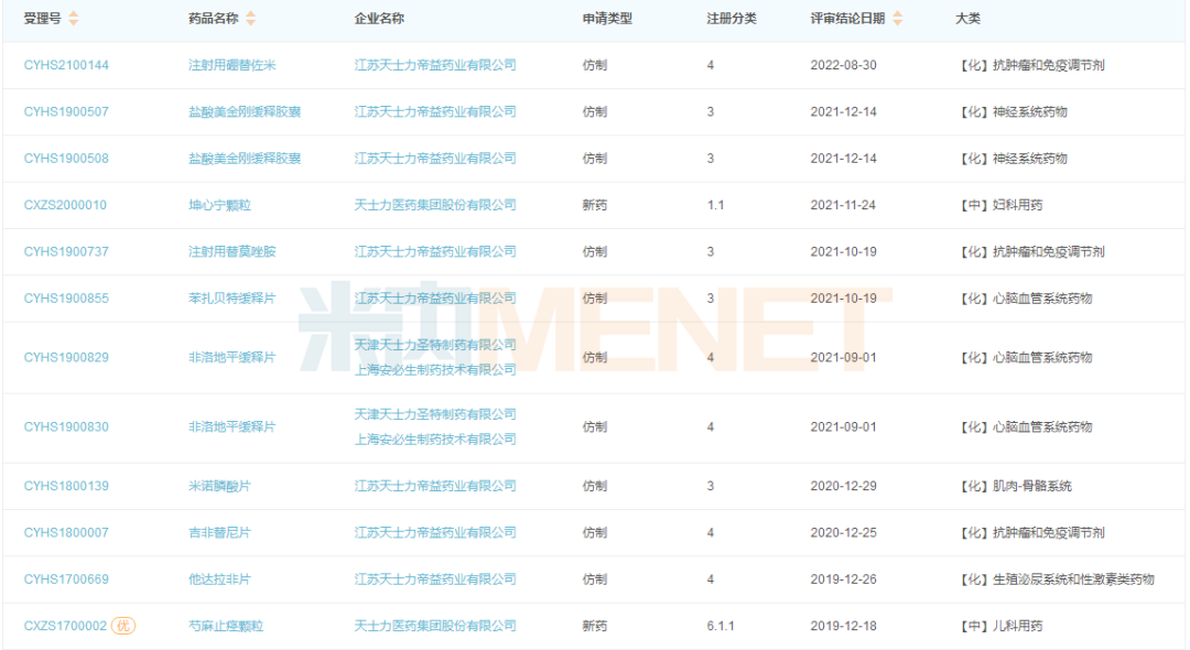
在高强度的研发投入支持下,2019年至今,天士力医药有10个品种获批生产,集中在抗肿瘤和免疫调节剂、心脑血管疾病用药等领域,其中有2款为中药新药(按新注册管理法均为1.1类新药),聚焦在妇科及儿科高潜力赛道;8款仿制药获批生产并视同过评,其中苯扎贝特缓释片、米诺膦酸片为首仿。
2019年至今天士力医药新获批上市品种

来源:米内网新版数据库
2款中药新药中,2019年底获批上市的芍麻止痉颗粒为古代经典名方中药复方制剂,具有平抑肝阳、息风止痉、清火豁痰的功效,适用于小儿多动症,目前已通过谈判纳入全国医保目录。米内网数据显示,该产品2022H1在中国公立医疗机构终端的销售额增速超过800%。
8款仿制药中,2019年底获批上市的他达拉非片是一款磷酸二酯酶5型抑制剂,用于治疗男性的勃起功能障碍。米内网数据显示,天士力医药的他达拉非片上市后快速放量,2021年在中国城市实体药店终端的销售额首次突破1亿元,同比增长超过1000%,2022年有望突破3亿元。
近年来中国城市实体药店终端天士力医药的他达拉非片销售情况(单位:万元)

来源:米内网中国城市实体药店终端竞争格局
90余款在研产品亮眼,这些新药上市可期
天士力医药从上市之初就制定了以现代中药为核心,协同生物药、化学药为两翼的国际化发展战略。通过“四位一体”的研发模式,目前公司已布局了超90款在研产品,包括中成药20余款、生物药10余款、化学药40余款等。
在大产品的二次开发上,复方丹参滴丸及注射用重组人尿激酶原的新适应症均已步入III期临床,分别用于预防和治疗急进高原期间急性高原反应、急性缺血性脑卒中;养血清脑丸、芪参益气滴丸新适应症均已步入II期临床,分别用于轻中度阿尔茨海默病、射血分数保留性慢性心力衰竭。
天士力医药已上市新药二次开发情况

来源:米内网中国药品临床试验公示库
在创新药研发上,米内网数据显示,目前天士力医药已有超20款新药(不含原料药及预防用生物制品)处于申请临床及以上阶段。
天士力医药国内部分在研新药


来源:米内网中国药品临床试验公示库
现代中药方面,醒脑滴丸(血管性痴呆)、安神滴丸(失眠症)均已步入III期临床;中风回语颗粒(缺血性脑卒中)、肠康颗粒(腹泻型肠易激综合征)、连夏消痞颗粒(功能性消化不良)等多款创新中药处于II期临床。
化学药方面,1类新药TSL-1502胶囊(PARP抑制剂)已步入II期临床,用于治疗乳腺癌;生物药方面,1类新药重组全人源抗EGFR单克隆抗体注射液(EGFR单抗)已步入II期临床,此外,B1962注射液获批临床,国内暂无靶向PD-L1及VEGFR的双抗获批。
结语
在夯实中药龙头地位的同时,天士力医药通过自身强劲的研发实力,加大创新药研发及大品种二次开发,构建属于自身的丰富产品矩阵。得益于核心品种及二线品种销售额稳健增长,以及新药陆续获批并实现商业化,天士力医药未来可期。