财联社6月19日讯(记者徐学成章永)日前,中国软件(600536.SH)在时隔近一年时间后重启了对贵州易鲸捷项目的投资。但令人不解,对困于贵州、对大客户严重依赖、持续盈利能力存疑的贵州易鲸捷,中国软件却给予了高达近18倍的溢价。
根据贵州易鲸捷一位内部人士透露的信息,一位名叫“康莉”的人“深度参与”了这桩投资,交易背后或许亦存在利益输送嫌疑。财联社记者连日来调查发现,“康莉”与多家“中电系”公司关系匪浅,且此次对贵州易鲸捷投资的主体——中软金投亦属康莉的关联方。此外,贵州易鲸捷主打的技术“国产替代”概念也备受质疑。这笔高溢价交易背后究竟有何隐情?
增值率近18倍标的“成色”几何?
4月19日,中国软件公告公司拟采取直接投资+通过拟新设的控股子企业中软金投投资的方式,以22.91元/每1元注册资本的价格,合计出资不超过3.89 亿元(按权益计算,中国软件实际出资不超过18192.13万元)认购参股公司易鲸捷新增最多1697.23万元注册资本。
根据中瑞世联资产评估集团的评估报告,以 2021年6月30日为评估基准日,权益法下易鲸捷的评估价值为17.78亿元(24.24元/每1元注册资本),评估值较账面值的增值率高达1788.87%。
贵州易鲸捷到底是怎么样的优质资产,值得投资方付出近18倍的高溢价?
根据贵州易鲸捷官网的介绍,公司创立于2015年,是“国内极少拥有自主核心技术的数据库厂商”,研发团队源自天腾公司,“具有30年的技术沉淀”。其核心产品是“全球最早推出的下一代融合型分布式数据库”。
但根据中天运4月28日出具的审计报告,截至2022年3月31日,贵州易鲸捷应收账款及应收票据占总资产的比重高达约74%,如若加上其他应收款金额,那么这个比例将攀升至约84%。
此外,公司货币资金金额仅余707.3万元,短期借款(一般核算1年内(含1年)的各种借款)高达3500万元,较期初的1500万元大幅增长,资金缺口严重。

(贵州易鲸捷财务数据来源:中国软件与技术服务股份有限公司对外投资关联交易公告)
收入方面,贵州易鲸捷2021年收入较2020年大幅下滑约37%至1.45亿元,净利润更是由上年的4550.41万元下滑至317.71万元。
公告对此解释称,由于易鲸捷打造了2套解决方案,应用上也适配了两套应用系统,项目时间拉长,导致部分收入未确认在 2021年,导致 12 月大幅亏损,并造成 2021 年收入及利润均大幅下降。根据公告,上述项目所指主要包括了贵阳银行核心业务系统易鲸捷数据库应用项目。
可以看出,贵阳银行项目对于贵州易鲸捷来说是重中之重,其收入确认节奏直接影响到公司的整体收入水平。
而这,也折射出了贵州易鲸捷过度依赖单一客户、持续盈利能力存疑的问题。
事实上,作为初创公司的贵州易鲸捷,在2015年成立之后的几年中经营可谓相当“惨淡”。2016年到2018年,公司营业收入(母公司口径)分别为29.13万元、228.58万元和1501.13万元;净利润(母公司口径)分别为-59.88万元、-185.98万元和401.66万元,直到2019年,公司营业收入才出现了跨越式增长。


(来源:2021年1月资产评估报告)
其业绩“跨越式增长”的原因,正是在于贵州易鲸捷在2019年首次获得了贵阳农商银行和贵阳银行订单。其项目全称分别为“贵阳银行易鲸捷国产数据库建设核心业务沙箱测试系统项目”和“贵阳农商银行易鲸捷国产数据库应用试点采购项目”,两项目合计中标金额约1.6亿元。
前述贵州易鲸捷内部人士告诉记者,“沙箱”不是银行的正式数据库,而一个模拟真实环境的数据库。而2020年10月,贵州易鲸捷中标的4.26亿贵阳银行国产数据库应用项目,才是贵阳银行真正要替代旧库、作为主库的数据库项目。
值得注意的是,因前期已经采购了易鲸捷数据库,4.26亿贵阳银行核心业务系统易鲸捷国产数据库应用项目采用单一采购源的方式。换句话说,贵阳银行的上述项目事实上只有贵州易鲸捷一家供应商可选择。

(来源:贵州省招标投标公共服务平台)

更为关键的是,在贵阳银行、贵阳农商行之后,贵州易鲸捷后续却再没有获得同体量的其他客户。上述内部人士告诉记者:“从2019年到现在,贵州易鲸捷的重大客户有且只有这两个。”
实际上,从商业逻辑来看,初创企业前期发展中依赖大客户的情况并不罕见。但能否在此基础上实现市场开拓的突破,则是影响公司能否可持续发展的关键问题。如果拓客不顺利,将直接影响公司的持续经营能力,其未来的价值也会大打折扣。
康莉是谁?内部人士曝隐情
对于中国软件而言,标的贵州易鲸捷的问题不少,尤其是后续的市场拓展、持续盈利能力仍存在较大的未知数。在这样的背景下,中国软件为何仍选择以近18倍的溢价再次投资贵州易鲸捷?
中国软件在2021年5月时首次投资时公开表示,主要是根据公司总体发展战略和业务经营的需要。2022年4月决定再投资时,中国软件则表示,本次交易是“为了满足公司总体发展战略和业务经营需要,推进公司在分布式数据库及国产金融核心交易系统的业务布局,为后期推进公司行业网信业务的布局奠定基础”。
但显然,从贵州易鲸捷目前的业务经营情况来看,其是否能助力中国软件达成上述目标还是未知数。财联社记者也就此向中国软件致函,但截至发稿尚未获得回复。
不过,根据前述贵州易鲸捷内部人士透露的信息,中国软件投资贵州易鲸捷离不开一个叫“康莉”的人的推动。
该人士透露,康莉是中国电子信息产业集团有限公司的员工,“深度参与”了中国软件投资贵州易鲸捷的项目,并在这起投资中担任融资顾问。其提供的一份录音显示,一位女子称:“你们把它弄完,弄完后我们公司派一个顾问或者董事到你们这儿……这事做成以后,你以董事的身份给我发员工股。我拿的干干净净,利利落落。而且中电也高兴,因为你康莉(音)还在支持着这个公司。”
该人士表示,录音中说话的女子正是康莉。
记者就这一情况致电康莉,但电话打通后便被挂断。随后记者将问题以短信的方式发往其手机,但截至发稿尚未获得回复。因而截至目前,上述内部人士所透露的信息未能得到证实。但公开资料显示,康莉确与“中电系”联系密切且将参与中国软件对贵州易鲸捷的下一步投资。


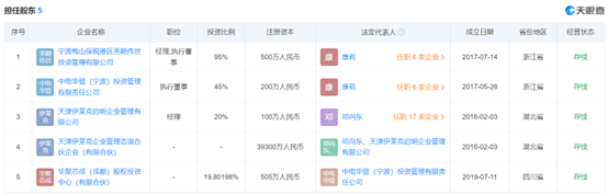
天眼查显示,在康莉担任股东和高管的企业中,多个公司带有“中电”字样。在其占股20%的天津伊莱克启明企业管理有限公司中,邓向东占股60%,而邓向东正是中国电子投资控股有限公司的法定代表人。
中国电子投资控股有限公司占股29.9%的大股东则是中国电子信息产业集团有限公司。资料显示,中国软件的控股股东是中国电子有限公司,中国电子有限公司也是中国电子信息产业集团有限公司的子公司。
换句话说,中国电子信息产业集团有限公司是中国软件控股股东的股东。
此外,根据中国软件公告,公司拟采取直接投资+通过拟新设的控股子企业中软金投投资的方式认购贵州易鲸捷,中软金投则是由中国软件子公司中软金投管理、关联方金信软件和其他方华航创科共同投资。
通过股权穿透可知,华航创科股东包括天津圣翱创新投资管理合伙企业(有限合伙),而康莉通过宁波梅山保税港区圣翱伟世投资管理有限公司成为天津圣翱创新投资管理合伙企业(有限合伙)的股东。
不过,如果投资贵州易鲸捷并非是个好项目,那么康莉为何要用自己的资金参与其中?前述内部人士告诉记者,贵州易鲸捷主打国产化替代概念,在外界不清楚贵州易鲸捷真实质地的情况下,一旦贵州易鲸捷被中国软件继续投资。即便现在投资时的溢价不低,但未来仍会有巨大增值空间。
第一是通过担当FA获得股权报酬,第二是通过直接投资获取未来增值,这是康莉推动中国软件投资贵州易鲸捷的利益动机,该人士认为。
拿来主义?“国产替代”概念遭疑
显然,如果不是上市公司的投资,业务主要限于贵州的贵州易鲸捷或许很难在资本市场获得如此高的关注度。但蹊跷的是,在中国软件再次投资的公告披露之后,尤其是各方质疑汹涌袭来之时,关于贵州易鲸捷技术优势的“利好消息”却忽然间多了起来。
财联社记者注意到,近期,关于贵州易鲸捷从美国商务专利局获得“混合乐观锁和悲观锁的数据库事务并发控制”发明专利证书的报道在网络上广为传播。报道称,这项技术“攻克了全球分布式数据库领域最难解决的业内难题之一”。
但前述内部人士却不以为然。他透露,贵州易鲸捷所谓的“国产数据库”实际是以公司前董事长李为冲为代表的美国易鲸捷技术团队主导研发的。2019年底,美国易鲸捷团队与贵州易鲸捷发生“冲突”。2020年2月,美国易鲸捷通过切断VPN的方式阻止贵州易鲸捷使用其知识产权,同时导致贵阳银行业务受到影响。后由于贵州易鲸捷自己提前备份了源代码,取得博弈优势,才在利益补偿的前提下拿到了美国易鲸捷的知识产权。而在贵州易鲸捷第一次承接两家银行项目时,有两个专利还处于授权状态。
记者还就“2020年2月美国易鲸捷切断VPN导致贵阳银行业务受影响”一事采访了贵阳银行一位杨姓知情人士,但他表示“没有这个事情”,“我不知道这个事情,贵州易鲸捷在给我们服务的过程中没有出现过这个事情”。
不过,在说明了上述情况后,杨随即又要求记者直接联系贵阳银行、通过官方渠道获取采访信息,并表示“以上回答是非正式的,不能为准”。
财联社记者后续又联系了贵州易鲸捷另一朱姓董事会成员,他表示,“好像是有这个事,但细节不清楚。”

(贵州易鲸捷专利情况来源:天眼查)
前述易鲸捷内部人士则认为,贵州易鲸捷的技术由美国团队开发,不仅不是国产化,也谈不上自主可控。
无独有偶,对于贵州易鲸捷技术的质疑也出现在贵州易鲸捷投资人刘诗源口中。
在中国经营报2021年10月24日刊发的报道《股权交易疑涉“阴阳合同”易鲸捷董事长被举报迷雾》中,刘诗源表示:上海易鲸捷和美国易鲸捷在易鲸捷体系下一体化管理,共享知识产权、技术支持和售后服务。共享并不代表具有完全自主可控知识产权,只是美国易鲸捷授权给易鲸捷使用。
“易鲸捷通过拿来主义把完全属于美国团队开发的技术备份盗窃过来,这对银行可能会造成很大危险。”刘如此表示。
关于贵州易鲸捷所谓的技术“国产化”替代,还有一个细节值得关注。在此前披露的针对贵州易鲸捷的相关评估报告中,评估机构曾有过“贵阳银行核心交易主库全面替换项目计划于明年(2021年)上半年正式上线”的明确表述,并称“这将是中国第一套全国产化银行核心交易系统应用的解决方案,计划经由金融行业主管部门树立成为金融领域的标杆,在全国范围内实现快速推广”。
但前述贵州易鲸捷内部人士却透露,该项目截至目前仍未上线。
5月13日,贵阳银行在业绩说明会上透露的信息也印证了这一说法:目前项目已经完成了新核心业务系统联机交易与批量交易开发、新柜面综合业务系统与新核心业务系统的交易联调等工作,目前项目进入测试阶段。
(编辑:曹婧晨)