11月15日,老牌光伏上市企业亿晶光电(600537)举行了2022第三季度业绩说明会,总经理唐骏、董事刘强、董秘张婷、独董谢永勇列席,介绍了2022年三季度业绩和未来发展规划。
在光伏行业景气度空前提升和人事“换血”的情况下,亿晶光电这次交出的答卷未再令外界失望。
光伏景气度提升,亿晶扭亏为盈
2022年前三季度,公司实现营收57.92亿元,同比上升113.84%,归母净利4799.74万元,同比上升124.09%,摆脱了连续3年巨亏的噩梦。

此前,亿晶光电2019年、2020年及2021年归母净利润分别亏损3.03亿元、6.52亿元和6.03亿,扣非净利润分别亏损2.91亿元、7.9亿元和3.74亿元。最近三年,亿晶光电亏掉15.58亿元。
“双碳”战略提升光伏组件需求,带动了亿晶光电利润上升。
国家能源局公布,2022年前10月,我国光伏新增装机已达5824万千瓦,超过了2021年全年新增5488万千瓦水平。

在光伏组件需求爆增背景下,光伏组件企业普遍业绩飘红。2022年三季报,隆基绿能、天合光能、晶科能源、晶澳科技和东方日升均实现了40%的以上的营收、净利增幅。其中,晶科能源2022三季报营收、净利同比增幅都在3位数以上,天合光能、晶澳科技和东方日升净利增幅亦在3位数以上。

同时,隆基绿能、天合光能、晶科能源和晶澳科技分别实现了30GW+、28.79 GW、28.5 GW和27.10 GW的组件出货量。
相对于全球组件CR4的出货量,亿晶光电的体量还是小一些。2022年1-9月,其组件销量为3127MW,即3.127GW,实现营收53.70亿元,在总营收中占比达92.71%。
亿晶光电表示,公司积极开拓太阳能光伏组件市场,特别是国外市场,市场组件销售价格回升,组件毛利率同比增长,加之新电池组件产线投入使用后,产量增加,产能利用率及产品能率均有所提升等。
据介绍,2022年1-9月,亿晶光电国内出货量占比约为58%,国际出货量占比为42%。
证券虚假陈述风波
洗尽组件隐裂、代工诉讼、证券虚假陈述案的“铅华”,经过荀氏家族出局、管理层“换血”动荡后,“沉沦”多年的亿晶光电开始重焕曦光。
相对于隆基绿能、晶澳科技、天合光能、晶科能源、东方日升等组件热门股,亿晶光电曾有着辉煌的过往和良好的开端。2009年,亿晶光电以资产置换和定增的方式注入上市公司海通食品,2011年底正式完成借壳,成为两市的“光伏组件第一股”,比当时专搞硅片的隆基绿能还要早。当年,凭着光伏概念,亿晶光电从8.13元一路涨到60.42元的历史新高。
不过,这种美景未能持续太久。此后,欧美光伏“双反”政策出台,产业陷入低谷,亿晶光电也很快被打回原形。当时,荀建华与海通食品签下的高额利润对赌协议让亿晶光电背下了沉重包袱,公司不得通过变更利润补偿方式、股权押质、转让股份等途径来筹钱。
这让刚圆了上市梦没几年的荀建华一度发出“上市上市,上到倾家荡产”的感叹。
雪上加霜的是,在荀建华寻找“白衣骑士”救主过程中,慌不择路下的“骚操作”让亿晶光电再深陷各式诉讼泥淖。
首先是虚假证券陈述。
事情是这样,2017年,荀建华准备把20%的股份转让给深圳勤诚达投资,涉及到上市公司控制权的改变。按照规定,这么大的事儿必须信披充分。然而,双方玩起了“捉迷藏”、“躲猫猫”,遮掩这次控制权变动。结果,荀建华和勤诚达投资双双遭到宁波证监局的处罚。亿晶光电还为此摊上了投资者索赔。
公告显示,截至2020年12月14日,亿晶光电共收到1424起诉讼案件材料,涉诉金额超过1.3亿元。
打开亿晶光电工商信息界面,有点儿触目惊心,其2021年要打的证券虚假陈述责任纠纷案有100起。
组件隐裂、代工纠纷
除了信披违规相关诉讼案之外,亿晶光电旗下子公司常州亿晶光电科技有限公司(简称:“常州亿晶”)还卷入了光伏组件隐裂、代工风波。
开庭公告显示,2021年3月4日,“杨某某”起诉常州亿晶的加工合同纠纷案在常州市金坛区人民法院第八法庭开庭。这桩案件曝出,原来作为“光伏组件第一股”,常州亿晶的光伏组件生产早年曾委托给江苏某新材料科技有限公司代工。
虽然组件代工在业内并不稀奇,我国的光伏产业正是由做组件代工发展起来的,但是“转包”后如何保障品控是一个问题。
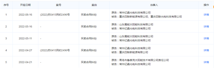
在这起代工纠纷案之上,“开庭公告”显示,常州亿晶还面临着青岛布鲁泰克太阳能技术有限公司责任公司(简称“布鲁泰克”)、山西丝路电力工程有限公司(简称“丝路电力”)、山东嘉能太阳能科技有限公司(简称“嘉能太阳能”)的买卖合同纠纷案,且均为被告,开庭日期分别为2022年4月21日、2021年4月21日和2022年5月16日。当然,常州亿晶2022年也有作为原告的买卖合同纠纷,被诉对象是重庆四联新能源有限公司、重庆四联光电科技有限公司,开庭日期为2022年8月16日。


值得注意的是,在上述3起被诉案件中,布鲁泰克和丝路电力均由光伏组件隐裂为由对常州亿晶提起诉讼,前者要求判令赔偿240万元,后者进行了诉前财产保全,常州亿晶750万元的存款或相应价值的财产被冻结。
2020年4月14日,亿晶光电发布关于诉讼进展暨收到撤诉裁定的公告称,原告布鲁泰克已于2020年3月2日向烟台市牟平区人民法院提出撤诉申请。一份裁判文书显示,2022年4月20日,原告布鲁泰克撤诉。
另一份2020年10月17日发布的裁判文书显示,常州亿晶被判令于丝路电力先予返还存在隐裂和虚焊的光伏组件4238块后十日内返还原告货款3737916元。
接连不断诉讼案和“易主”风波,令亿晶光电在2020-2021年光伏大牛市中一直处于低位宽幅震荡,涨幅严重滞后于光伏板块。
高层“换血”
2022年1月24日,亿晶光电聘任唐骏担任公司总经理、董事。
唐骏有显赫的光伏从业背景,生于1967年的他,拥有华中科技大学、浙江大学的双硕士学历。他曾任镇江荣德新能源科技有限公司总裁、扬州荣德新能源科技有限公司总裁、无锡尚德太阳能科技有限公司总裁、尚德新能源投资控股有限公司总裁。
此外,唐骏,曾建立中国第一条多晶硅片生产线,主持过多项国家科技攻关课题,为中国可再生能源学会光伏专业委员会副主任。
2022年2月8日,亿晶光电又选举杨庆忠担任公司第七届董事会董事长。
华耀另起炉灶
与此同时,荀建华家族在2017年与勤诚达投资达成股份转让协议后逐渐淡出亿晶光电管理层。
2017年5月9日,荀建华辞去亿晶光电董事长兼总经理职位。2019年5月31日,荀耀辞去公司董事长一职。2021年7月23日,荀耀辞去亿晶光电董事职务,不在公司担任任何职务。
2019年6月24日,亿晶光电的控股权交割大会在常州金坛举行。原控股方荀建华、新控股方勤诚达董事局主席古耀明以及亿晶光电所有管理人员悉数到场。
2021年7月9日,亿晶光电发布公告,合计持股11.34%的股东荀建华及其一致行动人荀建平(弟弟)、姚志中(妻弟),计划6个月内通过集中竞价、大宗交易和/或协议转让方式,减持公司股份合计不超过1.33亿股,即不超过公司总股本的11.34%。
逐出退出亿晶光电后,荀建华家族并未离开光伏行业,而是创立了华耀光电。
官网显示,华耀光电专业从事太阳能光伏研发设计、制造生产和系统建设;目前占地约250亩,现有员工1500人。
2022年8月8日,华耀光电与呼和浩特经济技术开发区管委会举行了10GW光伏N型电池片生产项目签约仪式。
抛出百亿扩产计划
就在华耀光电10GW项目签约后不久,亿晶光电再一次高调出现在了公众视野。

2022年9月1日,知名情感博主、网红经济学家任泽平团队一行莅临亿晶光电参观调研,并在微博上深情发声:“晨跑三公里,两百个俯卧撑。坚持做长期正确的事,正心正念,在常州继续调研新能源产业链,当下不投新能源,就像20年前没买房”。
9月21日下午,亿晶光电与全椒县人民政府在滁州举行了“年产10GWN型高效TOPCon光伏电池、10GW光伏切片、10GW光伏组件”项目签约仪式。

显然,“双碳”战略给光伏行业带来的机遇,令亿晶光电对未来充满信心。在业绩说明会上,亿晶光电透露,按照公司股权激励的目标规划,公司目标2022年-2025年组件出货分别为6GW、10GW、15GW、20GW。
据统计,到2022年底亿晶光电的电池片产能为5GW,光伏组件产能为10GW。若滁州项目建成,未来电池片产能将达15GW,组件产能将达20GW。
资金吃紧
据初步计算,亿晶光电滁州项目总投资金额将高达103亿元。这对连续3年经历巨亏,刚刚扭亏为盈的一家公司来说是一个不小的考验。
2022年三季度,亿晶光电的货币资金有41.39亿,同比增长126.90%,同时应付票据及应付账款也达到47.25亿,同比增112.26%,负债合计84.64亿,同比增102.25%。
同时,应收账款11.31亿,同比增57.76%,存货10.94亿,同比增83.37%。
此前,亿晶光电于1月份发布定增预案,计划发行不超过3.52亿股,发行价格为3.7元/股,募资不超过13.02亿元,用于常州年产5GW高效太阳能组件建设项目等。
控股股东勤诚达投资包揽了此轮定增,定增实施完毕后,勤诚达投资的持股比例将由21.65%,上升至39.7%。
在业绩说明会上,有投资者提问,亿晶TOPCon电池项目进展情况如何时,唐骏回复说,10GW TOPCon电池项目正在有序推进中,预计明年6月投产。
当另一位投资者追问到,请问开始了吗?一直听不到声音?
唐骏温柔的回怼了这位投资者,原回复如下:
您好,本次业绩说明会以文字交流形式开展。感谢关注!
据悉,亿晶光电滁州项目分为三期,一期10GW高效N型TOPCon光伏电池,二期10GW切片项目及三期10GW组件项目后续将适时开展。
分期推进的规划,会一定程度缓解亿晶光电的资金压力,也会规避行业波动风险。但由于此前巨亏,对外担保、高比例股权质押,暗示其仍是“钱紧”。
目前,亿晶光电对子公司、孙公司担保总额为36.84亿元,占公司最近一期经审计净资产的137.89%。中登结算公司数据显示,勤诚达投资将2.00亿股股份质押给了建信理财,占其所持股份的78.52%,占亿晶光电总股份的16.77%。此外,其负债率也达到近年的一个高水平,为63.4%。
能否涅磐
2022年,亿晶光电鲜有无问津的情况有所改善,年内先后接受了华创证券、广发资管、兴业证券、天风证券、亘曦资产等10余家机构的调研,二级市场上的表现也有所起色,一度从4月的低点3.03涨到8.79元的新高,涨幅超过100%。
然而,这较亿晶光电借壳之创下60元的历史新高仍有很遥远的一段距离。如今,本欲借助上市做大做强的荀建华家族黯然出局,妥妥的“光伏组件第一上市公司”也沦为三线公司、三线股,令人惋惜。这是当年高价对赌惹的“祸”,还是自身管理经营不善,无论是对现在的亿晶光电,还是对华耀光电都是一个借鉴。
而对于后荀氏家族时代,新晋的勤诚达投资、唐骏等历经组件隐裂、代工、投资者诉讼案风波后,能否乘着“双碳”东风、光伏市场景气度提升的利好,快速步入高增长轨道,也成为行业和投资者的期盼。
最后,这句话讲得比较提气,愿你出走半生,归来仍是少年!投资者希望“易主”、“换血”的亿晶光电亦如是!