
中证智能财讯金龙汽车(600686)8月10日披露2024年半年度报告。2024年上半年,公司实现营业收入97.63亿元,同比增长4.19%;归母净利润6639.61万元,同比增长41.7%;扣非净利润亏损9679.49万元,上年同期亏损4907.36万元;经营活动产生的现金流量净额为-5.28亿元,上年同期为5.06亿元;报告期内,金龙汽车基本每股收益为0.09元,加权平均净资产收益率为2.1%。
报告期内,公司合计非经常性损益为1.63亿元,其中单独进行减值测试的应收款项减值准备转回为9335.03万元。


以8月9日收盘价计算,金龙汽车目前市盈率(TTM)约为121.31倍,市净率(LF)约为3.62倍,市销率(TTM)约为0.58倍。
公司近年市盈率(TTM)、市净率(LF)、市销率(TTM)历史分位图如下所示:


根据半年报,公司第二季度实现营业总收入57.83亿元,同比增长2.85%,环比增长45.33%;归母净利润4873.65万元,同比增长34.70%,环比增长175.98%;扣非净利润-6408.12万元,同比下降1337.44%,环比下降95.89%。
半年报显示,公司主营客车产品的生产和销售。
分产品来看,2024年上半年公司主营业务中,汽车及车身件收入92.97亿元,同比增长7.54%,占营业收入的95.23%。
2024年上半年,公司毛利率为11.29%,同比上升0.80个百分点;净利率为1.24%,较上年同期上升0.36个百分点。从单季度指标来看,2024年第二季度公司毛利率为10.34%,同比上升0.17个百分点,环比下降2.33个百分点;净利率为1.42%,较上年同期上升0.31个百分点,较上一季度上升0.45个百分点。
数据显示,2024年上半年公司加权平均净资产收益率为2.10%,较上年同期增长3.17个百分点;公司2024年上半年投入资本回报率为1.44%,较上年同期增长0.55个百分点。
2024年上半年,公司经营活动现金流净额为-5.28亿元,同比减少10.34亿元;筹资活动现金流净额3.84亿元,同比减少7602.33万元;投资活动现金流净额-10.56亿元,上年同期为-3.36亿元。
进一步统计发现,2024年上半年公司自由现金流为-20.10亿元,上年同期为9.50亿元。
2024年上半年,公司营业收入现金比为91.81%,净现比为-795.71%。
营运能力方面,2024年上半年,公司公司总资产周转率为0.36次,上年同期为0.34次(2023年上半年行业平均值为0.37次,公司位居同行业8/14);固定资产周转率为3.06次,上年同期为2.73次(2023年上半年行业平均值为2.41次,公司位居同行业7/14);公司应收账款周转率、存货周转率分别为2.60次、3.72次。
2024年上半年,公司期间费用为10.60亿元,较上年同期增加1.17亿元;期间费用率为10.86%,较上年同期上升0.80个百分点。其中,销售费用同比增长1.07%,管理费用同比增长2.09%,研发费用同比增长4.79%,财务费用由去年同期的-8863.46万元变为302.64万元。
资料显示,财务费用的变动主要因为汇兑收益同比减少。
资产重大变化方面,截至2024年上半年末,公司应收账款较上年末增加50.44%,占公司总资产比重上升5.16个百分点;货币资金较上年末减少11.79%,占公司总资产比重下降3.52个百分点;一年内到期的非流动资产较上年末增加59.35%,占公司总资产比重上升2.98个百分点;债权投资合计较上年末减少22.74%,占公司总资产比重下降1.99个百分点。
负债重大变化方面,截至2024年上半年末,公司长期借款较上年末增加17.17%,占公司总资产比重上升1.60个百分点;应付账款较上年末增加6.72%,占公司总资产比重上升0.81个百分点;合同负债较上年末增加35.74%,占公司总资产比重上升1.30个百分点;应付票据较上年末减少5.17%,占公司总资产比重下降1.86个百分点。
从存货变动来看,截至2024年上半年末,公司存货账面价值为24.37亿元,占净资产的76.91%,较上年末增加2.16亿元。其中,存货跌价准备为2.48亿元,计提比例为9.23%。
在偿债能力方面,公司2024年上半年末资产负债率为84.77%,相比上年末上升0.28个百分点;有息资产负债率为22.23%,相比上年末上升1.25个百分点。
2024年上半年,公司流动比率为1.08,速动比率为0.95。
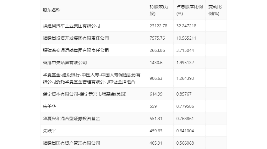
半年报显示,2024年上半年末的公司十大流通股东中,新进股东为朱荃华、华夏兴和混合型证券投资基金,取代了一季度末的中国(福建)对外贸易中心集团有限责任公司、福建省能源集团有限责任公司。在具体持股比例上,朱跃平持股有所上升,香港中央结算有限公司、中国人寿保险股份有限公司委托华夏基金管理有限公司中证全指组合、保宁新兴市场基金(美国)、福建省国有资产管理有限公司持股有所下降。
筹码集中度方面,截至2024年上半年末,公司股东总户数为4.1万户,较一季度末增长了1365户,增幅3.44%;户均持股市值由一季度末的12.85万元上升至12.86万元,增幅为0.08%。
指标注解:
市盈率
=总市值/净利润。当公司亏损时市盈率为负,此时用市盈率估值没有实际意义,往往用市净率或市销率做参考。
市净率
=总市值/净资产。市净率估值法多用于盈利波动较大而净资产相对稳定的公司。
市销率
=总市值/营业收入。市销率估值法通常用于亏损或微利的成长型公司。
文中市盈率和市销率采用TTM方式,即以截至最近一期财报(含预报)12个月的数据计算。市净率采用LF方式,即以最近一期财报数据计算。
市盈率为负时,不显示当期分位数,会导致折线图中断。