
江苏索普(600746)8月20日披露2024年半年报。2024年上半年,公司实现营业总收入31.93亿元,同比增长30.98%;归母净利润1.17亿元,同比扭亏;扣非净利润1.13亿元,同比扭亏;经营活动产生的现金流量净额为1.55亿元,上年同期为-575.04万元;报告期内,江苏索普基本每股收益为0.1011元,加权平均净资产收益率为2.22%。
公告称,公司营业收入变化主要由于报告期内公司产品销量增加。

以8月19日收盘价计算,江苏索普目前市盈率(TTM)约为18.35倍,市净率(LF)约为1.36倍,市销率(TTM)约为1.17倍。
公司近年市盈率(TTM)、市净率(LF)、市销率(TTM)历史分位图如下所示:


根据半年报,公司第二季度实现营业总收入16.92亿元,同比增长52.04%,环比增长12.74%;归母净利润9153.03万元,同比增长162.45%,环比增长257.90%;扣非净利润8984.25万元,同比增长160.55%,环比增长285.55%。
资料显示,公司主营业务包括冰醋酸、醋酸乙酯、硫酸、ADC发泡剂等产品的生产与销售。
2024年上半年,公司毛利率为10.06%,同比上升14.19个百分点;净利率为3.68%,较上年同期上升14.20个百分点。从单季度指标来看,2024年第二季度公司毛利率为12.98%,同比上升16.78个百分点,环比上升6.21个百分点;净利率为5.43%,较上年同期上升18.61个百分点,较上一季度上升3.73个百分点。
数据显示,2024年上半年公司加权平均净资产收益率为2.22%,较上年同期增长7.03个百分点;公司2024年上半年投入资本回报率为2.04%,较上年同期增长8.01个百分点。
2024年上半年,公司经营活动现金流净额为1.55亿元,同比增加1.61亿元;筹资活动现金流净额-2.30亿元,同比减少7536.98万元;投资活动现金流净额-3.73亿元,上年同期为-2.7亿元。
进一步统计发现,2024年上半年公司自由现金流为1.29亿元,上年同期为-1.35亿元。
2024年上半年,公司营业收入现金比为96.82%,净现比为132.69%。
营运能力方面,2024年上半年,公司公司总资产周转率为0.49次,上年同期为0.40次(2023年上半年行业平均值为0.30次,公司位居同行业14/61);固定资产周转率为0.95次,上年同期为1.09次(2023年上半年行业平均值为1.00次,公司位居同行业23/61);公司应收账款周转率、存货周转率分别为27.55次、6.13次。
2024年上半年,公司期间费用为1.91亿元,较上年同期减少510.63万元;期间费用率为5.97%,较上年同期下降2.06个百分点。其中,销售费用同比增长1.82%,管理费用同比下降5.6%,研发费用同比增长8.92%,财务费用由去年同期的-724.93万元变为-1628.95万元。
资料显示,销售费用的变动主要因为报告期内保险费和服务费略有增加;管理费用的变动主要因为报告期内管理人员工资略有减少;财务费用的变动主要因为报告期内汇兑收益增加;研发费用的变动主要因为报告期内增加研发投入。
资产重大变化方面,截至2024年上半年末,公司货币资金较上年末减少22.70%,占公司总资产比重下降3.02个百分点;应收款项融资较上年末增加58.69%,占公司总资产比重上升2.64个百分点;长期待摊费用较上年末增加953.29%,占公司总资产比重上升2.39个百分点;在建工程较上年末减少35.56%,占公司总资产比重下降2.18个百分点。
负债重大变化方面,截至2024年上半年末,公司短期借款较上年末减少63.74%,占公司总资产比重下降2.69个百分点,主要系报告;长期借款较上年末增加226.24%,占公司总资产比重上升1.42个百分点;应付账款较上年末减少12.91%,占公司总资产比重下降0.96个百分点;应付票据较上年末增加51.29%,占公司总资产比重上升1.04个百分点。
从存货变动来看,截至2024年上半年末,公司存货账面价值为4.59亿元,占净资产的8.67%,较上年末减少1795.37万元。其中,存货跌价准备为306.29万元,计提比例为0.66%。
在偿债能力方面,公司2024年上半年末资产负债率为17.69%,相比上年末下降1.11个百分点;有息资产负债率为3.82%,相比上年末下降1.21个百分点。
2024年上半年,公司流动比率为1.96,速动比率为1.49。
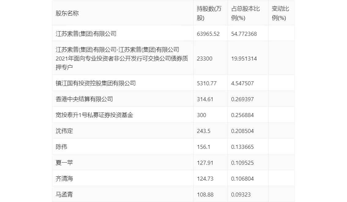
半年报显示,2024年上半年末公司十大流通股东中,新进股东为夏一苹、齐清海、马孟青,取代了一季度末的江苏索普化工股份有限公司回购专用证券账户、招商量化精选股票型发起式证券投资基金、华夏银行股份有限公司-华夏智胜先锋股票型证券投资基金(LOF)。在具体持股比例上,江苏索普(集团)有限公司、香港中央结算有限公司、沈伟定、陈伟持股有所上升。
筹码集中度方面,截至2024年上半年末,公司股东总户数为3.93万户,较一季度末下降了168户,降幅0.43%;户均持股市值由一季度末的18.66万元下降至17.52万元,降幅为6.11%。
指标注解:
市盈率
=总市值/净利润。当公司亏损时市盈率为负,此时用市盈率估值没有实际意义,往往用市净率或市销率做参考。
市净率
=总市值/净资产。市净率估值法多用于盈利波动较大而净资产相对稳定的公司。
市销率
=总市值/营业收入。市销率估值法通常用于亏损或微利的成长型公司。
文中市盈率和市销率采用TTM方式,即以截至最近一期财报(含预报)12个月的数据计算。市净率采用LF方式,即以最近一期财报数据计算。
市盈率为负时,不显示当期分位数,会导致折线图中断。