新华传媒(600825)8月30日披露2024年半年度报告。2024年上半年,公司实现营业收入6.16亿元,同比增长1.40%;归母净利润2959.72万元,同比下降13.61%;扣非净利润276.42万元,同比下降86.69%;经营活动产生的现金流量净额为-2316.43万元,上年同期为1.03亿元;报告期内,新华传媒基本每股收益为0.028元,加权平均净资产收益率为1.19%。
报告期内,公司合计非经常性损益为2683.30万元,其中非金融企业持有金融资产和金融负债产生的公允价值变动损益以及处置金融资产和金融负债产生的损益为373.94万元。

以8月29日收盘价计算,新华传媒目前市盈率(TTM)约为121.32倍,市净率(LF)约为1.54倍,市销率(TTM)约为2.91倍。
公司近年市盈率(TTM)、市净率(LF)、市销率(TTM)历史分位图如下所示:


根据半年报,公司第二季度实现营业总收入4.53亿元,同比增长2.59%,环比增长177.96%;归母净利润2803.45万元,同比下降6.95%,环比增长1693.93%;扣非净利润1524.94万元,同比下降37.71%,环比增长222.14%。
半年报显示,公司主营业务类型分为图书、文教用品和其他,其中图书和文教用品构成公司主要的收入和利润来源。
2024年上半年,公司毛利率为32.13%,同比上升1.41个百分点;净利率为4.80%,较上年同期下降0.83个百分点。从单季度指标来看,2024年第二季度公司毛利率为31.87%,同比上升2.32个百分点,环比下降0.98个百分点;净利率为6.18%,较上年同期下降0.65个百分点,较上一季度上升5.20个百分点。
数据显示,2024年上半年公司加权平均净资产收益率为1.19%,较上年同期下降0.17个百分点;公司2024年上半年投入资本回报率为1.12%,较上年同期增长0.60个百分点。
2024年上半年,公司经营活动现金流净额为-2316.43万元,同比减少1.26亿元;筹资活动现金流净额-4351.96万元,同比减少1768.51万元;投资活动现金流净额2.02亿元,上年同期为-1.73亿元。
进一步统计发现,2024年上半年公司自由现金流为2.19亿元,上年同期为-2.03亿元。
2024年上半年,公司营业收入现金比为105.43%,净现比为-78.27%。
营运能力方面,2024年上半年,公司总资产周转率为0.15次,上年同期为0.15次(2023年上半年行业平均值为0.22次,公司位居同行业16/19);固定资产周转率为4.38次,上年同期为4.07次(2023年上半年行业平均值为7.56次,公司位居同行业9/19);公司应收账款周转率、存货周转率分别为17.22次、1.04次。
2024年上半年,公司期间费用为1.67亿元,较上年同期增加1165.62万元;期间费用率为27.20%,较上年同期上升1.54个百分点。其中,销售费用同比下降8.89%,管理费用同比增长0.28%,财务费用由去年同期的-2349.48万元变为23.91万元。
资料显示,销售费用的变动主要因为报告期用人费用有所减少;财务费用的变动主要因为上年同期银行定期存单到期,取得结息收入较大。
资产重大变化方面,截至2024年上半年末,公司交易性金融资产较上年末减少46.63%,占公司总资产比重下降7.35个百分点;货币资金较上年末增加11.09%,占公司总资产比重上升4.20个百分点;其他非流动金融资产较上年末增加64.09%,占公司总资产比重上升2.57个百分点;使用权资产较上年末减少14.79%,占公司总资产比重下降0.52个百分点。
负债重大变化方面,截至2024年上半年末,公司应付账款较上年末减少17.53%,占公司总资产比重下降2.17个百分点;合同负债较上年末减少9.82%,占公司总资产比重下降1.04个百分点;其他应付款(含利息和股利)较上年末增加45.26%,占公司总资产比重上升1.25个百分点;租赁负债较上年末减少24.36%,占公司总资产比重下降0.69个百分点。
从存货变动来看,截至2024年上半年末,公司存货账面价值为3.85亿元,占净资产的15.45%,较上年末减少3092.87万元。其中,存货跌价准备为3539.49万元,计提比例为8.42%。
在偿债能力方面,公司2024年上半年末资产负债率为37.06%,相比上年末下降2.22个百分点;有息资产负债率为1.33%,相比上年末上升0.09个百分点。
2024年上半年,公司流动比率为1.69,速动比率为1.41。
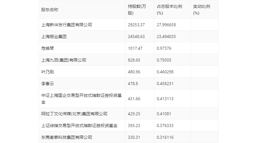
半年报显示,2024年上半年末的公司十大流通股东中,新进股东为李春云、东莞衡泰科技集团有限公司,取代了一季度末的J.P.Morgan Securities PLC-自有资金、杨光。在具体持股比例上,危焕琴、叶乃刚、中证上海国企交易型开放式指数证券投资基金、上证综指交易型开放式指数证券投资基金持股有所上升。
筹码集中度方面,截至2024年上半年末,公司股东总户数为5.04万户,较一季度末下降了3637户,降幅6.73%;户均持股市值由一季度末的9.75万元下降至7.86万元,降幅为19.38%。
指标注解:
市盈率
=总市值/净利润。当公司亏损时市盈率为负,此时用市盈率估值没有实际意义,往往用市净率或市销率做参考。
市净率
=总市值/净资产。市净率估值法多用于盈利波动较大而净资产相对稳定的公司。
市销率
=总市值/营业收入。市销率估值法通常用于亏损或微利的成长型公司。
文中市盈率和市销率采用TTM方式,即以截至最近一期财报(含预报)12个月的数据计算。市净率采用LF方式,即以最近一期财报数据计算。
市盈率为负时,不显示当期分位数,会导致折线图中断。