【导语】国泰君安、海通证券宣布:继续停牌,推进换股吸收合并事项
中国基金报记者曹雯璟
今日晚间,国泰君安发布公告称,股票将继续停牌,正在筹划推进换股吸收合并海通证券相关事项。国泰君安也在港交所同步公告称,与海通证券拟议合并前须事先取得监管机构的同意或批准。
与此同时,海通证券也公告称,将继续停牌,积极推进各项工作,并根据重组进展情况履行信息披露义务。
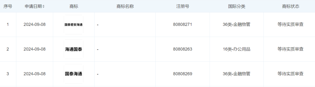
值得注意的是,近日,国泰君安证券申请注册“国泰海通”“海通国泰”“国泰君安海通”商标,国际分类为金融物管、办公用品,当前商标状态均为等待实质审查。
国泰君安、海通证券:
继续停牌推进换股吸收合并事项
9月23日晚间,国泰君安发布《关于筹划重大资产重组事项的停牌进展公告》。公告显示,公司与海通证券正在筹划由公司通过向海通证券全体A股换股股东发行A股股票、向海通证券全体H股换股股东发行H股股票的方式换股吸收合并海通证券并发行 A 股股票募集配套资金(以下简称本次重组)。
鉴于本次重组的相关事项存在重大不确定性,为保证公平信息披露,维护投资者利益,避免造成公司股价异常波动,根据上海证券交易所相关规定,公司股票将继续停牌。
国泰君安表示,停牌期间,公司积极推进各项工作,并根据本次重组进展情况,严格按照有关法律法规的规定履行信息披露义务,待相关事项确定后,公司将及时发布相关公告并申请公司股票复牌。
本次重组的具体合作方案以双方进一步签署的交易文件为准。本次重组尚需履行必要的内部决策程序,并需经监管机构批准后方可正式实施,能否实施尚存在不确定性。
国泰君安也在港交所同步公告称,公司与海通证券拟议合并需提交双方各自董事会、股东大会审议,并经有权监管机构批准后方可正式实施。正式宣布该拟议合并前须事先取得监管机构的同意或批准。
今日晚间,海通证券A股也发布了《关于筹划重大资产重组事项的停牌进展公告》、海通证券H股则发布《停牌之最新进展》,和国泰君安公告内容相一致。
1.6万亿!“航母级”券商呼之欲出
9月5日晚间,国泰君安、海通证券双双公告称,国泰君安与海通证券正在筹划由国泰君安吸收合并海通证券并发行股票募集配套资金。两家公司于9月6日开市起开始停牌。
天眼查信息显示,近日,国泰君安证券申请注册“国泰海通”“海通国泰”“国泰君安海通”商标,国际分类为金融物管、办公用品,当前商标状态均为等待实质审查。

公开资料显示,国泰君安证券是由创设于1992年的国泰证券和君安证券通过新设合并、增资扩股,于1999年8月组建成立,总部位于上海,目前实际控制人为上海国际集团有限公司。国泰君安证券于2015年A股上市、2017年H股上市,为A+H股上市公司。国泰君安证券始终保持较强的综合竞争力,近年来核心财务指标稳居行业第一梯队,连续17年获得中国证监会A类AA级最高监管评级。
海通证券成立于1988年,由交通银行发起设立,总部位于上海,目前第一大股东为上海国盛(集团)有限公司,海通证券无控股股东、无实际控制人。公司于2007年A股上市、2012年H股上市,为A+H股上市公司。海通证券是国内成立最早、综合实力最强的证券公司之一,拥有一体化的业务平台、庞大的营销网络以及雄厚的客户基础。
从两家公司2023年年报数据来看,若国君与海通合并,合并后的总资产、净资产将分别达到16800亿元、3302亿元,均将超越中信证券位列行业第一。
近年来,中央和相关部门多次强调推动头部证券公司做优做强。中信证券非银金融联席首席分析师陆昊表示,前期并购集中于中型券商,国君海通并购为本轮周期首单头部机构并购案例,也是行业首单上市券商并购案例,响应了国家打造一流投资银行、促进行业高质量发展的宏观方向,长期有望显著改变行业竞争格局,并为证券行业后续并购重组打开空间。
申万宏源研究院非银金融首席分析师罗钻辉认为,未来,证券行业内部并购整合大势不减。当前证券行业并购重组进入新一轮加速期,短期内仍以“成熟一例、推出一例”的节奏展开。未来,证券行业竞争格局将呈现集中与分化趋势,其中,头部券商的优势集中在规模和体量、业务优势、客群差异,行业马太效应凸显。