
4月2日,杭州银行行长虞利明突然陷入“失联”传闻,随后杭州银行火速公告称,副董事长、行长虞利明已辞去所有职务。但是,刚刚接任杭州银行行长两年的虞利明突然“辞职”让外界非常意外,这显然不是一起正常辞职事件。而据“财新”报道,虞利明实际是被有关部门带走,涉及的极可能是早年在杭州金投及其旗下的杭州工商信托的行为,而且疑似与房地产投资有关。
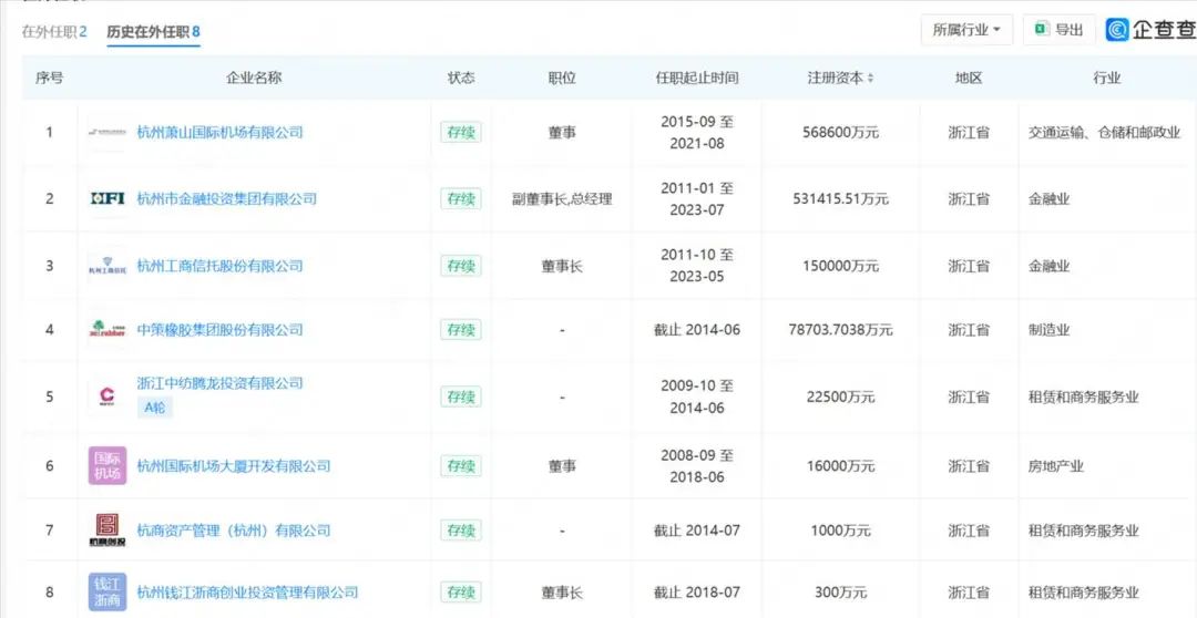
公开信息显示,2018年虞利明任杭州金投总经理,2022年后离任。另外,虞利明2011年10月开始担任杭州工商信托法定代表人、董事长,直到2023年5月离开。虞利明担任的职务还包括杭州萧山国际机场董事(2015-2021年8月),中策橡胶董事(截至2014年6月),这应当是代表投资方杭州金投任职,中策橡胶今年2月在上交所主板过会。
值得一提的是,虞利明2009年-2018年7月还曾担任杭州钱江浙商创业投资管理有限公司董事长,杭州钱江浙商创业成立于2009年,初始股东包括杭州市投资控股有限公司(20%)(2012年后杭州金投进入,杭州市投资控股退出),浙商创投股份有限公司(80%),后者的创始人为浙商创投大佬陈越孟。虞利明在杭州钱江浙商创投公司担任董事长,陈越孟担任总经理。

公开信息显示,虞利明在杭州金投及其旗下的杭州工商信托任职期间,与地产圈打交道颇多。
虞利明在担任杭州金投总经理期间,杭州金投2020年1月成立杭州锦岚宋花企业管理咨询合伙企业(有限合伙),这是一家致力于为房地产提供融资服务的咨询公司。2022年8月,杭州锦岚宋花企业管理咨询合伙企业(有限合伙)改名为杭州金投浙鑫企业管理咨询合伙企业(有限合伙),2024年6月,杭州金投浙鑫被注销。
杭州锦岚宋花成立之初的主要股东是几家大型房地产公司,荣安地产和宁波荣安资产管理有限公司都属于荣安地产集团,背后实际控制人为宁波房地产大佬王久芳。上海花样年背后为花样年集团;宁波中珲房地产背后为中南建设;宁波奉化源祺企业管理有限公司背后为宋都房地产和宋都集团。
如今,这几家房地产公司都陷入无法自拔的泥沼。
上海花样年及其控股股东深圳花样年集团以及花样年香港上市主体成了清一色的失信被执行人。

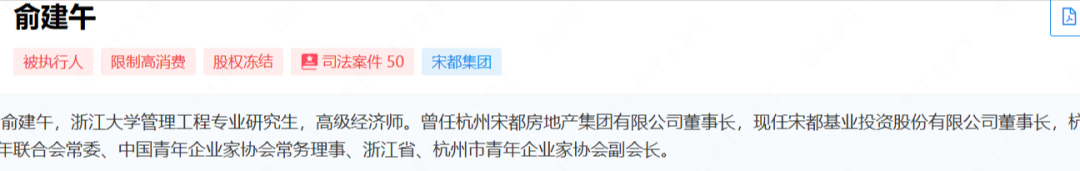
同样,宁波奉化源祺企业管理有限公司背后的杭州宋都房地产集团有限公司以及宋都基业投资股份有限公司也都成了失信被执行人,曾担任杭州宋都房地产集团有限公司董事长、杭州市政协委员、十一届人大代表、杭州市青年联合会常委、中国青年企业家协会常务理事、杭州市青年企业家协会副会长的俞建午股权被冻结,沦为被执行人、被法院下发限消令。

宁波中珲房地产也掉进了同一个坑里,其母公司宁波中璟置业有限公司的俩股东:南通中南新世界中心开发有限公司和上海筑达置业有限责任公司都是被执行人。

唯一躲过一劫的就是荣安地产,不过,在深交所上市的荣安地产预计2024年净亏损10.5亿-19.5亿元,这表明,王久芳的日子也不太好过。

在向上述这些房地产公司提供贷款或融资服务过程中,杭州金投和虞利明扮演的是什么角色?是资金提供方还是资金撮合方?其中是否涉及违规业务?是否给国有资产造成了损失?这些问题可能只有虞利明本人清楚了。
更值得注意的是,过去十几年,虞利明曾长时间任职的杭州工商信托更是过度卷入房地产投资。
杭州工商信托成立于1986年,是杭州市首家股份制金融企业,一共有9位股东,其中,大股东杭州金投持股57.99%,第二大股东为绿地集团旗下的绿地金融,持股19.9%。
2015年底,绿地金融斥资8亿元受让摩根士丹利持有的杭州工商信托14,925万股股份,占比11.05%。此后绿地金融又对杭州工商信托增资约1.5亿元,增资完成后持有19.9%股份。

过去十几年,杭州工商信托一直押注房地产,其信托资产分布中,房地产一直是大头。2019年前,杭州工商信托受托资产中,高达70%的资金投向了房地产,2019年更是高达76%。2022年之后降至40%左右,依然处于较高水平,2023年降至28%左右,信托资产总规模约883亿元。2019年,杭州工商信托持有房地产信托规模约380亿元,2023年下降至244亿元,减少大约1/3,仍然处于较高水平。

年报显示,杭州工商信托2022年、2023年、2024年分别亏损2.2亿元、2.1亿元、6.3亿元。2020年以前,杭州工商信托主要依靠投资房地产,平均每年净利润在5-6亿元之间。从2020年到2023年,杭州工商信托的不良率从13.85%一路飙升至52.77%,非常惊人。
杭州工商信托的员工规模一直保持在190人左右。2023年年报显示,其6名董监高的税前薪酬总额为880万元,人均150万元。但虞利明在任期间的十几年,杭州工商信托年报中并未披露过他本人和其他高管的年薪收入。

值得注意的是,杭州工商信托过度投资房地产带来的不良后果是频频踩雷。例如,2020年3月30日,杭州工商信托发布“天洋燕郊创新中心1号项目集合资金信托计划”展期临时信息披露报告,标志着其“踩雷”天洋燕郊创新中心项目。
2017年4月,杭州工商信托先后发行“天洋燕郊创新中心1号”及“天洋燕郊创新中心2号”两款集合信托计划,期限3年,总规模48亿元,不过由于2号信托计划部分资金来自于1号信托计划,实际募集规模是34亿。截止到2020年4月,融资方三河东胜累计偿还信托本金12亿元,剩余22亿资金发生违约。
公开信息显示,近几年,杭州工商信托在近十个信托投资项目的合作方被列为失信被执行人,其中包括蓝光发展在佛山、茂名的合作项目,与宋都股份在杭州的项目,与融创在惠州的项目,与恒大地产在东莞和连云港的项目,与山西君茂的合作项目等。虽然公开信息有限,但从这些公司失信时间看,杭州工商信托大概率没有退出其中的投资,其中潜在违约风险到底有多少?

根据天眼查等公开信息制表。
需要指出的是,就连杭州工商信托的第二大股东绿地金融的母公司绿地控股也成了失信被执行人,后者的一把手张玉良被法院限消。
耐人寻味的是,在杭州工商信托不断踩雷之后,2022年底,虞利明辞去了董事长职务,随后任职杭州银行行长。他转手走了,把一堆尚未排除的“地雷”留给了继任者。