中国海油(600938)3月22日披露2023年年报。2023年,公司实现营业总收入4166.09亿元,同比下降1.33%;归母净利润1238.43亿元,同比下降12.60%;扣非净利润1251.88亿元,同比下降10.74%;经营活动产生的现金流量净额为2097.43亿元,同比增长2.03%;报告期内,中国海油基本每股收益为2.6元,加权平均净资产收益率为19.55%。公司2023年年度利润分配预案为:拟向全体股东每10股派6.6港元(含税)。其中A股股息将以人民币支付,折算汇率按股东周年大会宣派股息之日前一周的中国人民银行公布的港元对人民币中间价平均值计算。
以3月21日收盘价计算,中国海油目前市盈率(TTM)约为10.9倍,市净率(LF)约为2.03倍,市销率(TTM)约为3.24倍。
公司近年市盈率(TTM)、市净率(LF)、市销率(TTM)历史分位图如下所示:


数据统计显示,中国海油近三年营业总收入复合增长率为38.93%,近三年净利润复合年增长率为70.57%。
资料显示,公司是一家专注于油气勘探、开发和生产的上游公司,是中国海上主要油气生产商,以储量和产量计,也是世界最大的独立油气勘探开发公司之一。
分产品来看,2023年公司主营业务中,油气销售收入3278.67亿元,同比下降7.11%,占营业收入的78.70%;贸易收入793.08亿元,同比增长31.23%,占营业收入的19.04%。
2023年,公司毛利率为49.88%,同比下降3.17个百分点;净利率为29.79%,较上年同期下降3.76个百分点。从单季度指标来看,2023年第四季度公司毛利率为50.68%,同比上升1.58个百分点,环比上升3.89个百分点;净利率为24.07%,较上年同期下降5.56个百分点,较上一季度下降5.48个百分点。
分产品看,油气销售、贸易2023年毛利率分别为61.63%、6.76%。
报告期内,公司前五大客户合计销售金额2551.52亿元,占总销售金额比例为61.00%,公司前五名供应商合计采购金额1084.13亿元,占年度采购总额比例为55.00%。
数据显示,2023年公司加权平均净资产收益率为19.55%,较上年同期下降6.45个百分点;公司2023年投入资本回报率为16.09%,较上年同期下降4.92个百分点。
2023年,公司经营活动现金流净额为2097.43亿元,同比增长2.03%;筹资活动现金流净额-842.28亿元,同比减少192.66亿元;投资活动现金流净额-780.95亿元,上年同期为-984.73亿元。
进一步统计发现,2023年公司自由现金流为1251.59亿元,相比上年同期增长17.93%。
2023年,公司营业收入现金比为107.19%,净现比为169.36%。
营运能力方面,2023年,公司公司总资产周转率为0.43次,上年同期为0.49次(2022年行业平均值为0.94次,公司位居同行业36/46);固定资产周转率为60.99次,上年同期为72.25次(2022年行业平均值为4.45次,公司位居同行业2/46);公司应收账款周转率、存货周转率分别为11.44次、32.91次。
2023年,公司期间费用为129.64亿元,较上年同期减少13.03亿元;期间费用率为3.11%,较上年同期下降0.27个百分点。其中,销售费用同比增长4.35%,管理费用同比增长10.32%,研发费用同比增长5.11%,财务费用同比下降72.07%。
资产重大变化方面,截至2023年年末,公司交易性金融资产较上年末减少49.77%,占公司总资产比重下降5.08个百分点;其他非流动资产较上年末增加225.87%,占公司总资产比重上升2.63个百分点;货币资金较上年末增加24.03%,占公司总资产比重上升1.90个百分点;油气资产较上年末增加11.38%,占公司总资产比重上升1.64个百分点。
负债重大变化方面,截至2023年年末,公司应付债券较上年末减少16.27%,占公司总资产比重下降2.24个百分点;预计负债较上年末增加11.55%,占公司总资产比重上升0.29个百分点;应交税费较上年末增加52.18%,占公司总资产比重上升0.72个百分点;应付账款较上年末增加2.66%,占公司总资产比重下降0.34个百分点。
2023年全年,公司研发投入金额为54.75亿元,同比增长4.39%;研发投入占营业收入比例为1.30%,相比上年同期上升0.06个百分点。此外,公司全年研发投入资本化率为24.50%。
在偿债能力方面,公司2023年年末资产负债率为33.58%,相比上年末下降2.01个百分点;有息资产负债率为11.17%,相比上年末下降2.59个百分点。
2023年,公司流动比率为2.02,速动比率为1.97。
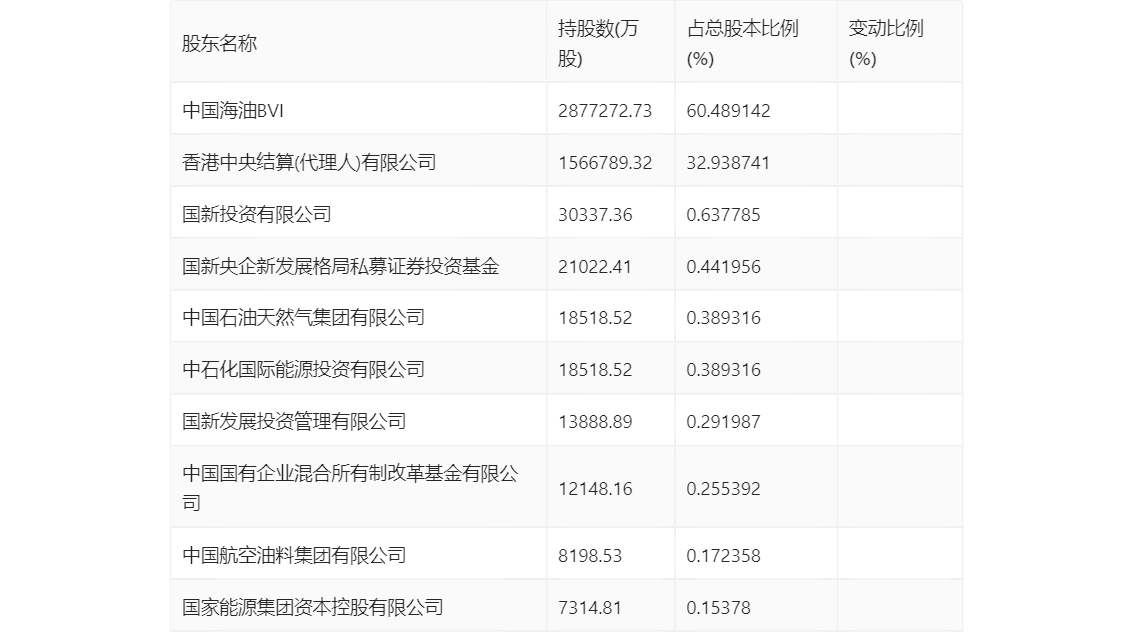
年报显示,2023年年末公司十大流通股东中,新进股东为中国海油BVI、国新央企新发展格局私募证券投资基金、中石化国际能源投资有限公司,取代了三季度末的中国海洋石油(BVI)公司、中国石化集团资产经营管理有限公司、全国社保基金一零九组合。在具体持股比例上,香港中央结算(代理人)有限公司、国新投资有限公司、国新发展投资管理有限公司持股有所上升,中国国有企业混合所有制改革基金有限公司持股有所下降。
指标注解:
市盈率
=总市值/净利润。当公司亏损时市盈率为负,此时用市盈率估值没有实际意义,往往用市净率或市销率做参考。
市净率
=总市值/净资产。市净率估值法多用于盈利波动较大而净资产相对稳定的公司。
市销率
=总市值/营业收入。市销率估值法通常用于亏损或微利的成长型公司。
文中市盈率和市销率采用TTM方式,即以截至最近一期财报(含预报)12个月的数据计算。市净率采用LF方式,即以最近一期财报数据计算。
市盈率为负时,不显示当期分位数,会导致折线图中断。