来源 :新浪财经2024-10-10
7连板的天风证券来提示风险了。
10月9日晚间,自2024年9月24日起至10月9日,已连续7个交易日涨停的天风证券发布股票交易异常波动暨风险提示公告,对于近期市场关于该公司合并重组计划的传闻,天风证券表示不存在筹划合并重组或其他应披露未披露的重大事项。
天风证券还表示,10月9日,该公司股票收盘市净率1.97倍,证券行业市净率1.52倍,公司市净率高于行业中位数。鉴于近期股票价格波动较大,请广大投资者注意投资风险。
业内人士认为,作为牛市“旗手”,券商各个业务受市场行情影响显著,在市场高活跃度持续推动下,成交量和成交额快速增长将显著增加券商佣金收入,预计第四季度乃至2025年全年证券行业估值水平及经营业绩也将持续改善。
否认合并传闻
在券商股中,近期股票交易中天风证券表现出色。
在本轮行情9月24日启动以来到10月9日,连续7个交易日天风证券都收获涨停板。在10月9日交易中,天风证券再次以涨停板收盘,股价达到5.31元/股,涨幅9.94%。
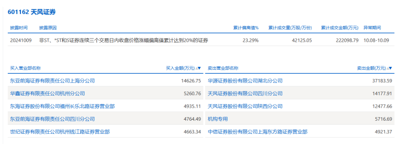
在龙虎榜数据中,天风证券因连续三个交易日内涨幅偏离值累计达到20%而上榜。

在9月24日至10月9日连续涨停期间,天风证券的累计涨幅达到了94.51%,累计换手率为28.19%,截至10月9日,天风证券总市值达到了460亿元。
业内人士认为,天风证券的强劲表现可能与当前资本市场的整体活跃度有关,市场对于券商股的关注度提高,以及政策层面的支持也是推动其股价上涨的因素之一,加之天风证券有相关合并传闻。
对此,10月9日,天风证券发布股票交易异常波动暨风险提示公告称,该公司关注到近期有市场传闻称公司有合并重组计划。经自查并与控股股东确认,该公司不存在筹划合并重组或其他应披露而未披露的重大事项,亦无任何应披露而未披露的信息。敬请广大投资者注意风险,谨慎决策。
此外,天风证券还提示二级市场交易风险,认为该公司股票自9月24日起至10月9日,已连续7个交易日涨停,收盘价格涨幅偏离值累计达到75.96%,累计涨幅较大。2024年10月9日,该公司股票收盘市净率1.97倍,证券行业市净率1.52倍,该公司市净率高于行业中位数。鉴于近期股票价格波动较大,敬请广大投资者注意投资风险。
此前9月12日,长江证券召开2024年半年度业绩说明会,对于投资者关心的长江证券和天风证券合并预期,长江证券副总裁、董事会秘书周纯回应表示,公司目前无应披露而未披露的重大事项。
值得一提的是,天风证券和长江证券两家券商都地处湖北,长江证券若顺利完成股权转让,大股东将变更为长江产业集团(湖北省国资委独资企业),天风证券大股东为湖北宏泰集团有限公司,实控人为湖北省财政厅,因此在券业合并重组热潮之下,两家券商频频传出合并传闻。
董事长庞介民出任党委书记
在动态方面,天风证券迎来了新的公司党委书记。
10月7日,天风证券召开干部大会,湖北宏泰集团党委书记、董事长曾鑫出席会议并讲话。集团党委副书记曾庆祝宣布湖北宏泰集团党委决定,任命天风证券董事长庞介民为天风证券党委书记。
值得一提的是,这是天风证券再一次实现该公司董事长担任党委书记一职。2023年4月,此前担任天风证券党委书记的原董事长余磊调整为党委副书记,党委书记由大股东湖北宏泰集团相关人士兼任,今年1月,余磊辞去了天风证券董事长职务,今年2月庞介民接任天风证券董事长。
业绩方面,天风证券发布的2024半年报显示,今年上半年该公司实现营业收入7.22亿元,同比减少66.56%;归属于母公司股东的净利润亏损3.24亿元,同比减少158.71%。
对于证券行业,东方证券分析师王晶认为,证券板块作为牛市的先锋,各个业务受市场行情影响显著。
他表示,在市场高活跃度持续推动下,成交量与成交额的快速增长将显著增加经纪业务的佣金收入。同时,目前IPO项目仍在收紧,并购重组政策落地将给投行业务带来新的增量;此外,二级权益市场快速上涨的背景下,券商自营收入与资管业务的管理收入将有所提高;9月底两融余额为14401.43亿元,较8月有所回升,预计二级市场火热将继续带动两融规模上升。他认为,今年第四季度乃至2025全年,证券行业的估值水平及经营业绩也将持续改善。