chaguwang.cn-查股网.中国
查股网.CN
北京银行(601169)内幕信息消息披露
 
个股最新内幕信息查询:    
 

北京银行:有监管指标跌破红线,存贷款规模减少,不良贷款达300多亿

http://www.chaguwang.cn  2025-12-26  北京银行内幕信息

来源 :新浪财经2025-12-26

  文|秋山论商业

  2025年12月初,北京银行发布的《北京银行股份有限公司关于收到应诉通知书的公告》,将这家昔日的城商行“一哥”,再度拉入到公众的视野中。

  公告显示,北京银行收到江苏省苏州市中级人民法院的应诉通知书,因对康得新复合材料集团股份有限公司(以下简称“康得新”)虚假陈述责任纠纷被列为共同被告,胡菊玲等超过8000名散户投资者提起诉讼,索赔总额高达41.39亿元。公告显示,此次诉讼被告一为康得新,北京银行和北京银行西单支行位列被告二十九和被告三十。

  早在2025年5月份,北京银行还卷入过另一起与康得新相关的诉讼。浙江中泰创赢资产管理有限公司起诉康得新,索赔金额超过51亿元,北京银行和北京银行西单支行分别为被告二、被告三。

  这两起索赔案的金额合计92.39亿元,尽管北京银行均表示自己“并非该案第一责任被告主体”,并评估认为“不会对正常经营以及本期利润或期后利润产生实质影响”,但市场还是会对此感到担忧。

  北京银行近些年在合规性方面的表现很一般,除了卷入这两起诉讼,还经常吃到大额罚单,核心一级资本充足率也跌破了监管红线。此外,北京银行的业绩表现平平,在2025年丢掉了城商行“一哥”的宝座。而北京银行让出城商行榜首,正是在现任董事长霍学文执掌3年之后。

  全方位落后江苏银行,北京银行正式让出城商行“一哥”宝座

  2025年半年报发布之后,城商行“一哥”易主的说法见诸各种报道,原因是江苏银行总资产规模首次超越北京银行。

  到了第三季度结束,北京银行正式让出了“一哥”宝座,尽管与江苏银行的总资产规模只有0.04万亿元的差距,但盈利能力和营收的差距越来越大。

  三季报显示,2025年前三季度,北京银行实现营收515.88亿元,同比下降1.08%;实现净利润210.64亿元,同比增长0.26%。17家A股上市城商行中,前三季度仅北京银行、贵阳银行、兰州银行营收负增长,北京银行的净利润增速也仅高于贵阳银行和厦门银行。

  从每个季度来看,北京银行前三个季度分别实现营业收入171.27亿元、190.91亿元、153.7亿元,同比增长-3.18%、5.12%、-5.71%;实现净利润76.72亿元、73.81亿元、60.11亿元,同比增长-2.44%、5.11%、-1.85%。在第二季度实现“双增”的情况下,第三季度北京银行盈利能力再次下滑。

  与之形成鲜明对比的是,江苏银行前三季度实现营收671.83亿元,同比增加7.83%;实现净利润305.83亿元,同比增加8.32%。在营业收入和净利润上,江苏银行已分别比北京银行多155.95亿元、95.19亿元。

  通过以上数据可以发现,无论是营收还是净利润,又或是业绩增速,北京银行已经全面落后于江苏银行,而且双方已经不在一个水准。

  不良贷款A股城商行最高,存贷款规模第三季度双双下滑

  如果说,北京银行的资产规模和营收、利润被江苏银行超过,痛失城商行“一哥”地位的话,那么在资产质量方面的恶化情况,那就是自身太不争气了。

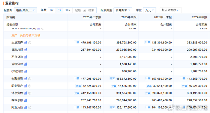
  2025年半年报的数据显示,北京银行的不良贷款余额高达310亿元,较排名第二的江苏银行的203亿元,远远高出了100多亿元,不良贷款规模位居17家A股城商行榜首,1.3%的不良贷款率在17家A股城商行中也是属于较高水平。更何况在2025年6月底时,北京银行的重组贷款还高达153.8亿元,如此之高的重组贷款,实际上在一定程度上也隐藏了真实的不良情况。

  到了2025年三季度末,尽管北京银行没有在三季报中公布不良贷款余额的具体规模,但通过1.29%的不良贷款率和2.37万亿的贷款余额来计算,不难发现北京银行在2025年9月底的不良贷款规模仍然超过了300亿,较半年度时几乎没有太大变化。

  更值得市场关注的是,北京银行在2025年第三季度出现了存贷款规模的双双下滑。

  北京银行2025年半年报和三季报的数据显示,至2025年6月底,北京银行的贷款总额为23908.6亿元、存款总额为26894.4亿元,到了9月底,贷款总额下滑到23730.5亿元,存款总额下滑到26724.2亿元,短短三个月时间,北京银行的贷款减少了178亿元、170亿元。

  存贷款规模双双下滑,在北京银行上市以来还属于首次,在A股银行中都十分罕见。

  与此同时,北京银行的资产规模在2025年三季度也迎来了环比下滑,从6月底的23908.6亿元减少到9月底的23730.5亿元,净减少了近180亿元。

  对于这样一家头部城商行而言,无论是不良贷款规模居高不下,还是资产总额、存贷款规模的环比下滑,也意味着该行资产质量出现了恶化迹象。

  特别是对于利息净收入长期占75%以上比例的北京银行来说,存贷款规模下滑直接意味着未来业绩萎缩的信号。

  霍学文上任后多举措并举,取得一定成效却终究未能逆转局势

  2022年3月份,霍学文出任北京银行董事长,上任后推出了包括发力新兴信贷领域、调整资产区域布局、“多水晶球一体化数字化管理体系”等在内的一系列改革和转型举措,寻求带领北京银行走出困境,彼时的北京银行营收增速已经明显放缓。

  霍学文的举措确实取得了一定成效,北京银行的科技企业贷款占比、个人消费贷和信用卡占比上升,长三角地区的营收和营收占比也有提升。但这并不足以带领北京银行逆转局势,在霍学文出任北京银行董事长3年后,北京银行还是让出了城商行“一哥”的位置。

  业绩增速放缓的同时,北京银行的资本充足率也在不断下降。三季报显示,2025年第三季度,北京银行的资本充足率、一级资本充足率和核心一级资本充足率分别为12.82%、11.87%和8.44%,处于持续下滑状态。

  2025年三季度末,国内商业银行资本充足率、一级资本充足率和核心一级资本充足率分别为15.36%、12.36%、10.87%。很明显,北京银行与商业银行平均水平有很大的差距。

  而且北京银行是我国系统重要性银行,根据相关政策,核心一级资本充足率应该不低于8.5%。换句话说,北京银行的核心一级资本充足率已经低于监管红线。此外,北京银行的拨备覆盖率也已经下降到了195.79%。

  霍学文曾在北京金融局工作时间达13年,对金融合规与风险治理有深入理解。不过,从最近几年多次吃到大额罚单的情况来看,北京银行的合规和风控似乎并没有太大的改善。

  当下,对霍学文和北京银行的管理团队来说,如何带领北京银行走出低谷,重拾信心才是最重要的。

  注:本文数据和信息来源于上市公司年报和公告、企业预警通、媒体报道等公开渠道;本文纯属个人观点,仅供参考,不构成投资建议;未经授权,本文禁止转载!

查股网为非盈利性网站 本页为转载如有版权问题请联系 767871486@qq.comQQ:767871486
Copyright 2007-2025
www.chaguwang.cn 查股网