来源 :中国证券报·中证网2024-04-12
东材科技(601208)4月13日披露2024年一季报。2024年第一季度,公司实现营业总收入9.21亿元,同比增长7.26%;归母净利润5071.64万元,同比下降28.23%;扣非净利润3711.61万元,同比下降36.54%;经营活动产生的现金流量净额为-1.93亿元,上年同期为-2.68亿元;报告期内,东材科技基本每股收益为0.06元,加权平均净资产收益率为1.11%。
资料显示,公司主要从事化工新材料的研发、制造和销售,以新型绝缘材料为基础。
2024年一季度,公司毛利率为12.71%,同比下降8.87个百分点,环比下降5.68个百分点;净利率为4.81%,较上年同期下降3.47个百分点,较上一季度上升3.4个百分点。
盈利能力方面, 2024年一季度公司加权平均净资产收益率为1.11%,同比下降0.55个百分点。公司2024年第一季度投入资本回报率为0.74%,较上年同期下降0.37个百分点。
2024年第一季度,公司经营活动现金流净额为-1.93亿元,同比增加7494.73万元;筹资活动现金流净额3.16亿元,同比减少1.09亿元;投资活动现金流净额-4.04亿元,上年同期为-6512.05万元。
2024年第一季度,公司营业收入现金比为71.09%,净现比为-379.89%。
2024年第一季度,公司期间费用为8210.79万元,同比减少2731.56万元;期间费用率为8.92%,同比下降3.83个百分点。其中,销售费用同比增长16.43%,管理费用同比下降28.83%,研发费用同比下降35.14%,财务费用同比下降7.37%。
资产重大变化方面,截至2024年一季度末,公司货币资金较上年末减少30.48%,占公司总资产比重下降3.79个百分点;交易性金融资产较上年末增加246.08%,占公司总资产比重上升2.56个百分点;在建工程较上年末增加11.31%,占公司总资产比重上升1.75个百分点;固定资产较上年末减少2.99%,占公司总资产比重下降1.67个百分点。
负债重大变化方面,截至2024年一季度末,公司短期借款较上年末增加39.82%,占公司总资产比重上升3.32个百分点;应付票据较上年末减少30.30%,占公司总资产比重下降1.52个百分点;其他流动负债较上年末减少26.15%,占公司总资产比重下降0.82个百分点;长期应付款合计较上年末增加425.53%,占公司总资产比重上升0.48个百分点。
偿债能力方面,公司2024年一季度末资产负债率为53.44%,相比上年末增加0.91个百分点;有息资产负债率为35.25%,相比上年末增加3.19个百分点。
2024年第一季度,公司流动比率为1.26,速动比率为1.09。
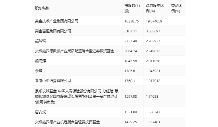
一季报显示,2024年一季度末公司十大流通股东中,新进股东为交银施罗德产业机遇混合型证券投资基金,取代了上年末的中欧优质企业混合型证券投资基金。在具体持股比例上,高金富恒集团有限公司、交银施罗德数据产业灵活配置混合型证券投资基金、余峰、香港中央结算有限公司、景顺长城基金-中国人寿保险股份有限公司-分红险-景顺长城基金国寿股份成长股票型组合单一资产管理计划(可供出售)、唐安斌持股有所上升,高金技术产业集团有限公司、熊玲瑶持股有所下降。
筹码集中度方面,截至2024年一季度末,公司股东总户数为3.44万户,较上年末增长了1.12万户,增幅47.96%;户均持股市值由上年末的48.84万元下降至22.66万元,降幅为53.60%。