chaguwang.cn-查股网.中国
查股网.CN
广深铁路(601333)内幕信息消息披露
 
个股最新内幕信息查询:    
 

广深铁路:2023年盈利10.58亿元 拟10派0.7元

http://www.chaguwang.cn  2024-03-29  广深铁路内幕信息

来源 :中国证券报·中证网2024-03-29

  广深铁路(601333)3月29日披露2023年年报。2023年,公司实现营业总收入261.95亿元,同比增长31.35%;归母净利润10.58亿元,同比扭亏;扣非净利润9.34亿元,同比扭亏;经营活动产生的现金流量净额为11.16亿元,上年同期为-1.93亿元;报告期内,广深铁路基本每股收益为0.15元,加权平均净资产收益率为4.09%。公司2023年年度利润分配预案为:拟向全体股东每10股派0.7元(含税)。

  以3月28日收盘价计算,广深铁路目前市盈率(TTM)约为20.01倍,市净率(LF)约为0.8倍,市销率(TTM)约为0.81倍。

  公司近年市盈率(TTM)、市净率(LF)、市销率(TTM)历史分位图如下所示:

  数据统计显示,广深铁路近三年营业总收入复合增长率为17.01%,在铁路公路行业已披露2023年数据的10家公司中排名第5。近三年净利润复合年增长率为57.37%,排名1/10。

  资料显示,报告期内,公司作为一家铁路运输企业,主要经营铁路客货运输业务,并与香港铁路有限公司合作经营过港直通车旅客列车运输业务,同时还受委托为武广铁路、广珠城际、广深港铁路等提供铁路运营服务。

  分产品来看,2023年公司主营业务中,铁路运输业务收入261.42亿元,同比增长31.58%,占营业收入的99.80%。

  2023年,公司毛利率为6.27%,同比上升18.21个百分点;净利率为4.03%,较上年同期上升14.03个百分点。从单季度指标来看,2023年第四季度公司毛利率为1.75%,同比上升27.86个百分点,环比下降5.81个百分点;净利率为0.53%,较上年同期上升21.81个百分点,较上一季度下降4.49个百分点。

  报告期内,公司前五大客户合计销售金额79.67亿元,占总销售金额比例为30.41%,公司前五名供应商合计采购金额96.99亿元,占年度采购总额比例为73%。

  数据显示,2023年公司加权平均净资产收益率为4.09%,较上年同期增长11.69个百分点;公司2023年投入资本回报率为3.82%,较上年同期增长12.75个百分点。

  2023年,公司经营活动现金流净额为11.16亿元,同比增加13.10亿元;筹资活动现金流净额-1.11亿元,同比减少15.30亿元;投资活动现金流净额-8.23亿元,上年同期为-14.26亿元。

  进一步统计发现,2023年公司自由现金流为-4.73亿元,上年同期为-26.25亿元。

  2023年,公司营业收入现金比为64.15%,净现比为105.49%。

  营运能力方面,2023年,公司公司总资产周转率为0.71次,上年同期为0.54次(2022年行业平均值为0.21次,公司位居同行业3/34);公司应收账款周转率、存货周转率分别为4.81次、88.93次。

  2023年,公司期间费用为2.26亿元,较上年同期减少5421.54万元;期间费用率为0.86%,较上年同期下降0.54个百分点。其中,管理费用同比下降25.0%,财务费用同比增长9.0%。

  资产重大变化方面,截至2023年年末,公司应收账款较上年末增加34%,占公司总资产比重上升4.19个百分点;固定资产较上年末减少2.75%,占公司总资产比重下降2.06个百分点;在建工程较上年末减少49.56%,占公司总资产比重下降1.49个百分点;递延所得税资产较上年末减少31.17%,占公司总资产比重下降1.10个百分点。

  负债重大变化方面,截至2023年年末,公司应付票据较上年末减少60%,占公司总资产比重下降0.81个百分点;应付职工薪酬较上年末减少40.90%,占公司总资产比重下降0.77个百分点;应付账款较上年末减少3.26%,占公司总资产比重下降0.51个百分点,主要系应付物资采购款和应付工程及设备款减少;其他应付款(含利息和股利)较上年末减少9.18%,占公司总资产比重下降0.39个百分点。

  从存货变动来看,截至2023年年末,公司存货账面价值为2.9亿元,占净资产的1.1%。根据财报,公司本期没有计提存货跌价准备。

  在偿债能力方面,公司2023年年末资产负债率为29.23%,相比上年末下降2.59个百分点;有息资产负债率为4.18%,相比上年末下降0.03个百分点。

  2023年,公司流动比率为1.10,速动比率为1.06。

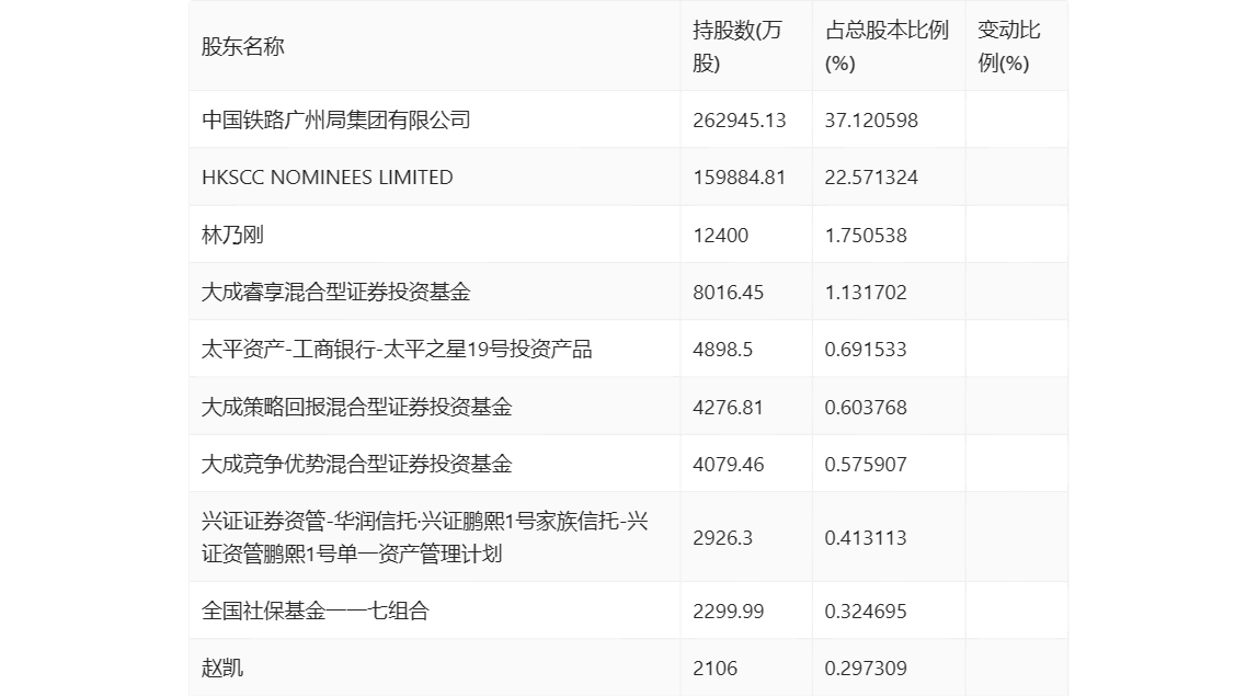
  年报显示,2023年年末公司十大流通股东中,新进股东为太平资产-工商银行-太平之星19号投资产品,取代了三季度末的全国社保基金一零九组合。在具体持股比例上,大成睿享混合型证券投资基金、大成策略回报混合型证券投资基金、大成竞争优势混合型证券投资基金、兴证证券资管-华润信托·兴证鹏熙1号家族信托-兴证资管鹏熙1号单一资产管理计划持股有所上升,HKSCC NOMINEES LIMITED持股有所下降。

有问题请联系 767871486@qq.com 商务合作广告联系 QQ:767871486
www.chaguwang.cn 查股网