近两年,在股价低迷之际,各大上市险企股东纷纷亮出“增持牌”。除增持外,险企还掀起一股“回购潮”,如友邦今年内累计回购超百次。上市险企拿出真金白银“挽救”跌跌不休的股价,一场“抄底”行动正在悄然进行,而股东敢于抄底的背后或是源于股价低于内在价值。
11月21日,据港交所数据显示,新华保险第二大股东中国宝武耗资约5430.64万港元增持339.84万股,每股均价15.98港元。此次增持完成后,中国宝武持有新华保险H股股数为2954.41万股,对应H股的比例为2.86%。
新华保险并非个例,中国太保自去年4月以来,获得股东两次增持。除股东增持外,不少上市险企的高管也纷纷加入增持阵营。除增持外,回购也是上市险企“护盘”的一种方式。
上市险企密集增持、回购的原因或是因股价低于内在价值。

时隔多年,
中国宝武首次增持新华保险
新华保险获公司第二大股东中国宝武增持。
据港交所数据显示,11月21日,公司第二大股东中国宝武耗资约5430.64万港元增持新华保险339.84万股,每股均价15.98港元。此次增持完成后,中国宝武持有新华保险H股股数为2954.41万股,对应H股的比例为2.86%。
叠加今年三季度末,中国宝武持有新华保险A股3.77亿股,这意味着其合计持股数量为4.07亿股,持股比例从12.09%升至13.04%。
作为新华保险原始股东,双方渊源颇深。据新华保险招股书显示,中国宝武的前身宝钢集团在1996 年 6 月,同神华集团等十五家发起人签署发起人协议,共同发起设立新华人寿,此时宝钢集团持股数量仅有5000万股,持股比例为10%。
3年后,在资本公积转增股本之后,宝钢集团的持股数量升至9012万股。随后宝钢集团2002年又接盘铜陵有色金属(集团)公司901.2万股以及金陵石化1802.4万股,此时宝钢集团的持股数量升至1.17亿股。
时隔5年后,宝钢集团受让神华集团9012万股,持股数量再度上升至2.07亿股。
随后其又通过受让中国石化资产经营管理有限公司1802.4万股,叠加一次增资坐上新华保险二股东之位。
直至新华保险A+H股上市前宝钢集团持有A股数量为4.88亿股,持股比例为18.775%;上市后持股数量为4.77亿股,持股比例为15%。
中国宝武增持新华保险或是因为其内在价值被低估。新华保险H股最低为12港元每股,而其2021年末每股净资产为34.77元,港股股价严重低于净资产。
值得注意的是,相较于A股,新华保险H股表现更胜一筹。自11月以来,公司H股股价触底反弹,从10月31日的12.04港元/股逐步上涨,截至今日收盘,月内累计涨幅超34%,而同期A股涨幅近15%。

“增持+回购”齐上阵,
股东“抄底”上市险企
今年以来受到股东增持的险企不在少数。
以中国太保为例,股东上海国有资产经营有限公司(简称“上海国资”)及其一致行动人自去年4月以来曾两度增持中国太保。
据中国太保公告,2021年4月9日至2022年5月20日,上海国资及其一致行动人已通过二级市场合计增持中国太保9624.62万股,至此其对中国太保的持股比例从先前的9.32%增至10.32%。
2022年5月21日至2022年10月13日,上海国资又通过二级市场合计增持中国太保A股股份2044.65万股。本次交易完成后,上海国资及其一致行动人对中国太保的持股比例升至10.53%。
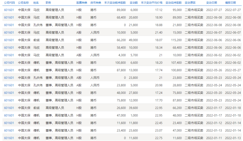
不仅股东增持,中国太保高管也纷纷出手。今年以来,据上交所披露信息显示,中国太保高管共计18次增持公司,累计近30万股,涉及金额约585万元。
▲图片来源:上交所
其中董事长孔庆伟更是首次买入公司股份。据上交所披露信息显示,孔庆伟连续在5月23日、24日两日买入公司A股股份2.38万股、5000股,合计增持金额为60.47万元。
公司总裁傅帆早在1月11日其首次买入中国太保H股后,频频出手增持,截至7月底已累计买入8次。其在1月就买入4次,累计金额为213.9万元,是高管增持的“主力军”。
除此之外,中国太保副总裁马欣、俞斌也加入增持阵营。
增持仅是上市险企提振股价的一种方式,回购也是其中之一。包括中国平安、友邦保险在内的多家上市险企进行密集股份回购。
其中友邦保险堪称“回购王”,早在今年3月11日,公司便抛出未来三年100亿美元回购计划,随后友邦保险于3月21日频频自掏腰包购买自家股票,截至10月31日公司已累计回购超120次,耗资超200亿元。自11月以来,公司的回购仍在继续。据公司公告称,截至11月23日,已回购15次。
友邦保险并非个例,据中国平安公告称,公司已完成去年8月发布的回购计划,累计回购A股股份超1亿股,耗资约50亿元。

保险股处于估值洼地
上市险企股东、高管频频增持以及回购的背后或是保险板块正处低估状态。
据choice数据显示,自2020年以来,保险板块指数跌跌不休。2020年全年累计跌幅超4%,2021年跌幅更甚超36%。今年以来,指数仍未改变颓势,截至11月24日,年内累计跌幅超5%。
从个股来看,五大上市险企表现不及预期。
今年以来跌幅最大的便是新华保险,截至11月24日收盘,A股累计跌幅超27%,最新市值缩水至838亿元。拉长时间线来看,公司曾在2021年全年录得超30%的股价跌幅。
H股也未能幸免,自2020年以来,便开启下行模式,2020年全年累计跌幅超5%,2021年跌幅再度扩大至26.33%,今年以来,公司股价更是创下历史最低点12.04港元/股,在11月的时间内累计跌幅超12%。
中国太保也无例外,公司A股今年以来累计跌幅近12%,2021年全年累计跌幅已超26%。
市盈率更能直观体现。据choice数据显示,保险行业市盈率TTM均值为12.84,除中国人寿市盈率TTM超过行业均值外,包括新华保险、中国人保、中国太保在内的其余四家上市险企均未超过。
而业绩失速或是股价低迷的诱因之一。据A股五大上市险企季报显示,前三季度归属于母公司股东的净利润合计为1565.37亿元,同比下滑15.63%。
除中国人保前三季度归母净利润实现同比增长外,中国平安、中国人寿、中国太保、新华保险归母净利润均实现同比下滑。
其中新华保险首当其冲,今年前三季度实现归母净利润仅51.9亿元,同比下降56.60%。不仅是同比跌幅,从归母净利润绝对值来看,与其他险企相差甚远。
新华保险也在三季报种透露出业绩不尽如人意的原因,在去年同期净利润高基数的情况下,本期受资本市场低迷的影响,投资收益减少,导致本期净利润同比减少。
在寿险转型进入深水区叠加权益市场的下跌,险企业绩面临较大压力。
不仅是新华保险,其余4家险企在资本市场下跌的背景下,投资收益均受到一定程度的影响。据公司季报数据显示,五大上市险企前三季度合计投资收益为3328.78亿元,同比下降24.29%。其中,唯一实现归母净利润同比上升的中国人保投资收益降幅最小,为9.6%。
▲图片来源:上市险企公告
从保费收入也可看出端倪。据险企数据显示,五家险企旗下寿险公司前10月累计实现原保费收入1.39万亿元,同比仅增长0.31%。