来源 :有连云2024-11-21
今日(11.21),A股走势震荡,上涨指数涨0.01%,深证成指跌0.13%,创业板指跌0.17%。各行业板块中,计算机涨幅居前,盘中获主力净流入额近60亿元,高居申万一级行业之首!
计算机板块内,信创50ETF(560850)标的指数强势大涨2.34%,成分股三六零10CM涨停,星环科技20CM涨停,金山办公、开普云涨超9%,赢时胜、华大九天涨超5%,东方国信涨超4%,海光信息、景嘉微涨超3%,中科曙光、东华软件涨超2%,浪潮信息涨超1%,恒生电子微涨。
拉长时间看,截至11月20日,信创50ETF近2周累计上涨2.95%。
规模方面,信创50ETF近2周规模增长1.25亿元,实现显著增长,新增规模位居可比基金1/3。
份额方面,信创50ETF近2周份额增长9700.00万份,实现显著增长,新增份额位居可比基金1/3。
资金流入方面,信创50ETF最新资金净流出128.16万元。拉长时间看,近10个交易日内有6日资金净流入,合计“吸金”1.35亿元,日均净流入达1350.05万元。

中邮证券表示,信创进入新一轮加速期,华为数据库进入国测。2024年5月,多部门联合印发《信息化标准建设行动计划(2024—2027年)》,强调2027年的关键时间节点:到2027年信息化标准工作协调机制更加健全,信息化标准体系布局更加完善,标准研制、服务等基础能力进一步夯实。从信创“2+8”的发展阶段来看,2024年信创替换已进入关键时期,该机构认为相关政策有望陆续出台,保障替换完成的时间节奏。
11月2日,工信部提到,全面精准开展关键核心技术攻关,加快实现高水平科技自立自强。华为是国产化的重要力量,纯血鸿蒙系统全栈自研,国产化率100%,有望深度参与此轮信创,开启信创的鸿蒙时代。9月30日,中国信息安全测评中心公布了2024年的第二个安全可靠测评结果,在数据库部分,华为云计算技术有限公司的GaussDBV2.0(集中式版),以Ⅱ级的安全评级赢得了认可。
【一键布局信创产业链核心,认准信创50ETF(560850)!】
信创50ETF紧密跟踪中证信息技术应用创新产业指数,中证信息技术应用创新产业指数选取不超过50只业务涉及基础硬件、基础软件、应用软件、信息安全、外部设备等细分领域的上市公司证券作为指数样本,反映信创产业上市公司证券的整体表现。
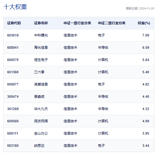
数据显示,截至2024年11月20日,中证信息技术应用创新产业指数前十大权重股分别为中科曙光、海光信息、恒生电子、三六零、浪潮信息、景嘉微、华大九天、用友网络、金山办公、纳思达,前十大权重股合计占比49.83%。

相关产品信创50ETF(560850),场外联接(A类:021602;C类:021603)!