chaguwang.cn-查股网.中国
查股网.CN
旗滨集团(601636)内幕信息消息披露
 
个股最新内幕信息查询:    
 

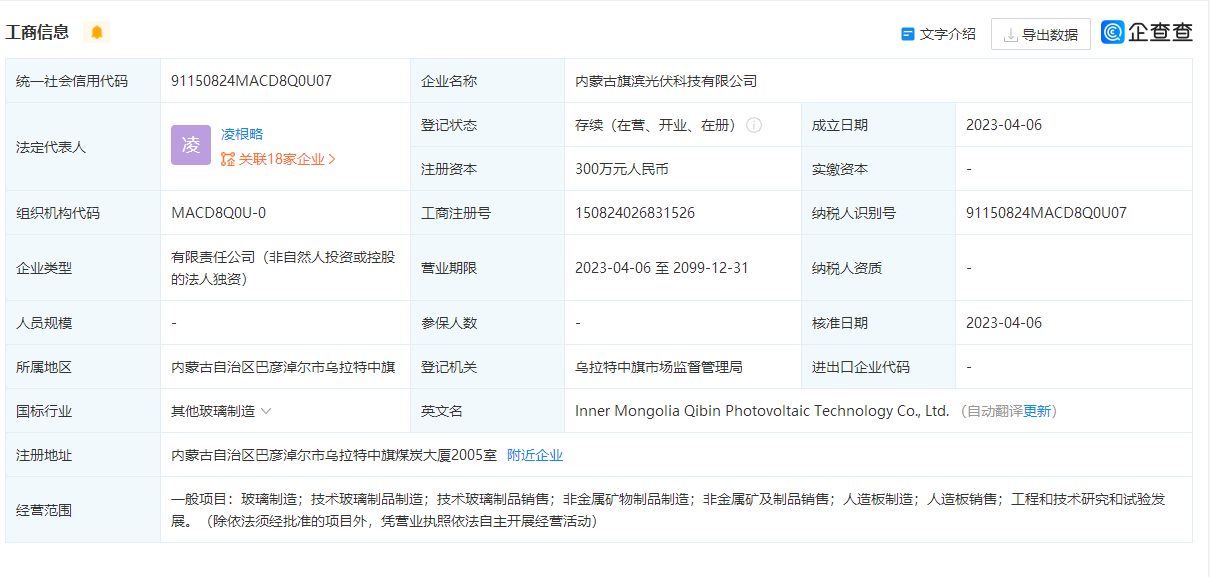
旗滨集团在内蒙古投资设立光伏科技新公司

http://www.chaguwang.cn  2023-04-17  旗滨集团内幕信息

来源 :北极星电力网2023-04-17

  近日,内蒙古旗滨光伏科技有限公司成立,法定代表人为凌根略,注册资本300万元人民币。

  经营范围包含:玻璃制造;技术玻璃制品制造;技术玻璃制品销售;非金属矿物制品制造等。

  股权穿透显示,该公司由旗滨集团间接全资控股。

  23232321323123233.png

有问题请联系 767871486@qq.com 商务合作广告联系 QQ:767871486
www.chaguwang.cn 查股网