chaguwang.cn-查股网.中国
查股网.CN
齐鲁银行(601665)内幕信息消息披露
 
个股最新内幕信息查询:    
 

齐鲁银行再领罚单!1月3分支行接连被罚,这次泰安分行被罚没64.56万元

http://www.chaguwang.cn  2026-02-26  齐鲁银行内幕信息

来源 :半岛金融2026-02-26

  1月份因违法违规3家分支行接连被处罚的齐鲁银行,近日又有一分支机构因为违法违规被监管处罚通报。

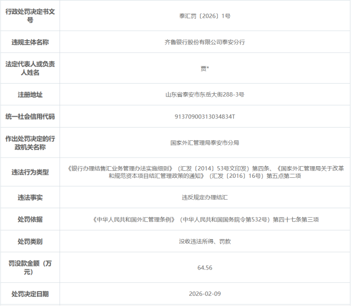
  2月9日,国家外汇局山东省分局官网公示的行政处罚决定书(泰汇罚〔2026〕1号)显示,齐鲁银行泰安分行因违反规定办理结汇被罚没64.56万元。

  记者注意到,这是该分行一年之内的第二次受罚。2025年5月9日,中国人民银行山东省分行官网公示的行政处罚决定书(泰银罚决字<2025> 3号)显示,齐鲁银行股份有限公司泰安分行违反账户管理规定,被罚款450000元。

  记者还注意到,在刚刚过去的1月份,按公示日期,齐鲁银行有三家分支行因为违法违规被监管处罚通报。具体如下:

  1月7日,国家金融监督管理总局山东监管局官网公示的行政处罚决定书(烟金罚决字〔2025〕48号)显示,齐鲁银行烟台招远支行因为虚增贷款业务规模被罚款25万元。同时,于士皓(时任齐鲁银行股份有限公司烟台招远支行行长)被警告。

  同一天,国家金融监督管理总局山东监管局官网公示的行政处罚决定书(威金罚决字〔2025〕23号)显示,齐鲁银行威海分行因流动资金贷款贷后管理不到位被罚35万元,同时时任齐鲁银行威海分行风险总监李虎被警告。

  一天之前,1月6日,国家金融监督管理总局山东监管局官网公示的行政处罚信息(潍金罚决字〔2025〕39号)显示,齐鲁银行股份有限公司潍坊分行和两名相关责任人因为两项违法违规被“双罚”。其中,齐鲁银行潍坊分行因违规发放无实际用途贷款、虚增存贷款规模被罚款30万元。同时,嵇薪颖(时任齐鲁银行股份有限公司潍坊分行零售银行部副总经理兼营业部副总经理)和史卓为(时任齐鲁银行股份有限公司潍坊分行零售银行部总经理助理兼个人金融中心主任)分别被警告。

  记者注意到,齐鲁银行上述三分支行收到的罚单,虽然公示日期均在1月份,但其处罚决字均为“2025”。故如按做出处罚的日期算,不完全统计,齐鲁银行2025年全年被处罚的分支机构为6家。除了上述1月份被处罚的3家分支行外,其余如下:

  2025年7月1日,国家金融监督管理总局山东监管局官网公示的行政处罚决定书(东金罚决字<2025> 10号)显示,齐鲁银行东营分行因贷前调查不尽职,违规办理二手房贷款被罚款30万元。同时,孙鹏飞(时任齐鲁银行东营分行客户经理)被警告。

  2025年5月14日,国家外汇局山东省分局公示的行政处罚决定书(日汇罚< 2025 > 1号)显示,齐鲁银行日照分行因违规办理结汇业务,被国家外汇管理局日照市分局罚没44.88万元。

  2025年5月9日,中国人民银行山东省分行官网公示的行政处罚决定书(泰银罚决字<2025> 3号)显示,齐鲁银行股份有限公司泰安分行违反账户管理规定,被罚款450000元。

  记者还注意到,2024年,齐鲁银行因为高达15项的违法违规曾收到千万级罚单。

  2024年1月2日,国家金融监督管理总局山东监管局公示的行政处罚决定书显示,因存在对关联交易贷款管理不到位、流动资金贷款管理不到位、同业投资业务管理不到位、个人贷款管理不到位、信贷资金购买本行不良资产等15项违法违规行为,齐鲁银行被合计罚款1495.13万元,其中总行被罚1375.13万元,分支机构被罚120万元。时任齐鲁银行行长助理、副行长陶文喆被给予警告处分并罚款5万元。这笔罚款不仅是齐鲁银行2021年上市后截至目前的最大单笔罚款,也是2024年城商行领域的最大单笔罚单。

  此外,2024年,齐鲁银行另有两家分支行因违法违规被处罚。

  2024年12月4日,齐鲁银行临沂沂南支行因“贷款‘三查’不到位,严重违反审慎经营规则”被临沂金融监管分局处以罚款35万元。

  2024年12月30日,国家金融监督管理总局聊城监管分局行政处罚信息公开表显示,齐鲁银行聊城分行因贷款管理不到位被罚款35万元。韩登森(时任齐鲁银行股份有限公司聊城高唐支行行长)对上述违法违规行为负有责任,受到警告。

  此前,2月4日,齐鲁银行发布第九届董事会第二十次会议决议公告,会议审议通过了关于聘任首席合规官的议案,同意聘任张华行长兼任首席合规官,任期至本届董事会届满为止。

  公开资料显示,张华,1966年6月出生,中国国籍,本科学历,硕士学位,高级经济师。现任齐鲁银行副董事长、执行董事、行长、党委副书记。2023年2月17日,原董事长黄家栋离职,张华开始代为履行齐鲁银行董事长及法定代表人职责;2023年8月11日,经第九届董事会第一次会议决议,张华正式当选副董事长并被聘任为行长。

  行长兼任首席合规官,齐鲁银行想减少违规事件突发的决心已有,不知成效能否与其决心契合?

查股网为非盈利性网站 本页为转载如有版权问题请联系 767871486@qq.comQQ:767871486
Copyright 2007-2025
www.chaguwang.cn 查股网