chaguwang.cn-查股网.中国
查股网.CN
中国电建(601669)内幕信息消息披露
 
个股最新内幕信息查询:    
 

中国电建:2023年净利润同比增长13.59% 拟10派1.3649元

http://www.chaguwang.cn  2024-04-26  中国电建内幕信息

来源 :搜狐2024-04-26

  中国电建(601669)4月26日披露2023年年报。2023年,公司实现营业总收入6094.08亿元,同比增长6.43%;归母净利润129.88亿元,同比增长13.59%;扣非净利润117.13亿元,同比增长13.17%;经营活动产生的现金流量净额为222.65亿元,同比下降27.79%;报告期内,中国电建基本每股收益为0.6825元,加权平均净资产收益率为9.54%。公司2023年年度利润分配预案为:拟向全体股东每10股派1.3649元(含税)。

  以4月25日收盘价计算,中国电建目前市盈率(TTM)约为6.79倍,市净率(LF)约为0.55倍,市销率(TTM)约为0.15倍。

  公司近年市盈率(TTM)、市净率(LF)、市销率(TTM)历史分位图如下所示:

  数据统计显示,中国电建近三年营业总收入复合增长率为14.88%,在基建市政工程行业已披露2023年数据的17家公司中排名第6。近三年净利润复合年增长率为11.57%,排名8/17。

  分产品来看,2023年公司主营业务中,工程承包与勘测设计收入5505.60亿元,同比增长9.16%,占营业收入的90.34%;电力投资与运营收入239.78亿元,同比增长0.69%,占营业收入的3.93%。

  截至2023年末,公司员工总数为165295人,人均创收368.68万元,人均创利7.86万元,人均薪酬30.41万元,较上年同期分别增长5.70%、12.81%、5.86%。

  2023年,公司毛利率为13.23%,同比上升1.02个百分点;净利率为2.82%,较上年同期上升0.08个百分点。从单季度指标来看,2023年第四季度公司毛利率为15.32%,同比上升1.87个百分点,环比上升2.44个百分点;净利率为2.60%,较上年同期上升0.56个百分点,较上一季度上升0.03个百分点。

  分产品看,工程承包与勘测设计、电力投资与运营2023年毛利率分别为10.84%、44.40%。

  报告期内,公司前五大客户合计销售金额785.09亿元,占总销售金额比例为12.88%,公司前五名供应商合计采购金额358.24亿元,占年度采购总额比例为12.23%。

  数据显示,2023年公司加权平均净资产收益率为9.54%,较上年同期下降0.41个百分点;公司2023年投入资本回报率为3.91%,较上年同期增长0.18个百分点。

  2023年,公司经营活动现金流净额为222.65亿元,同比下降27.79%;筹资活动现金流净额541.35亿元,同比增加228.59亿元;投资活动现金流净额-809.26亿元,上年同期为-456.66亿元。

  进一步统计发现,2023年公司自由现金流为-293.53亿元,上年同期为848.25亿元。

  2023年,公司营业收入现金比为109.44%,净现比为171.42%。

  2023年,公司期间费用为533.67亿元,较上年同期增加73.19亿元;期间费用率为8.77%,较上年同期上升0.71个百分点。其中,销售费用同比增长5.03%,管理费用同比增长9.98%,研发费用同比增长11.67%,财务费用同比增长43.7%。

  资产重大变化方面,截至2023年年末,公司无形资产较上年末减少0.05%,占公司总资产比重下降2.55个百分点;在建工程较上年末增加128.63%,占公司总资产比重上升2.49个百分点;合同资产较上年末增加26.64%,占公司总资产比重上升1.34个百分点;货币资金较上年末减少3.43%,占公司总资产比重下降1.26个百分点。

  负债重大变化方面,截至2023年年末,公司应付账款较上年末增加16.25%,占公司总资产比重上升0.91个百分点;长期借款较上年末增加10.27%,占公司总资产比重下降0.16个百分点;一年内到期的非流动负债较上年末增加71.92%,占公司总资产比重上升1.20个百分点;短期借款较上年末增加37.35%,占公司总资产比重上升0.55个百分点。

  从存货变动来看,截至2023年年末,公司存货账面价值为169.46亿元,占净资产的10.55%,较上年末减少904.76万元。其中,存货跌价准备为3683.58万元,计提比例为0.22%。

  2023年全年,公司研发投入金额为232.30亿元,同比增长11.62%;研发投入占营业收入比例为3.82%,相比上年同期上升0.18个百分点。此外,公司全年研发投入资本化率为0。

  在偿债能力方面,公司2023年年末资产负债率为77.50%,相比上年末上升0.61个百分点;有息资产负债率为34.19%,相比上年末上升0.95个百分点。

  2023年,公司流动比率为0.84,速动比率为0.81。

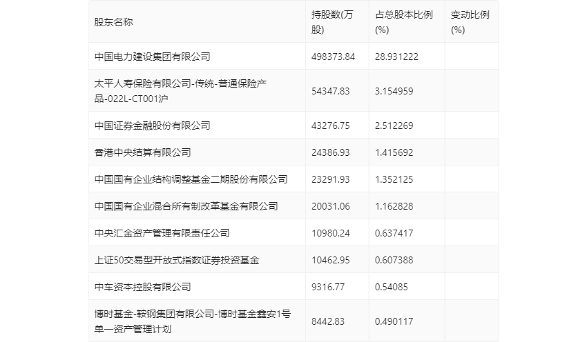
  年报显示,2023年年末公司十大流通股东中,新进股东为上证50交易型开放式指数证券投资基金,取代了三季度末的中信建投证券-中国华融资产管理股份有限公司-中信建投-先锋单一资产管理计划。在具体持股比例上,中国电力建设集团有限公司持股有所上升,香港中央结算有限公司持股有所下降。

  筹码集中度方面,截至2023年年末,公司股东总户数为38.33万户,较三季度末下降了1.84万户,降幅4.58%;户均持股市值由三季度末的22.94万元下降至21.98万元,降幅为4.18%。

有问题请联系 767871486@qq.com 商务合作广告联系 QQ:767871486
www.chaguwang.cn 查股网