由于这两年行业持续不景气,光伏从昔日的“香饽饽”变成“烫手山芋”,众多央国企加速出清手里的光伏资产。但像中国电建子公司这样“1元贱卖”光伏资产的情况,还是颇为罕见。
前些天,北京产权交易所披露了一则股权转让公告,中国电建集团江西省电力建设有限公司以“0.0001万元”的底价,转让其持有的德州聚盛新能源科技有限公司9%的股权。
让人费解的是,标的公司聚盛新能源:一没有陷入亏损,二没有资不抵债。
业绩方面,该公司去年营收有1908万元,营业利润1094万元,净利润1123万元。
资产方面,该公司资产总计1.98亿元,刨除1.68亿元负债,还有3000万元净资产。
中国电建子公司为何要近乎“免费”抛售这样一块看起来还不错的光伏资产呢?
央企“牵手”地方国企
聚盛新能源的成立时间是2021年,彼时正值石油天然气等传统能源价格飞涨,全球范围内出现“能源荒”,光伏、风电等新能源产业迎来爆发式增长。
与此同时,在“双碳”目标催动下,国内能源领域央国企带头向新能源方向布局。
聚盛新能源有两大股东:一个是本次转让方中国电建集团江西省电力建设有限公司(简称“中电建江西”),持股9%;另一个是京能(德城区)新能源科技有限公司(简称“京能德城”),持股91%。

中电建江西成立于1958年,注册资本10亿元,是央企中国电建的全资子公司,以前主业做火力发电供电,17年改名前叫江西省火电建设公司。
受股东中国电建新能源战略布局影响,中电建江西近些年也投了不少新能源公司,例如智信能源科技有限公司、天津尚风新能源科技有限公司等,也包括本次转让标的德州聚盛新能源。
从中国电建2024年报中披露的信息可知,中电建江西的总资产为236.07亿元,净资产13.82亿元,去年净利润1.81亿元。

京能德城成立时间也在2021年,是北京能源国际投资有限公司的全资子公司。而后者是上市公司北京能源国际的全资子公司,主要负责投资业务。
而北京能源国际,正是北京能源集团旗下的六大上市公司之一。截至2024年底,北京能源集团资产规模4934 亿元,年营收超过975亿元,拥有京能清洁能源、京能电力、昊华能源、北京能源国际、京能置业、京能热力六家上市公司。

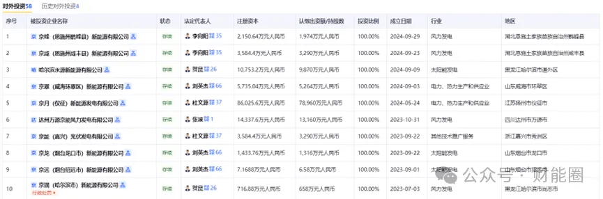
北京能源国际近年来也投了不少新能源项目,包括哈尔滨永源新能源有限公司、达州万源京能风力发电有限公司、京能胜科(海南)国际能源有限公司等。很多项目要么已经注销,要么已经烂尾。

聚盛新能源是中国电建与北京能源集团子公司联手之作,前者持股9%,后者持股91%。
从持股比例看,北京能源集团是该项目的主要发起者,聚盛新能源当前的法人代表薛满宇,也是北京能源国际华南分公司担任总经理一职。
是股东,也是供应商
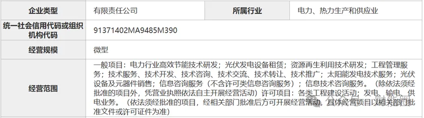
从公告披露的信息可知,聚盛新能源的业务范围涵盖电力行业高效节能技术研发、光伏发电设备租赁、资源再生利用技术研发、工程管理服务等。

从网上查询到的两起招标公告来看,聚盛新能源在做光伏电站业务。
2022年7月,聚盛新能源公告100MW农光互补光伏电站项目监理服务项目招标结果公示,中标单位是吉林省宏远东方电力工程管理有限公司,中标价格92.4万元。

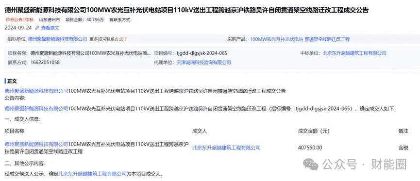
2024年9月,聚盛新能源100MW农光互补光伏电站项目110kV送出工程跨越京沪铁路吴许自闭贯通架空线路迁改工程对外招标,成交金额是40.76万元,中标方是北京东升超越建筑工程有限公司。

上述两个项目都是只是“边角料”,核心工程还是股东中电建江西在负责。
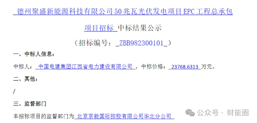
2023年7月,聚盛新能源50兆瓦光伏发电项目EPC工程总承包项目招标中标结果对外公示,项目中标人为中电建江西,中标价格2.38亿元。该项目的招标人则是北京京能国际控股有限公司华北分公司。

按照会计处理基本原则,该EPC工程总承包项目期间的费用会计入资产类科目(在建工程或固定资产)。由此可推测出聚盛新能源当前的1.98亿元资产的构成情况,变现难度还是比较大的。
而聚盛新能源当前的1.68亿元负债构成也不难分析,大概率是拖欠中电建江西等供应商的工程款,还有拖欠银行的借款。考虑到中电建江西的股东身份,拖欠的工程款不是小数目。
从转让公告中可知,聚盛新能源正进行增资工商变更,之前注册资本是200万,现在变更为2088.8万元,中电建江西认缴出资187.99万元,实缴0元。
原本聚盛新能源就很可能欠着工程款,现在还要掏钱给对方增资,中电建江西肯定不乐意。
公告中特意附加了转让条件,受让方需要承担缴足上述未缴出资的义务,若未依法履行出资义务,导致转让方被标的公司或债权人要求承担补充赔偿责任的,转让方有权向受让方追偿。

由此大致梳理出整个故事的脉络:
2021年正值新能源投资风口,北京能源国际找到中电建江西一起成立光伏合资公司聚盛新能源,并约定由中电建江西承包核心工程,但没想到项目还没正式投入运营,光伏行业就进入低谷期。中电建江西不仅钱没赚到,还倒贴了一大笔钱进去。
聚盛新能源的1.98亿元资产还仅仅是基于评估报告,在当前行业周期下真实价值还要打个问号?
而那1.68亿元负债是实打实的,其中还很可能包含拖欠中电建江西的工程款。对于中电建江西而言,能找一个“接盘侠”已经是最好的结局了。
这也折射了一个行业共性问题,前几年新能源风口期,包括中电建等众多央国企以及旗下子公司,不考虑市场实际情况,密集上马大项目,现在行业产能严重过剩,这些项目如何处理是一个难题。
今年年初,中国铁建董事长戴和根在接受《国资报告》采访时,有一句话被很多人引用:“类似集中式光伏、风力发电这些已经开始过剩的项目,中国铁建绝不能再投,否则就是‘转型’不‘升级’。”