来源 :泛在电力物联网建设2024-01-12
国家市场监督管理总局反垄断执法二司日前发布了“ 2023年12月4日-12月10日无条件批准经营者集中案件列表”,其中涉及到了“中国电气装备集团有限公司收购上海电气输配电集团有限公司股权案”,相关企业包括了中国电气装备集团有限公司,上海电气集团股份有限公司,上海电气输配电集团有限公司。该股权案已于2023年12月6日审结完成。

中国电气装备集团有限公司(中国电气装备集团)与国网上海市电力有限公司签署无偿划转协议,拟受让国网上海市电力有限公司持有的上海电气输配电集团有限公司(上海输配电)50%股权。上海输配电主要从事输配电产品和控制设备的研发、设计、制造、销售、电力工程总承包业务,以及输配电领域的技术服务和咨询等。
本次交易前,国网上海市电力有限公司、上海电气集团股份有限公司(上海电气)分别持有上海输配电50%股权,共同控制上海输配电。本次交易后,中国电气装备集团将持有上海输配电50%股权,中国电气装备集团、上海电气共同控制上海输配电。
此前,中国电气装备集团有限公司收购上海电气输配电集团有限公司股权案公示表显示如下:

上海输配电于2011年9月29日成立于上海市,主要从事输配电产品和控制设备的研发、设计、制造、销售、电力工程总承包业务,以及输配电领域的技术服务和咨询等。

当前显示,上海输配电最终控制人为上海电气控股集团有限公司及国家电网有限公司,其中上海电气控股集团有限公司主要从事能源装备、工业装备、集成服务三大板块业务;国家电网有限公司主要从事电网的投资、运营、建设业务。


上海电气于2004年3月1日成立于上海市,主要从事能源装备、工业装备以及集成服务三大板块业务。
上海电气最终控制人为上海电气控股集团有限公司,上海电气控股集团有限公司主要从事能源装备、工业装备以及集成服务三大板块业务。
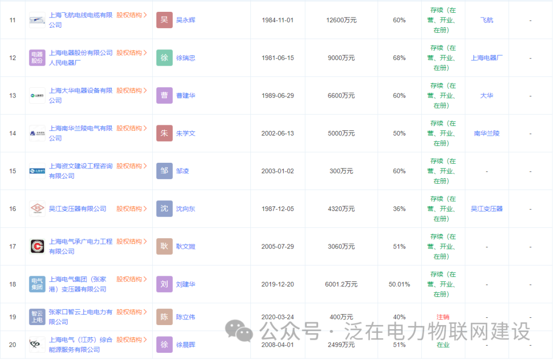
上海输配电旗下公司包括了:



上海电气18亿元成立输配电装备子公司
此前,2023年11月份,上海电气集团输配电装备有限公司成立,法定代表人为肖卫华,注册资本18亿元,经营范围包含:供应链管理服务;电气设备销售;储能技术服务;电力电子元器件销售等。股东信息显示,该公司由上海电气100%控股。

是业务整合?还是“DW聚焦主业”资产划转?