来源 :LEDinside2023-12-08
信息显示,12月份,星宇股份公开了“汽车前照灯微型近光LED模组”、“车灯矩阵式LED散热装置”两项LED车灯相关专利。
其中,“汽车前照灯微型近光LED模组”专利申请日为2022年5月30日,申请公布日为2023年12月8日,申请号为CN202210597178.3,申请公布号为CN117190112A。
专利摘要显示,本发明公开了一种汽车前照灯微型近光LED模组,具有光学系统、PCB板和散热装置,所述光学系统包括柱透镜、球面聚光透镜和LED光源,所述柱透镜、球面聚光透镜以及LED光源安装在所述PCB板的前端,所述散热装置安装在所述PCB板的后端,所述光学系统的整体呈非旋转对称状结构,所述光学系统的总长为22~30mm。该汽车前照灯微型近光LED模组,用以解决现有汽车前照灯近光模组系统总长过大的技术问题。

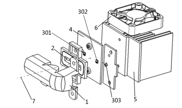
另一项“车灯矩阵式LED散热装置“发明专利,专利申请日为2022年10月7日,申请公布日为2023年12月5日,申请号为CN202311293829.0,申请公布号为CN117167685A。
专利摘要显示,本发明公开了一种车灯矩阵式LED散热装置,包括矩阵式LED光源、PCB板、热管组件、散热器和风扇,所述矩阵式LED光源封装在所述PCB板上,所述热管组件安装在所述散热器内,所述PCB板安装在所述散热器的前端,所述风扇安装在所述散热器的后方。该车灯矩阵式LED散热装置可实现体积小、重量轻和成本低;能快速导出矩阵式LED点亮后产生的热量,降低LED温度。
