chaguwang.cn-查股网.中国
查股网.CN
永辉超市(601933)内幕信息消息披露
 
个股最新内幕信息查询:    
 

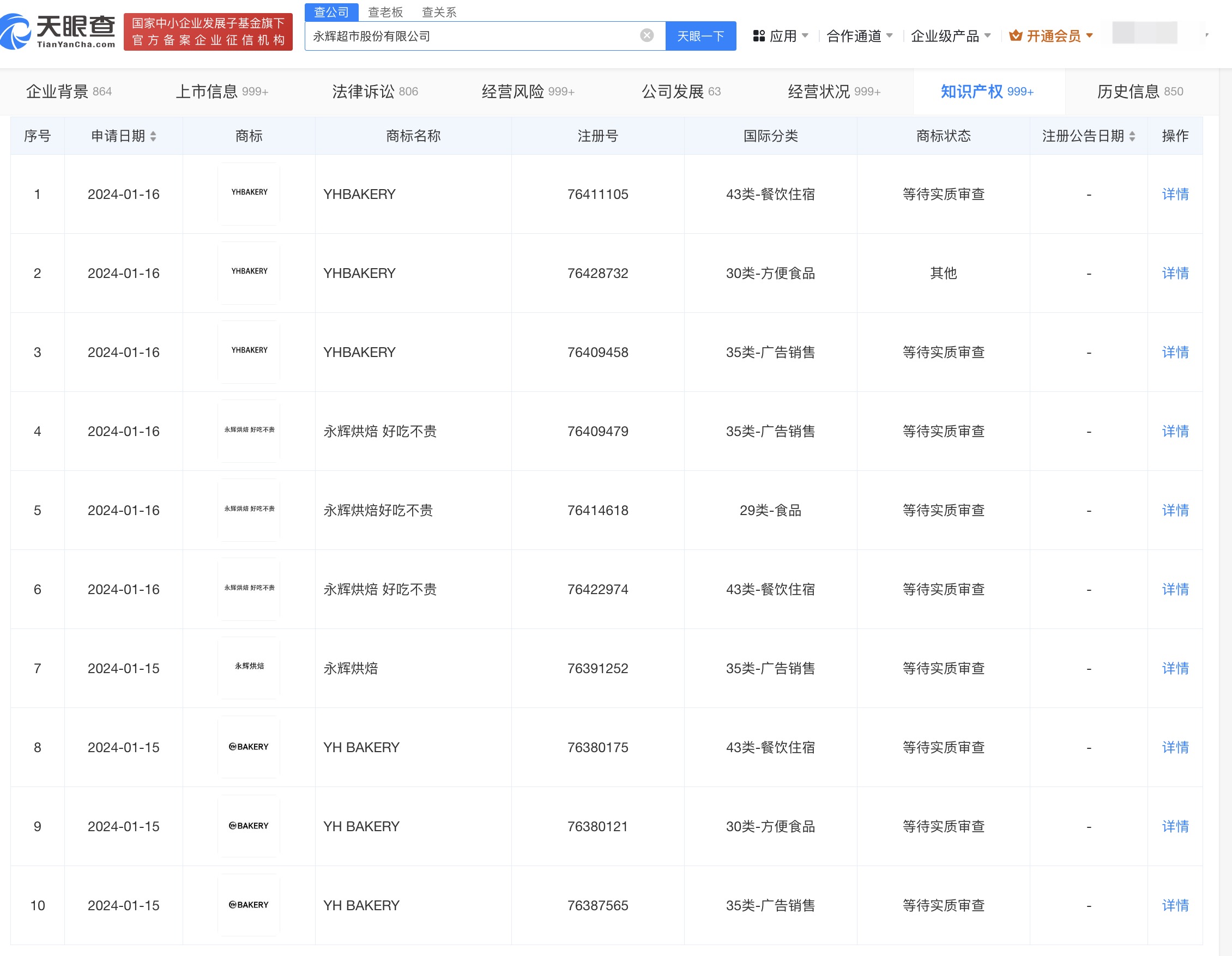
永辉超市申请烘焙商标

http://www.chaguwang.cn  2024-02-02  永辉超市内幕信息

来源 :DoNews2024-02-02

  近日,永辉超市(601933)申请注册多枚“永辉烘焙”“YH BAKERY”商标,国际分类包括餐饮住宿、方便食品、广告销售等,当前商标状态为等待实质审查。

  据媒体报道,近期,永辉超市先后在成都、重庆、合肥、杭州等城市开设新店,新店增设烘焙区、加工食品区等。

925ba58853521faf53fd079c0cd47af.jpg 8d965df898dd6126eb04341622a52a1.jpg 65d80188de4e38599d7ca8f2fcb2ea1.jpg

有问题请联系 767871486@qq.com 商务合作广告联系 QQ:767871486
www.chaguwang.cn 查股网