东方材料(603110)8月29日披露2024年半年度报告。2024年上半年,公司实现营业收入1.84亿元,同比增长2.36%;归母净利润568.15万元,同比下降30.17%;扣非净利润478.33万元,同比下降26.93%;经营活动产生的现金流量净额为966.95万元,同比下降13.67%;报告期内,东方材料基本每股收益为0.03元,加权平均净资产收益率为0.82%。

以8月28日收盘价计算,东方材料目前市盈率(TTM)约为35.89倍,市净率(LF)约为2.56倍,市销率(TTM)约为4.47倍。
公司近年市盈率(TTM)、市净率(LF)、市销率(TTM)历史分位图如下所示:


根据半年报,公司第二季度实现营业总收入9523.71万元,同比下降0.67%,环比增长7.65%;归母净利润307.69万元,同比下降15.97%,环比增长18.14%;扣非净利润231.9万元,同比下降22.91%,环比下降5.90%。
资料显示,公司从事的主要业务为软包装用油墨、复合用聚氨酯胶粘剂以及PCB电子油墨等产品生产销售。
2024年上半年,公司毛利率为28.25%,同比上升0.28个百分点;净利率为3.09%,较上年同期下降1.44个百分点。从单季度指标来看,2024年第二季度公司毛利率为28.81%,同比上升0.86个百分点,环比上升1.17个百分点;净利率为3.23%,较上年同期下降0.59个百分点,较上一季度上升0.29个百分点。
数据显示,2024年上半年公司加权平均净资产收益率为0.82%,较上年同期下降0.39个百分点;公司2024年上半年投入资本回报率为0.71%,较上年同期下降0.32个百分点。
2024年上半年,公司经营活动现金流净额为966.95万元,同比下降13.67%;筹资活动现金流净额99.51万元,同比增加3119.10万元;投资活动现金流净额-6562.85万元,上年同期为7114.21万元。
进一步统计发现,2024年上半年公司自由现金流为-5944.90万元,上年同期为8527.13万元。
2024年上半年,公司营业收入现金比为118.24%,净现比为170.19%。
营运能力方面,2024年上半年,公司总资产周转率为0.22次,上年同期为0.22次(2023年上半年行业平均值为0.25次,公司位居同行业10/15);固定资产周转率为1.33次,上年同期为1.50次(2023年上半年行业平均值为1.56次,公司位居同行业8/15);公司应收账款周转率、存货周转率分别为1.42次、2.01次。
2024年上半年,公司期间费用为4491.12万元,较上年同期增加488.31万元;期间费用率为24.45%,较上年同期上升2.15个百分点。其中,销售费用同比增长30.46%,管理费用同比下降0.75%,研发费用同比增长20.82%,财务费用由去年同期的-150.89万元变为-107.93万元。
资料显示,销售费用的变动主要因为本报告期内发生的职工薪酬费用增加;财务费用的变动主要因为本期利息收入减少;研发费用的变动主要因为本报告期内发生的职工薪酬及折旧费用增加。
资产重大变化方面,截至2024年上半年末,公司固定资产较上年末增加48.43%,占公司总资产比重上升6.75个百分点;货币资金较上年末减少22.11%,占公司总资产比重下降5.72个百分点;预付款项较上年末减少48.17%,占公司总资产比重下降1.05个百分点;其他流动资产较上年末增加93.99%,占公司总资产比重上升1.03个百分点。
负债重大变化方面,截至2024年上半年末,公司合同负债较上年末减少84.75%,占公司总资产比重下降1.62个百分点;应付票据较上年末减少11.66%,占公司总资产比重下降0.76个百分点;应交税费较上年末减少57.09%,占公司总资产比重下降0.70个百分点;应付账款较上年末增加21.70%,占公司总资产比重上升0.74个百分点。
从存货变动来看,截至2024年上半年末,公司存货账面价值为6552.15万元,占净资产的9.43%,较上年末减少41.49万元。其中,存货跌价准备为155.72万元,计提比例为2.32%。
在偿债能力方面,公司2024年上半年末资产负债率为16.99%,相比上年末下降2.69个百分点;有息资产负债率为0.12%,相比上年末上升0.12个百分点。
2024年上半年,公司流动比率为3.93,速动比率为3.47。
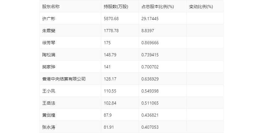
半年报显示,2024年上半年末公司十大流通股东中,新进股东为张永涛,取代了一季度末的成都交子东方投资发展合伙企业(有限合伙)。在具体持股比例上,许广彬、徐芳琴、香港中央结算有限公司持股有所下降。
值得注意的是,根据半年报数据,东方材料18.14%股份处于质押状态。其中,第一大股东许广彬质押3651.25万股公司股份,占其全部持股的62.19%。
筹码集中度方面,截至2024年上半年末,公司股东总户数为2.39万户,较一季度末增长了5877户,增幅32.54%;户均持股市值由一季度末的19.81万元下降至9.36万元,降幅为52.75%。
指标注解:
市盈率
=总市值/净利润。当公司亏损时市盈率为负,此时用市盈率估值没有实际意义,往往用市净率或市销率做参考。
市净率
=总市值/净资产。市净率估值法多用于盈利波动较大而净资产相对稳定的公司。
市销率
=总市值/营业收入。市销率估值法通常用于亏损或微利的成长型公司。
文中市盈率和市销率采用TTM方式,即以截至最近一期财报(含预报)12个月的数据计算。市净率采用LF方式,即以最近一期财报数据计算。
市盈率为负时,不显示当期分位数,会导致折线图中断。