
中证智能财讯 济民医疗(603222)7月25日披露2023年半年度报告。2023年上半年,公司实现营业总收入4.44亿元,同比增长1.64%;归母净利润3923.28万元,同比下降39.50%;扣非净利润3691.57万元,同比下降29.20%;经营活动产生的现金流量净额为6341.60万元,同比下降42.80%;报告期内,济民医疗基本每股收益为0.07元,加权平均净资产收益率为2.27%。

以7月24日收盘价计算,济民医疗目前市盈率(TTM)约为623.68倍,市净率(LF)约3.17倍,市销率(TTM)约6.54倍。

公司近年市盈率(TTM)、市净率(LF)、市销率(TTM)历史分位图如下所示:



根据公告,公司主营业务包括医疗服务、医疗器械以及大输液三大业务板块。
分产品来看,2023年上半年公司主营业务中,医药制造收入2.56亿元,同比下降16.99%,占营业收入的57.66%;医疗服务收入1.77亿元,同比增长52.07%,占营业收入的39.84%;医药贸易收入0.08亿元,同比下降23.98%,占营业收入的1.81%。

根据半年报,公司第二季度实现营业总收入2.22亿元,同比增长46.19%,环比下降0.38%;归母净利润550.42万元,同比增长194.42%,环比下降83.68%;扣非净利润423.14万元,同比增长145.10%,环比下降87.05%。

2023年上半年,公司毛利率为44.92%,同比下降3.83个百分点;净利率为11.94%,较上年同期下降2.22个百分点。从单季度指标来看,2023年第二季度公司毛利率为42.81%,同比上升3.15个百分点,环比下降4.22个百分点;净利率为4.30%,较上年同期上升12.98个百分点,较上一季度下降15.26个百分点。

分产品看,医药制造、医疗服务、医药贸易2023年毛利率分别为42.52%、49.32%、17.00%。
数据显示,2023年上半年公司加权平均净资产收益率为2.27%,较上年同期下降2.84个百分点;公司2023年上半年投入资本回报率为2.62%,较上年同期下降1.01个百分点。

2023上半年,公司经营活动现金流净额为6341.60万元,同比下降42.80%;筹资活动现金流净额-1.61亿元,同比减少1.17亿元;投资活动现金流净额-3.05亿元,上年同期为-9290.86万元。
进一步统计发现,2023年上半年公司自由现金流为-2.54亿元,上年同期为0.61亿元。

2023年上半年,公司营业收入现金比为108.21%,净现比为161.64%。

营运能力方面,2023年上半年,公司总资产周转率为0.17次,上年同期为0.18次(2022年上半年行业平均值为0.22次,公司位居同行业28/45);固定资产周转率为0.46次,上年同期为0.61次(2022年上半年行业平均值为1.64次,公司位居同行业42/45);公司应收账款周转率、存货周转率分别为2.87次、2.07次。

2023年上半年,公司期间费用为1.43亿元,较上年同期减少799.43万元;期间费用率为32.20%,较上年同期下降2.36个百分点。其中,销售费用同比下降7.12%,管理费用同比增长8.22%,研发费用同比下降17.72%,财务费用同比下降23.7%。

资产重大变化方面,截至2023年二季度末,公司固定资产较上年末增加69.43%,占公司总资产比重上升20.77个百分点;在建工程较上年末减少82.70%,占公司总资产比重下降18.18个百分点;货币资金余额较上年末减少62.18%,占公司总资产比重下降14.39个百分点;应收账款较上年末增加14.94%,占公司总资产比重上升1.11个百分点。

负债重大变化方面,截至2023年上半年,公司短期借款较上年末减少36.3%,占公司总资产比重下降2.71个百分点;长期借款较上年末减少12.98%,占公司总资产比重下降0.99个百分点;应交税费较上年末减少66.68%,占公司总资产比重下降0.69个百分点;一年内到期的非流动负债较上年末减少32.24%,占公司总资产比重下降0.47个百分点。

从应收账款账龄结构来看,截至2023年6月30日,公司账龄在1年以内的应收账款余额为1.43亿元,较上年末增长1329.50万元,占应收账款总额比例为73.88%,较上年末下降3.56个百分点。

从存货变动来看,截至2023年上半年末,公司存货账面价值为1.18亿元,占净资产的6.8%,较上年末增加23.03万元。其中,存货跌价准备为141.04万元,计提比例为1.18%。

偿债能力方面,公司2023年二季度末资产负债率为29.33%,相比上年末减少5.29个百分点;有息资产负债率为17.46%,相比上年末减少4.16个百分点。

2023年上半年,公司流动比率为2.02,速动比率为1.75。

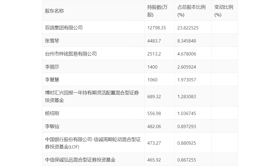
半年报显示,2023年上半年末的公司十大流通股东中,新进股东为李敏仙、中国银行股份有限公司-信诚周期轮动混合型证券投资基金(LOF)、中信保诚弘远混合型证券投资基金,取代了一季度末的广发证券股份有限公司、广发医疗保健股票型证券投资基金、建信基金-建设银行-中国人寿-中国人寿委托建信基金公司股票型组合。在具体持股比例上,台州市梓铭贸易有限公司、李慧慧持股有所下降。

值得注意的是,根据半年报数据,济民医疗21.13%股份处于质押状态。其中,第一大股东双鸽集团有限公司质押4914万股公司股份,占其全部持股的38.40%。
筹码集中度方面,截至2023年二季度末,公司股东总户数为2.48万户,较一季度末下降了1.48万户,降幅37.37%;户均持股市值由一季度末的17.88万元上升至22.55万元,增幅为26.12%。

指标注解:
市盈率=
总市值/净利润。当公司亏损时市盈率为负,此时用市盈率估值没有实际意义,往往用市净率或市销率做参考。
市净率=
总市值/净资产。市净率估值法多用于盈利波动较大而净资产相对稳定的公司。
市销率=
总市值/营业收入。市销率估值法通常用于亏损或微利的成长型公司。
文中市盈率和市销率采用TTM方式,即以截至最近一期财报(含预报)12个月的数据计算。市净率采用LF方式,即以最近一期财报数据计算。三者的分位数计算区间均为公司上市以来至最新公告日。
市盈率、市净率为负时,不显示当期分位数,会导致折线图中断。